lemon-mirror:
Home >> Saturn >> 2005 >> Relay FWD >> Repair and Diagnosis >> External Pages >> Different car >> Section 193 (Object Detection System) >> Component Locator >> Object Detection Connectors >> Object Sensor - LR Middle

Object Sensor - LR Middle

WARNING: This page is about a different car, the 2007 Pontiac Montana SV6, 2007 Chevrolet Uplander, and 2007 Buick Terraza. However, it is still accessible from the selected car via links, so may be relevant.
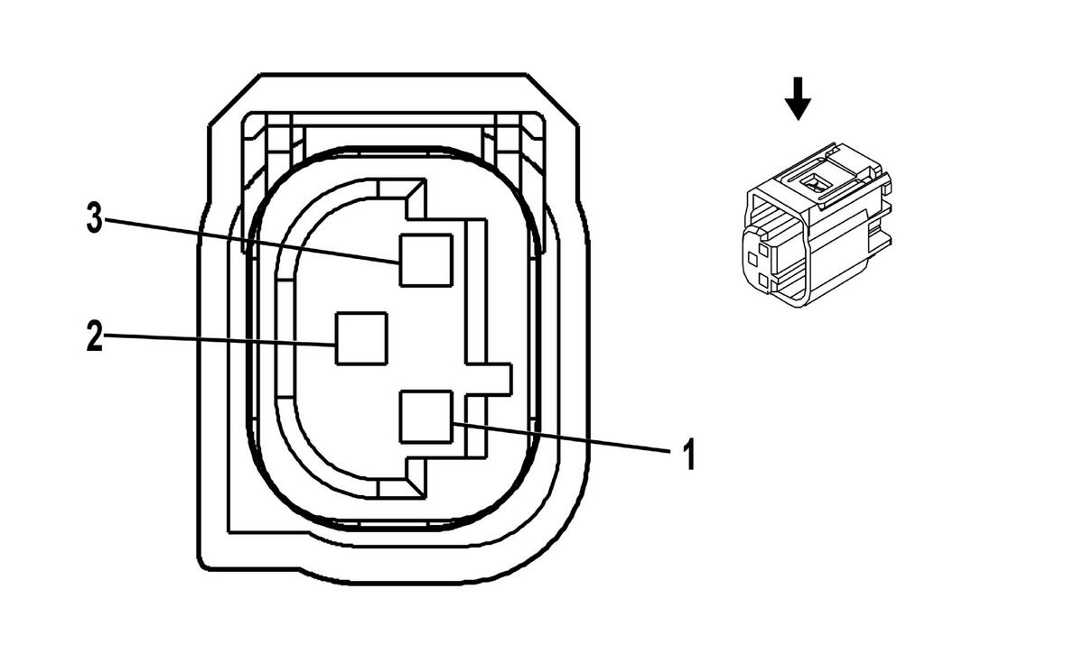
Fig 1: Object Sensor Connector End View (LR Middle)
GM655785Courtesy of GENERAL MOTORS CORP.
Connector Part Information

Connector Part Information 
  • OEM: 15324398
  • Service: 15306313
  • Description: 3-Way F MQS Sealed (BK)
Terminal Part Information 
  • Terminal: 962885-5/Tray 15
  • Core/Insulation Crimp: 6/6
  • Release Tool/Test Probe: 12094429/J-35616-64A
Connector Terminal Identification

Pin Wire Color Circuit No. Function
1 OG 2376 LR Middle Object Sensor Signal
2 GY 2379 Object Sensor Low Reference
3 D-BU 2374 Object Sensor Supply Voltage