Computer/Integrating Systems Connectors
WARNING: This page is about a different car, the 2005 Chevrolet Malibu. However, it is still accessible from the selected car via links, so may be relevant.
Data Link Connector (DLC)
| Connector Part Information |
|
||
|---|---|---|---|
| Pin | Wire Color | Circuit No. | Function |
| 1 | D-GN | 5060 | Low Speed GMLAN Serial Data |
| 2 | PU | 1807 | Class 2 Serial Data |
| 3 | - | - | Not Used |
| 4 | BK | 650 | Ground |
| 5 | BK/WH | 651 | Ground |
| 6 | TN/BK | 2500 | High Speed GMLAN Serial Data Bus (+) |
| 7-13 | - | - | Not Used |
| 14 | TN | 2501 | High Speed GMLAN Serial Data Bus (-) |
| 15 | - | - | Not Used |
| 16 | RD/WH | 440 | Battery Positive Voltage |
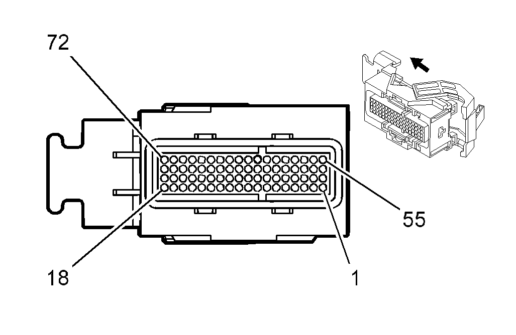
Body Control Module (BCM) - C1
| Connector Part Information |
|
||
|---|---|---|---|
| Pin | Wire Color | Circuit No. | Function |
| 1-2 | - | - | Not Used |
| 3 | D-GN/WH | 636 | Ambient Air Temperature Sensor Signal |
| 4 | TN | 305 | Trunk Key Switch Signal (Sedan) |
| WH/BK | 1221 | Lift Gate Release Switch Signal (Extended Sedan) | |
| 5 | - | - | Not Used |
| 6 | YE | 61 | Ground |
| 7-11 | - | - | Not Used |
| 12 | BK | 1050 | Ground |
| 13 | TN | 28 | Horn Relay Control |
| 14 | - | - | Not Used |
| 15 | L-BU | 2182 | Reverse Lamp Relay Control |
| 16 | L-BU | 1344 | Trunk Release Relay Control |
| 17 | - | - | Not Used |
| 18 | OG/BK | 744 | Rear Compartment Lid Ajar Switch Signal |
| 19 | YE | 317 | Fog Lamp Relay Control (T96) |
| 20-21 | - | - | Not Used |
| 22 | D-GN | 113 | Windshield Wiper Switch Signal 2 |
| 23 | - | - | Not Used |
| 24 | WH | 17 | Stop Lamp Supply Voltage |
| 25 | - | - | Not Used |
| 26 | YE | 196 | Windshield Wiper Motor Park Switch Signal |
| 27-28 | - | - | Not Used |
| 29 | TN/WH | 1969 | Headlamp High Beam Relay Control |
| 30-32 | - | - | Not Used |
| 33 | BN/WH | 1571 | Traction Control Switch Signal (NW7, NW9) |
| 34 | - | - | Not Used |
| 35 | L-GN | 262 | Driver Door Key Switch Signal |
| 36 | - | - | Not Used |
| 37 | D-GN | 5060 | Low Speed GMLAN Serial Data |
| 38 | D-BU | 5364 | Left DRL/Turn Supply Voltage |
| 39 | - | - | Not Used |
| 40 | D-GN/WH | 1135 | A/T Shift Lock Control Solenoid Supply Voltage |
| 41 | - | - | Not Used |
| 42 | WH | 17 | Stop Lamp Supply Voltage |
| 43-46 | - | - | Not Used |
| 47 | L-GN | 1748 | Coolant Level Switch Sighal |
| 48-50 | - | - | Not Used |
| 51 | GY/BK | 745 | Left Front Door Ajar Switch Signal |
| 52 | - | - | Not Used |
| 53 | L-GN/BK | 748 | Passenger Door Ajar Switch Signal |
| 54 | L-BU/BK | 747 | Passenger Door Ajar Switch Signal |
| 55 | D-GN | 5060 | Low Speed GMLAN Serial Data |
| 56 | D-GN | 5365 | Right DRL/Turn Supply Voltage |
| 57 | WH | 193 | Rear Defog Relay Control |
| 58 | YE | 5199 | Run/Crank Relay Coil Control |
| 59 | L-BU | 1134 | Park Brake Switch Signal |
| 60 | PK | 849 | Brake Fluid Level Sensor Signal |
| 61 | D-GN | 5525 | Tap Up/Tap Down Enable Signal |
| 62 | TN/WH | 99 | Hazard Indicator Supply Voltage |
| 63-64 | - | - | Not Used |
| 65 | WH | 1080 | Park Lamp Relay Control |
| 66 | WH | 682 | Door Lock Lock/Unlock Signal |
| 67 | WH | 682 | Door Lock Lock/Unlock Signal |
| 68 | - | - | Not Used |
| 69 | PK/BK | 109 | Hood Ajar Switch Signal (AP3) |
| 70 | PU | 5531 | Hood Ajar Switch Signal (AP3) |
| 71 | BN/WH | 2091 | Trunk Release Switch Supply Voltage |
| 72 | TN/WH | 746 | Passenger Door Ajar Switch Signal |
Body Control Module (BCM) - C2
| Connector Part Information |
|
||
|---|---|---|---|
| Pin | Wire Color | Circuit No. | Function |
| 1 | TN/BK | 2500 | High Speed GMLAN Serial Data Bus + |
| 2 | TN/BK | 2500 | High Speed GMLAN Serial Data Bus + |
| 3 | PK/WH | 1970 | Headlamp Low Beam Relay Control |
| 4 | PU | 524 | Headlamp Dimmer Switch High Beam Signal |
| 5 | BN/WH | 301 | Park Lamp Switch Signal |
| 6-8 | - | - | Not Used |
| 9 | WH | 111 | Hazard Switch Signal |
| 10 | - | - | Not Used |
| 11 | D-GN | 264 | Security Indicator Signal |
| 12 | L-GN | 377 | Serial Data |
| 13 | BK/WH | 651 | Ground |
| 14 | TN | 28 | Horn Relay Control |
| 15 | WH | 103 | Headlamp Switch Headlamps on Signal |
| 16 | OG | 192 | Front Fog Lamp Switch Signal (T96) |
| 17 | PU/WH | 549 | Headlamp Switch Headlamps Off Signal |
| 18 | WH | 5359 | 5-Volt Reference |
| 19 | TN | 2501 | High Speed GMLAN Serial Data Bus - |
| 20 | TN | 2501 | High Speed GMLAN Serial Data Bus - |
| 21-25 | - | - | Not Used |
| 26 | D-GN | 44 | Instrument Panel Lamps Dimmer Switch Signal |
| 27-28 | - | - | Not Used |
| 29 | L-GN | 5980 | Adjustable Pedal Inhibit Signal (JF4) |
| 30 | - | - | Not Used |
| 31 | YE | 5361 | Brake Pedal Position Sensor Signal |
| 32 | - | - | Not Used |
| 33 | YE | 317 | Fog Lamp Relay Control (T96) |
| 34-36 | - | - | Not Used |
| 37 | D-GN | 5060 | Low Speed GMLAN Serial Data |
| 38 | D-GN | 5060 | Low Speed GMLAN Serial Data |
| 39-43 | - | - | Not Used |
| 44 | L-GN/BK | 1137 | DRL Ambient Light Sensor Signal |
| 45-46 | - | - | Not Used |
| 47 | YE/BK | 1138 | DRL Ambient Light Sensor Low Reference |
| 48-50 | - | - | Not Used |
| 51 | BN | 1356 | Flash To Pass Switch Signal |
| 52-54 | - | - | Not Used |
| 55 | D-GN | 5060 | Low Speed GMLAN Serial Data |
| 56 | WH | 1390 | Off/Run/Crank Voltage Signal |
| 57 | GY | 112 | Windshield Wiper Switch Signal 1 |
| 58 | PU | 719 | Low Reference |
| 59 | BN | 5360 | Low Reference |
| 60 | - | - | Not Used |
| 61 | GY | 1884 | Cruise Control Switch Signal (K34) |
| 62 | WH/BK | 1073 | 5-Volt Reference |
| 63 | L-BU/BK | 590 | Sunload Sensor Signal (C68) |
| 64 | GY | 1548 | Sunload Sensor Signal (C68) |
| 65 | - | - | Not Used |
| 66 | YE/BK | 1418 | Left Turn Signal Switch Signal |
| 67 | D-GN/WH | 1419 | Right Turn Signal Switch Signal |
| 68 | L-BU | 292 | Rear Defog Switch Signal (C60) |
| 69 | D-GN/WH | 762 | A/C Request Signal (C60) |
| 70-71 | - | - | Not Used |
| 72 | TN | 683 | Rear Defog Relay Control (C60) |
Body Control Module (BCM) - C3
| Connector Part Information |
|
||
|---|---|---|---|
| Pin | Wire Color | Circuit No. | Function |
| A1 | TN | 294 | Door Lock Actuator Unlock Control |
| A2 | TN | 294 | Door Lock Actuator Unlock Control |
| TN | 294 | Door Lock Actuator Unlock Control | |
| A3 | OG | 1732 | Courtesy Lamps Supply Voltage |
| A4 | GY | 295 | Door Lock Actuator Lock Control |
| GY | 295 | Door Lock Actuator Lock Control | |
| A5 | GY/BK | 295 | Door Lock Actuator Lock Control |
| GY/BK | 295 | Door Lock Actuator Lock Control | |
| A6 | PK | 1139 | Ignition 1 Voltage |
| A7 | BN | 9 | Park Lamp Supply Voltage |
| A8 | PK | 339 | Ignition 1 Voltage |
| A9 | YE | 18 | Left Rear Stop/Turn Lamp Supply Voltage |
| A10 | GY | 157 | Courtesy Lamp Control |
| A11 | D-BU | 1307 | Power Window Master Switch Lockout Signal |
| A12 | D-GN | 19 | Right Rear Stop/Turn Lamp Supply Voltage |
| B1 | TN | 694 | Driver Door Lock Actuator Unlock Control |
| B2-B4 | - | - | Not Used |
| B5 | BN | 4 | Accessory Voltage |
| B6-B7 | - | - | Not Available |
| B8-B10 | - | - | Not Used |
| B11 | D-BU | 1307 | Power Window Master Switch Lockout Signal |
| B12 | GY | 8 | Instrument Panel Lamp Supply Voltage |
| C1- C2 | - | - | Not Available |
| C3 | YE | 243 | Accessory Voltage (KA1) |
| YE | 243 | Accessory Voltage (KA1) | |
| C4 | - | - | Not Used |
| C5 | YE | 343 | Accessory Voltage |
| C6- C7 | - | - | Not Available |
| C8 | - | - | Not Used |
| C9 | L-GN | 377 | Serial Data |
| C11 | D-BU | 1307 | Power Window Master Switch Lockout Signal |
| C12 | OG | 228 | Windshield Washer Pump Control |
| D1 | RD/BK | 342 | Battery Positive Voltage |
| D2 | - | - | Not Available |
| D3 | YE | 243 | Accessory Voltage |
| D4 | RD/WH | 640 | Battery Positive Voltage |
| D5 | YE | 343 | Accessory Voltage |
| D6 | D-GN | 591 | Ignition 1 Voltage |
| D7-D9 | - | - | Not Used |
| D10 | RD/BK | 442 | Battery Positive Voltage |
| D11 | RD/WH | 1340 | Battery Positive Voltage |
| D12 | RD/BK | 242 | Battery Positive Voltage |
Body Control Module (BCM) - C4
| Connector Part Information |
|
||
|---|---|---|---|
| Pin | Wire Color | Circuit No. | Function |
| A1-A12 | - | - | Not Used |
| B1 | OG | 228 | Windshield Washer Pump Control |
| B2 | GY | 8 | Instrument Panel Lamp Supply Voltage (K34/UK3) |
| B3 | BN | 41 | Ignition 3 Voltage (C60) |
| B4-B5 | - | - | Not Used |
| B6 | BN | 141 | Ignition 3 Voltage |
| B7-B12 | - | - | Not Used |
| C1 | RD/WH | 340 | Battery Positive Voltage |
| C2 | GY | 8 | Instrument Panel Lamp Supply Voltage |
| GY | 8 | Instrument Panel Lamp Supply Voltage | |
| C3 | L-GN | 377 | Serial Data |
| C4 | OG | 52 | High Blower Motor Control (C60) |
| C5 | BN | 9 | Park Lamp Supply Voltage (C60) |
| C6-C7 | - | - | Not Available |
| C8 | BN | 4 | Accessory Voltage Signal |
| BN | 4 | Accessory Voltage Signal | |
| C9-C12 | - | - | Not Used |
| D1 | RD/WH | 1040 | Battery Positive Voltage |
| D2 | - | - | Not Used |
| D3 | PK | 3 | Ignition 1 Voltage Signal |
| PK | 3 | Ignition 1 Voltage Signal | |
| D4 | PU | 65 | Blower Motor Supply Voltage (C60) |
| D5 | - | - | Not Used |
| D6-D7 | - | - | Not Available |
| D8 | YE | 143 | Accessory Voltage |
| D9 | - | - | Not Used |
| D10 | RD/WH | 740 | Battery Positive Voltage (JF4) |
| RD/WH | 740 | Battery Positive Voltage (JF4) | |
| D11-D12 | - | - | Not Used |
| E1 | RD/WH | 440 | Battery Positive Voltage |
| RD/WH | 440 | Battery Positive Voltage | |
| E2 | RD/BK | 442 | Battery Positive Voltage (C68) |
| E3 | D-BU | 101 | Blower Motor Supply Voltage (C60) |
| E4-E9 | - | - | Not Used |
| E10 | RD/WH | 840 | Battery Positive Voltage (UE1) |
| E11 | - | - | Not Used |
| E12 | BK | 650 | Ground |
| F1 | RD/WH | 1440 | Battery Positive Voltage |
| RD/WH | 1440 | Battery Positive Voltage | |
| F2 | GY | 8 | Instrument Panel Lamp Supply Voltage |
| GY | 8 | Instrument Panel Lamp Supply Voltage (JF4) | |
| F3 | GY | 8 | Instrument Panel Lamp Supply Voltage |
| GY | 8 | Instrument Panel Lamp Supply Voltage (T96) | |
| F4-F5 | - | - | Not Used |
| F6 | PK | 339 | Ignition 1 Voltage (K34) |
| F7-F8 | - | - | Not Used |
| F9 | PK | 1039 | Ignition 1 Voltage |
| F10-F12 | - | - | Not Used |