lemon-mirror:
Home >> Saturn >> 2005 >> Vue Red Line, FWD >> Repair and Diagnosis >> Engine Performance >> System >> Engine Controls - 3.5L (L66) Introduction >> Repair Instructions >> Fuel Injector Replacement >> Installation Procedure

Installation Procedure

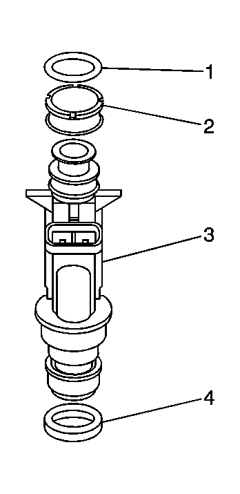
    IMPORTANT: Always install new injector O-rings when servicing the fuel injectors. Lubricate the new injector O-rings with clean engine oil
  1. Install the O-rings on the fuel injector (1).
  2. Install the fuel injector in the fuel rail with the connector facing upward.
    Fig 1: Exploded View Of Fuel Injector Components
    GM1275720Courtesy of GENERAL MOTORS CORP.
  3. Install the fuel rail. Refer to Fuel Rail Assembly Replacement .