lemon-mirror:
Home >> Saturn >> 2007 >> Ion Red Line >> Repair and Diagnosis >> Electrical >> Component Locations >> Component Locations And In-Line Harness Connector End Views >> Electrical Center Identification Views >> Body Control Module (BCM) Bottom View

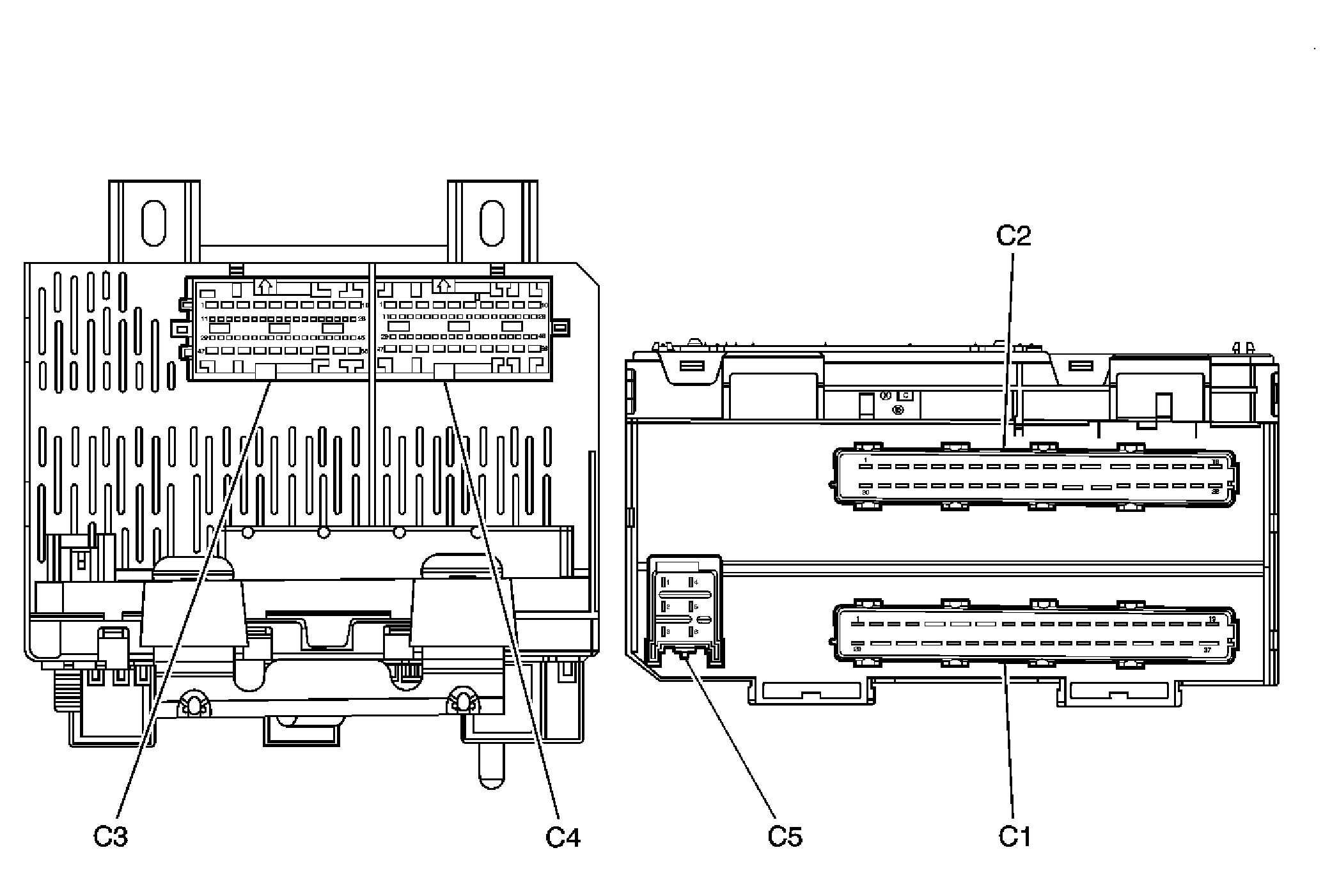
Body Control Module (BCM) Bottom View

Fig 1: Body Control Module (BCM) Bottom View
GM893862Courtesy of GENERAL MOTORS CORP.