lemon-mirror:
Home >> Saturn >> 2007 >> Ion Red Line >> Repair and Diagnosis >> Engine Performance >> System >> Engine Controls And Fuel - Introduction (2 Of 2) >> Component Locator >> Engine Controls Component Views

Engine Controls Component Views

Fig 1: Powertrain Control Module (PCM) Component View
GM1403070Courtesy of GENERAL MOTORS CORP.
Callout Component Name
1 Powertrain Control Module (PCM) C1
2 Powertrain Control Module (PCM) C2
3 Powertrain Control Module (PCM) C3
4 Engine Harness
5 Body Harness
6 Powertrain Control Module (PCM)
Fig 2: Air Cleaner Component View
GM1403077Courtesy of GENERAL MOTORS CORP.
Callout Component Name
1 Mass Air Flow (MAF)/Inlet Air Temperature (IAT) Sensor
Fig 3: Upper Right Side Of Engine Component View
GM1403091Courtesy of GENERAL MOTORS CORP.
Callout Component Name
1 Engine Coolant Temperature (ECT) Sensor
2 Supercharger By-Pass Valve Solenoid
3 Manifold Absolute Pressure (MAP) Sensor
Fig 4: Rear Of Engine Component View
GM1403101Courtesy of GENERAL MOTORS CORP.
Callout Component Name
1 Heated Oxygen Sensor (HO2S) 1 Connector
2 Heated Oxygen Sensor (HO2S) 2 Connector
3 Heated Oxygen Sensor (HO2S) 1
Fig 5: HO2S 2 Component View
GM1403103Courtesy of GENERAL MOTORS CORP.
Callout Component Name
1 Catalytic Converter
2 Heated Oxygen Sensor (HO2S) 2
Fig 6: Upper Left Side Of Engine Component View
GM1403106Courtesy of GENERAL MOTORS CORP.
Callout Component Name
1 Evaporative Emission (EVAP) Canister Purge Solenoid
2 Camshaft Position (CMP) Sensor
Fig 7: Top Left Side Of Engine Component View
GM1403108Courtesy of GENERAL MOTORS CORP.
Callout Component Name
1 Super Charge Inlet Pressure (SCIP) Sensor
2 Barometric Pressure (BARO) Sensor
3 Throttle Body
Fig 8: Left Front Of Engine Component View
GM1403110Courtesy of GENERAL MOTORS CORP.
Callout Component Name
1 Super Charge Inlet Pressure (SCIP) Sensor
2 Throttle Body
Fig 9: Front Of Engine Component View
GM1403112Courtesy of GENERAL MOTORS CORP.
Callout Component Name
1 Crankshaft Position (CKP) Sensor
2 Engine Oil Pressure (EOP) Switch
Fig 10: Lower Front Of Engine Component View
GM1403114Courtesy of GENERAL MOTORS CORP.
Callout Component Name
1 Knock Sensor (KS) Connector
2 Supercharger Intercooler Coolant Pump
Fig 11: Lower LF Of Passenger Compartment Routing View (2.0L)
GM1403116Courtesy of GENERAL MOTORS CORP.
Callout Component Name
1 Accelerator Pedal Position (APP) Sensor
2 C220
Fig 12: Right Rear Side Under Vehicle
GM1696935Courtesy of GENERAL MOTORS CORP.
Callout Component Name
1 C406
2 Fuel Tank Pressure Sensor
3 Evaporative Emission (EVAP) Canister Vent Solenoid
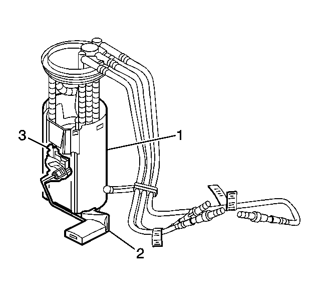
Fig 13: Fuel Pump and Sender Assembly
GM1696934Courtesy of GENERAL MOTORS CORP.
Callout Component Name
1 Fuel Pump and Sender Assembly
2 Fuel Pump Strainer
3 Fuel Level Sensor
Fig 14: Top Of Engine Component View
GM1540555Courtesy of GENERAL MOTORS CORP.
Callout Component Name
1 Ignition Coil 1
2 Ignition Coil 2
3 Ignition Coil 3
4 Ignition Coil 4
Fig 15: Top Front Of Engine Component View
GM1540542Courtesy of GENERAL MOTORS CORP.
Callout Component Name
1 Fuel Injector 1
2 Fuel Injector 2
3 Fuel Injector 3
4 Fuel Injector 4