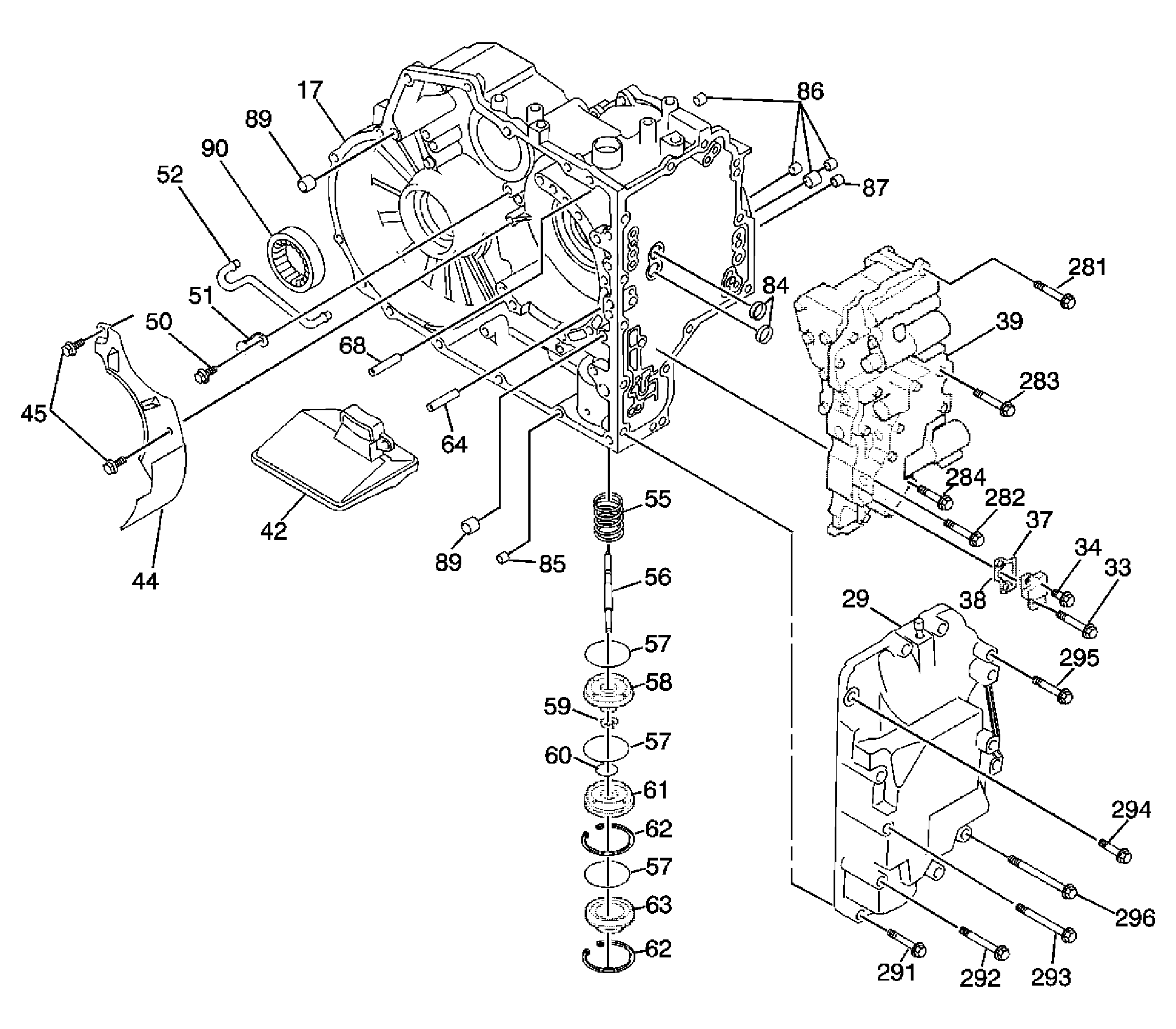
Disassembled Views
| Callout | Component Name |
|---|---|
| 1 | Torque Converter Assembly |
| 2 | Transmission Fluid Pump Assembly |
| 10 | Torque Converter Housing |
| 12 | Output Gear Assembly |
| 13 | Front Differential Assembly |
| 14 | Front Differential Transfer Drive Gear Assembly |
| 15 | Overdrive and Coast Clutch Assembly |
| 16 | 2nd and 4th Gear Band Assembly |
| 17 | Transmission Case Assembly |
| 18 | Forward Clutch Assembly |
| 19 | Transmission Case Cover |
| 20 | Transmission Case Cover Bolts M8x1.0x25 (Qty: 10) |
| 21 | Transmission Case Cover Fluid Seal Rings (Qty: 5) |
| 23 | Reverse Clutch Assembly with Input Shaft Assembly |
| 25 | Rear Ring Gear Assembly |
| 27 | Front Planetary Ring Gear Assembly |
| 29 | Control Valve Body Cover |
| 39 | Transmission Control Valve Body Assembly |
| 542 | Carrier Assembly |
| 544 | Sun Gear |
| Callout | Component Name |
|---|---|
| 17 | Transmission Case Assembly |
| 29 | Control Valve Body Cover |
| 34 | Control Valve Body Fluid Passage Bolt M6 x 1.0 x 20 (Qty: 1) |
| 37 | Control Valve Body Fluid Passage Cover |
| 38 | Control Valve Body Fluid Passage Cover Gasket |
| 39 | Transmission Control Valve Body Assembly |
| 42 | Transmission Fluid Filter Assembly |
| 44 | Transmission Fluid Baffle |
| 45 | Transmission Fluid Baffle Bolt M6 x 1.0 x 12 (Qty: 2) |
| 50 | Apply Tube Retainer Bolt M6 x 1.0 x 12 (Qty: 1) |
| 51 | Apply Tube Retainer |
| 52 | Apply Tube |
| 55 | 2nd and 4th Gear Band Servo Piston Spring |
| 56 | 2nd and 4th Gear Band Servo Piston Pin - Selective |
| 57 | 2nd and 4th Gear Band Servo Piston and Cover O-Ring Seal (Qty: 3) |
| 58 | 2nd and 4th Gear Band Servo Piston |
| 59 | 2nd and 4th Gear Band Servo Piston Pin Retainer |
| 60 | 2nd and 4th Gear Band Servo Piston Inner Seal |
| 61 | 2nd and 4th Gear Band Servo Piston Cover |
| 62 | 2nd and 4th Gear Band Servo Cover Retaining Ring |
| 63 | 2nd and 4th Gear Band Servo Cover |
| 64 | 2-4 Gear Band Anchor Pin |
| 68 | Transmission Case Locating Pin (Qty: 2) |
| 84 | Transmission Case Fluid Passage Seal to Valve Body (Qty: 2) |
| 85 | Transmission Fluid Passage Seal |
| 86 | Transmission Case Fluid Passage Seal (Qty: 4) |
| 87 | Transmission Case Fluid Passage Seal |
| 89 | Transmission Fluid Passage Seal (Qty: 2) |
| 90 | Front Differential Transfer Drive Gear Assembly Bearing |
| 281 | Control Valve Body Bolt M6 x 1.0 x 20 (Qty: 5) |
| 282 | Control Valve Body Bolt M6 x 1.0 x 76 (Qty: 1) |
| 283 | Control Valve Body Bolt M6 x 1.0 x 55 (Qty: 1) |
| 284 | Control Valve Body Bolt M6 x 1.0 x 12 ((Qty: 1) |
| 291 | Control Valve Body Cover Bolt M8 x 1.0 x 38 (Qty: 4) |
| 292 | Control Valve Body Cover Bolt M8 x 1.0 x 72 (Qty: 2) |
| 293 | Control Valve Body Cover Bolt M8 x 1.0 x 90 (Qty: 2) |
| 294 | Control Valve Body Cover Bolt M8 x 1.0 x 25 (Qty: 1) |
| 295 | Control Valve Body Cover Bolt M8 x 1.0 x 60 (Qty: 3) |
| 296 | Control Valve Body Cover Bolt M8 x 1.0 x 106.5 (Qty: 1) |
| 713 | Manual Shift Shaft Seal Assembly |
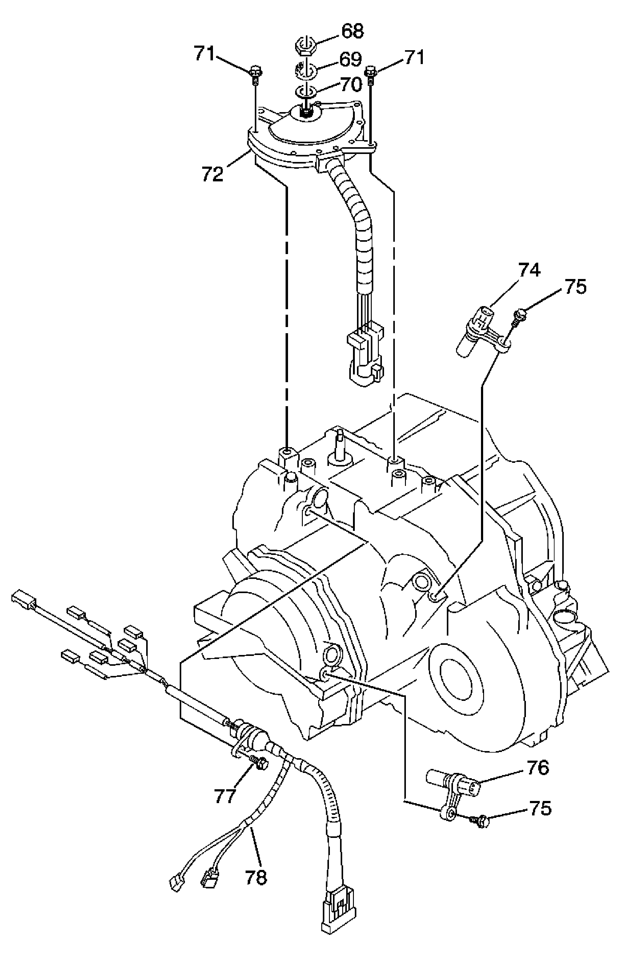
| Callout | Component Name |
|---|---|
| 69 | Manual Shift Shaft Retaining Nut |
| 70 | Manual Shift Shaft Retaining Nut Lock Washer |
| 71 | Park/Neutral Position Switch Bolt M8 x 1.0 x 26 (Qty: 2) |
| 72 | Park/Neutral Position Switch |
| 74 | Transmission Output Speed Sensor Assembly |
| 75 | Transmission Speed Sensor Bolt M6 x 1.0 x 17 (Qty: 2) |
| 76 | Transmission Input Speed Sensor Assembly |
| 77 | Transmission Wiring Harness Bolt M6 x 1.0 x 17 (Qty: 1) |
| 78 | Automatic Transmission Wiring Harness Assembly |
| Callout | Component Name |
|---|---|
| 5 | Transmission Fluid Pump to Case Bolt M8 x 1.0 x 20 (Qty: 6) |
| 185 | Transmission Fluid Pump Body O-Ring Seal |
| 186 | Transmission Fluid Pump Body Seal Assembly |
| 187 | Fluid Pump Body |
| 188 | Fluid Pump Body to Fluid Pump Stator Shaft Assembly Alignment Pin (Qty: 2) |
| 189 | Fluid Pump Body Driven Gear |
| 190 | Fluid Pump Body Drive Gear |
| 191 | Fluid Pump Cover and Stator Shaft Assembly |
| 192 | Transmission Fluid Pump Cover Bolt M6 x 1.0 x 18 (Qty: 8) |
| 193 | Fluid Pump Cover O-Ring Seals (Qty: 2) |
| Callout | Component Name |
|---|---|
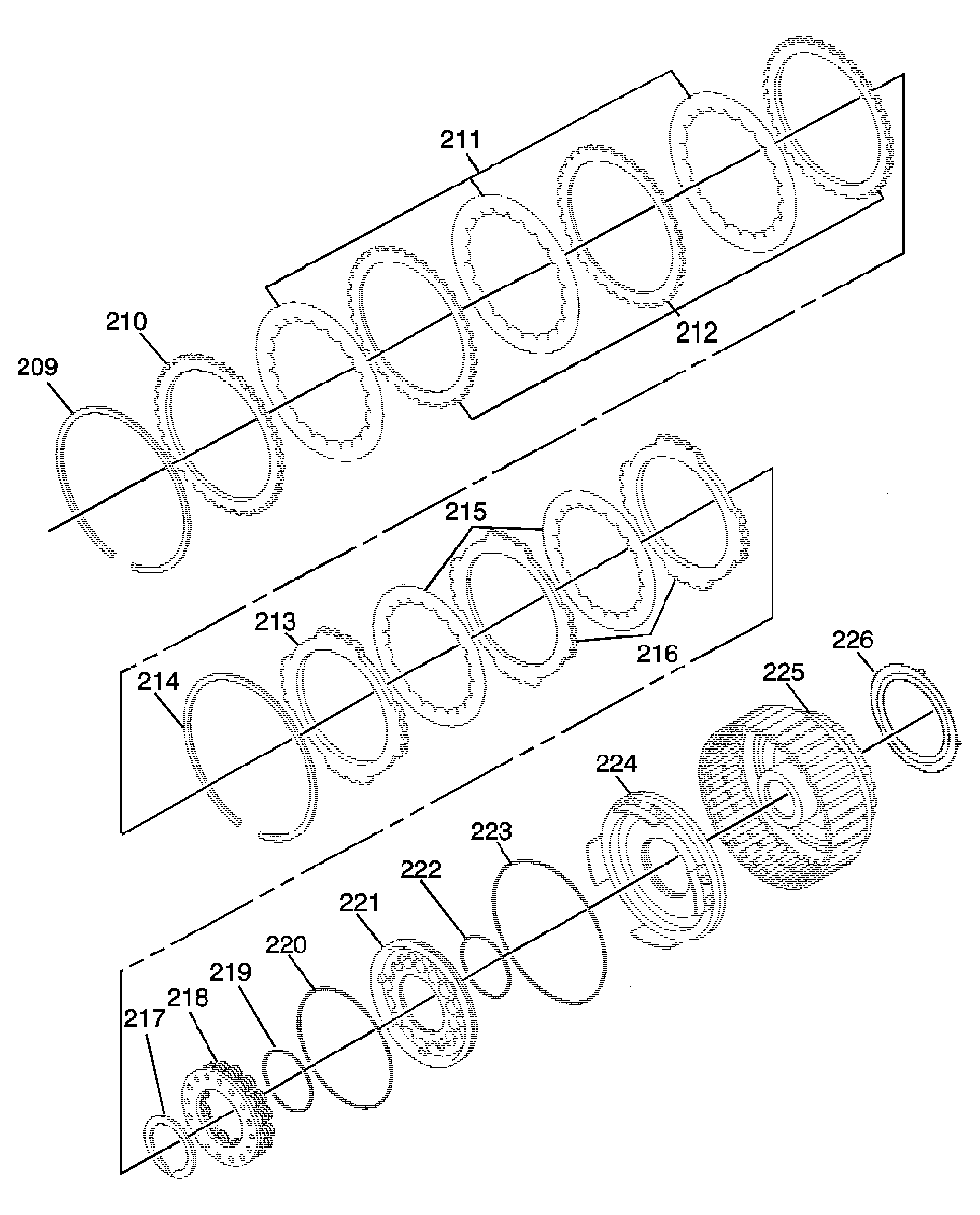
| 209 | Overdrive Clutch Backing Plate Retaining Ring |
| 210 | Overdrive Clutch Backing Plate |
| 211 | Overdrive Clutch Plate Assembly - Fiber |
| 212 | Overdrive Clutch Plate Assembly - Steel |
| 213 | Coast Clutch Backing Plate |
| 214 | Coast Clutch Backing Plate Retaining Ring |
| 215 | Coast Clutch Plate Assembly - Fiber |
| 216 | Coast Clutch Plate Assembly - Steel |
| 217 | Overdrive and Coast Clutch Spring Retaining Ring |
| 218 | Overdrive and Coast Clutch Spring |
| 219 | Coast Clutch Piston Inner Seal |
| 220 | Coast Clutch Piston Outer Seal |
| 221 | Coast Clutch Piston |
| 222 | Overdrive Clutch Piston Inner Seal |
| 223 | Overdrive Clutch Piston Outer Seal |
| 224 | Overdrive Clutch Piston |
| 225 | Overdrive and Coast Clutch Housing |
| 226 | Overdrive and Coast Clutch Housing Thrust Washer |
| Callout | Component Name |
|---|---|
| 236 | Output Gear |
| 237 | Output Gear Bearing Assembly |
| 238 | Output Gear Bearing Assembly Lock Nut |
| 239 | Output Gear Retaining Ring |
| Callout | Component Name |
|---|---|
| 263 | Front Differential Transfer Drive Gear Front Thrust Bearing Race |
| 264 | Front Differential Transfer Drive Gear Drive Pinion Bearing Inner Race |
| 265 | Front Differential Transfer Drive Gear Drive Pinion |
| 266 | Front Differential Transfer Drive Gear Counter Driven Gear |
| 267 | Front Differential Transfer Drive Gear Bearing Inner Race |
| 268 | Front Differential Transfer Drive Gear Lock Nut |
| 269 | Front Differential Transfer Drive Gear Rear Thrust Bearing Race |
| 270 | Front Differential Transfer Drive Gear Rear Thrust Bearing Assembly |
| Callout | Component Name |
|---|---|
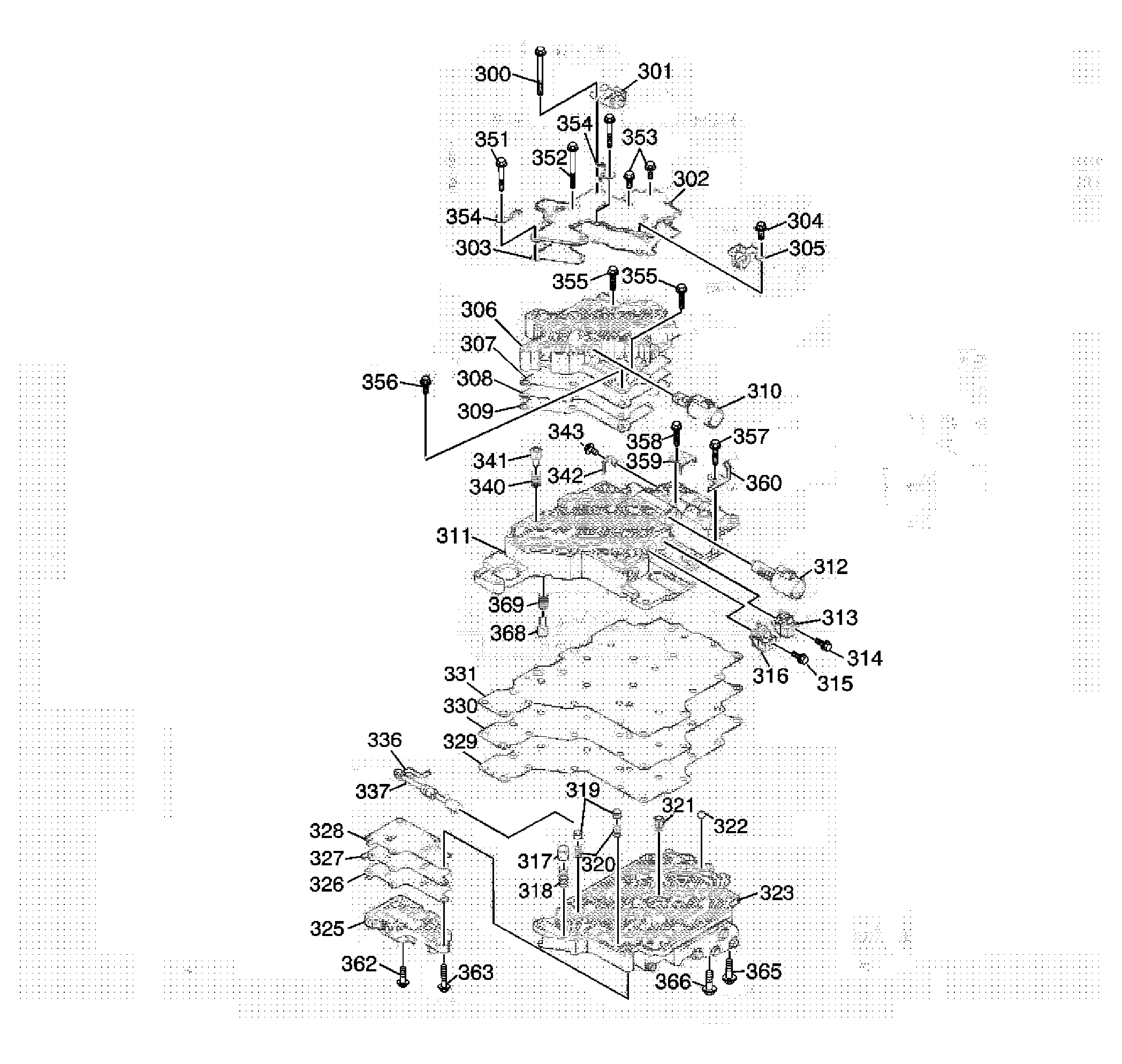
| 300 | Control Valve Body Bolt |
| 301 | Neutral Switching Solenoid Valve |
| 302 | Front Control Valve Body Cover |
| 303 | Front Control Valve Body Cover Gasket |
| 304 | Lock Up Solenoid Clamp Bolt |
| 305 | Lock Up Solenoid Clamp |
| 306 | Front Control Valve Body |
| 307 | Front Control Valve Body to Front Control Valve Body Spacer Plate Gasket |
| 308 | Front Control Valve Body Spacer Plate |
| 309 | Front Control Valve Body Spacer Plate to Middle Control Valve Body Gasket |
| 310 | Lock Up Control Solenoid (SLU) |
| 311 | Middle Control Valve Body Assembly |
| 312 | Line Pressure Control Solenoid Valve Assembly (SLT) |
| 313 | 2-3 Shift Solenoid Valve Assembly (S1) |
| 314 | 2-3 Shift Solenoid Valve Assembly Bolt |
| 315 | Shift Solenoid Valve Assembly Bolt |
| 316 | 1-2/3-4 Shift Solenoid Valve Assembly (S2) |
| 317 | Check Valve B |
| 318 | Check Valve Spring B |
| 319 | Check Valve A |
| 320 | Check Valve A Spring |
| 321 | Fluid Strainer |
| 322 | Check Ball |
| 323 | Rear Control Valve Body Assembly |
| 325 | No. 2 Rear Control Valve Body Assembly |
| 326 | No. 2 Rear Control Valve Body Assembly Spacer Plate Gasket |
| 327 | No. 2 Rear Control Valve Body Assembly Spacer Plate |
| 328 | No. 2 Rear Control Valve Body Gasket |
| 329 | Rear No. 1 Control Valve Body Spacer Plate Gasket |
| 330 | Rear No. 1 Control Valve Body Spacer Plate |
| 331 | Rear No. 1 Control Valve Body Gasket |
| 336 | Manual Valve Link |
| 337 | Manual Valve |
| 340 | Pressure Relief Valve Spring |
| 341 | Pressure Relief Valve |
| 342 | Line Pressure Control Solenoid Valve Retainer |
| 343 | Line Pressure Control Solenoid Valve Retainer Bolt |
| 351 | Front Control Valve Body Cover Bolt (Qty: 4) |
| 352 | Front Control Valve Body Cover Bolt (Qty: 2) |
| 353 | Front Control Valve Body Cover Bolt (Qty: 2) |
| 354 | Automatic Transmission Wiring Harness Assembly Retainer (Qty: 2) |
| 355 | Front Valve Body Bolt (Qty: 2) |
| 356 | Front Valve Body Bolt (Qty: 1) |
| 357 | Rear Valve Body to No. 2 Rear Valve Body Bolts (Qty: 4) |
| 358 | Rear Valve Body to No. 2 Rear Valve Body Bolt (Qty: 1) |
| 359 | No. 2 Rear Valve Body Fluid Baffle (Qty: 1) |
| 360 | No. 2 Rear Valve Body Wiring Harness Assembly Retainer (Qty: 1) |
| 362 | No. 2 Rear Control Valve Body Bolts (Qty: 3) |
| 363 | No. 2 Rear Control Valve Body Bolts (Qty: 2) |
| 365 | Middle Control Valve Body Bolt (Qty: 1) |
| 366 | Middle Control Valve Body Bolts (Qty: 2) |
| 368 | Middle Control Valve Body Fluid Cooler By-pass Valve |
| 369 | Middle Control Valve Body Fluid Cooler By-pass Valve Spring |
| Callout | Component Name |
|---|---|
| 306 | Front Control Valve Body |
| 370 | Solenoid B-1 Modulator No. 2 |
| 371 | Solenoid B-1 Modulator Valve No. 2 Spring |
| 372 | Sleeve/Bore Plug Retainer |
| 373 | Solenoid Modulator Valve Bore Plug |
| 374 | Neutral Relay Valve |
| 375 | Neutral Relay Valve Spring |
| Callout | Component Name |
|---|---|
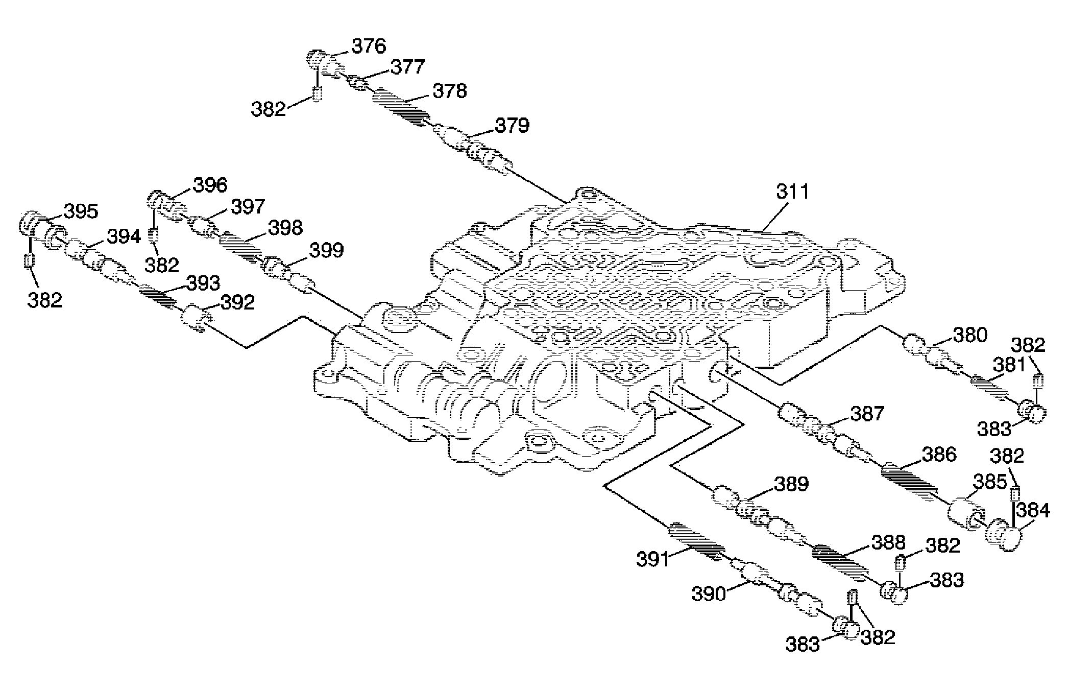
| 311 | Middle Control Valve Body Assembly |
| 376 | Primary Regulator Valve Sleeve |
| 377 | Primary Regulator Valve Plunger |
| 378 | Primary Regulator Valve Spring |
| 379 | Primary Regulator Valve |
| 380 | Lock Up Control Solenoid (SLU) Valve |
| 381 | Lock Up Control Solenoid (SLU) Spring |
| 382 | Sleeve/Bore Plug Retainer |
| 383 | Solenoid Modulator Valve Bore Plug |
| 384 | Solenoid Modulator Valve Bore Plug |
| 385 | 3-4 Shift Valve Sleeve |
| 386 | 3-4 Shift Valve Spring |
| 387 | 3-4 Shift Valve |
| 388 | 2-3 Shift Valve Spring |
| 389 | 2-3 Shift Valve |
| 390 | 1-2 Shift Valve |
| 391 | 1-2 Shift Valve Spring |
| 392 | Solenoid B-1 Modulator Valve No. 1 Plunger |
| 393 | Solenoid B-1 Modulator Valve No. 1 Spring |
| 394 | Solenoid B-1 Modulator Valve No. 1 |
| 395 | Solenoid B-1 Modulator Valve No. 1 Sleeve |
| 396 | Accumulator Regulator Valve Sleeve |
| 397 | Accumulator Regulator Valve Plunger |
| 398 | Accumulator Regulator Valve Spring |
| 399 | Accumulator Regulator Valve |
| Callout | Component Name |
|---|---|
| 323 | Rear Control Valve Body Assembly |
| 325 | No. 2 Rear Control Valve Body Assembly |
| 362 | No. 2 Rear Control Valve Body Bolts (Qty: 3) |
| 363 | No. 2 Rear Control Valve Body Bolts (Qty: 2) |
| 401 | Sleeve/Bore Plug Retainer |
| 402 | Lock Up Relay Control Valve Sleeve |
| 403 | Lock Up Relay Control Valve Plunger |
| 404 | Lock Up Relay Control Valve Spring |
| 405 | Lock Up Relay Control Valve |
| 408 | Lock Up Control Valve Spring |
| 409 | Lock Up Control Valve |
| 410 | Lock Up Control Valve Plunger |
| 411 | Solenoid Modulator Valve Bore Plug |
| 414 | Solenoid Modulator Valve Bore Plug |
| 415 | Secondary Regulator Valve |
| 416 | Secondary Regulator Valve Spring |
| 417 | B-1 Modulator Control Valve |
| 418 | B-1 Modulator Control Valve Spring |
| 419 | Low Modulator Valve |
| 420 | Low Modulator Valve Spring |
| 421 | Solenoid Modulator Valve |
| 422 | Solenoid Modulator Valve Spring |
| 425 | C-2 Accumulator Inner Spring |
| 426 | C-2 Accumulator Outer Spring |
| 427 | C-2 Accumulator Piston |
| 428 | C-2 Accumulator O-Ring Seal |
| 429 | B-1 Accumulator Snap Ring |
| 430 | B-1 Accumulator Piston |
| 431 | B-1 Accumulator Split Seal Ring |
| 432 | Rear Valve Body Cover No. 1 Gasket |
| 433 | Rear Valve Body Cover No. 1 Plate |
| 434 | Rear Valve Body Cover No. 1 Gasket |
| 435 | Rear Valve Body Cover No. 1 Check Ball |
| 436 | Rear Valve Body Cover No. 1 |
| 437 | Rear Valve Body Cover No. 1 Bolt |
| 438 | B-1 Accumulator Counter Spring |
| 440 | Rear Valve Body Cover No. 2 Gasket |
| 441 | Rear Valve Body Cover No. 2 Plate |
| 442 | Rear Valve Body Cover No. 2 Gasket |
| 443 | Rear Valve Body Cover No. 2 Bolt |
| 444 | Rear Valve Body Cover No. 2 |
| 445 | C-1 Control Valve |
| 446 | C-1 Control Valve Sleeve |
| 447 | C-0 Accumulator Spring |
| 448 | C-0 Accumulator Piston |
| 449 | C-0 Accumulator O-Ring Seal |
| 452 | 2-3 Timing Valve |
| 453 | 2-3 Timing Valve Spring |
| 454 | C-1 Damper Piston |
| 455 | C-1 Damper Piston Split Seal Ring |
| 456 | C-1 Damper Spring |
| 457 | C-3 Modulator Valve |
| 458 | C-3 Modulator Valve Spring Seat |
| 459 | C-3 Modulator Valve Spring |
| Callout | Component Name |
|---|---|
| 17 | Transmission Case Assembly |
| 510 | 1st and Reverse Clutch Piston Inner Seal |
| 511 | 1st and Reverse Clutch Piston |
| 512 | 1st and Reverse Clutch Piston Outer Seal |
| 513 | 1st and Reverse Clutch Spring Assembly |
| 514 | 1st and Reverse Clutch Spring Retaining Ring |
| 516 | 1st and Reverse Clutch Plate Assembly - Fiber |
| 517 | 1st and Reverse Clutch Plate - Steel |
| 518 | 1st and Reverse Clutch Backing Plate Retaining Ring |
| 519 | 1st and Reverse Clutch Backing Plate |
| Callout | Component Name |
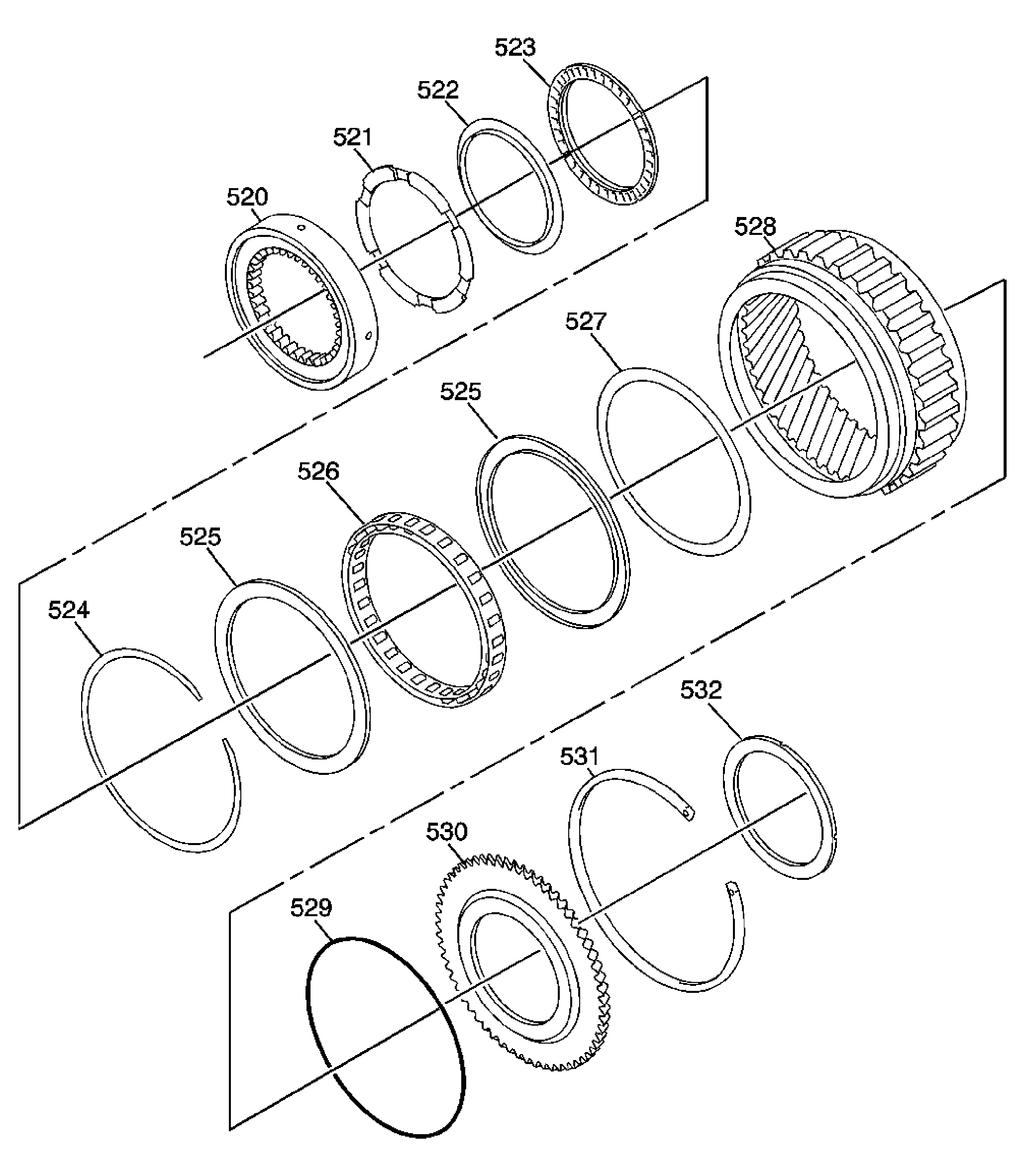
|---|---|
| 520 | Overrun Clutch Inner Race |
| 521 | Overrun Clutch Inner Race Thrust Washer |
| 522 | Overrun Clutch Inner Race Thrust Bearing Race |
| 523 | Overrun Clutch Inner Race Thrust Bearing with Race |
| 524 | Overrun Clutch Retaining Ring |
| 525 | Overrun Clutch End Bearing |
| 526 | Overrun One-Way Clutch |
| 527 | Overrun Clutch Thrust Washer |
| 528 | Front Planetary Ring Gear |
| 529 | Front Planetary Ring Gear O-Ring Seal |
| 530 | Front Planetary Ring Gear Flange |
| 531 | Front Planetary Ring Gear Flange Retaining Ring |
| 532 | Front Planetary Ring Gear Flange Thrust Washer |
| Callout | Component Name |
|---|---|
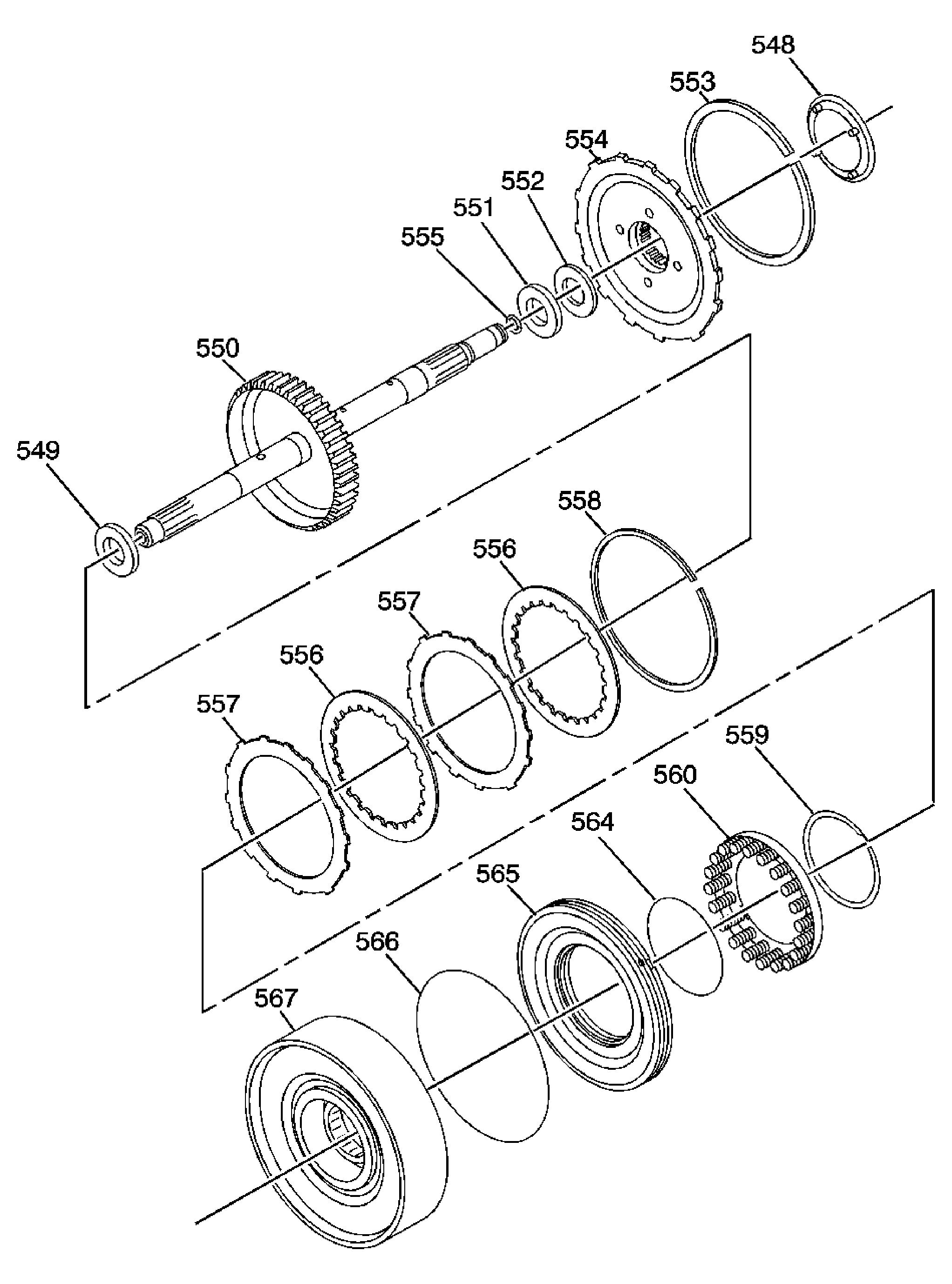
| 548 | Sun Gear Input Flange Thrust Washer |
| 549 | Input Shaft Front Thrust Washer |
| 550 | Input Shaft |
| 551 | Input Shaft Thrust Bearing |
| 552 | Input Shaft Thrust Bearing Race |
| 553 | Sun Gear Input Flange Retaining Ring |
| 554 | Sun Gear Input Flange |
| 555 | Input Shaft Seal Ring - Slotted |
| 556 | Reverse Gear Clutch Plate Assembly - Fiber |
| 557 | Reverse Gear Clutch Plate Assembly - Steel |
| 558 | Reverse Gear Clutch Plate Retaining Ring |
| 559 | Reverse Gear Clutch Spring Retaining Ring |
| 560 | Reverse Gear Clutch Spring |
| 564 | Reverse Gear Clutch Piston Inner Seal |
| 565 | Reverse Gear Clutch Piston |
| 566 | Reverse Gear Clutch Piston Outer Seal |
| 567 | Reverse Gear Clutch Drum |
| Callout | Component Name |
|---|---|
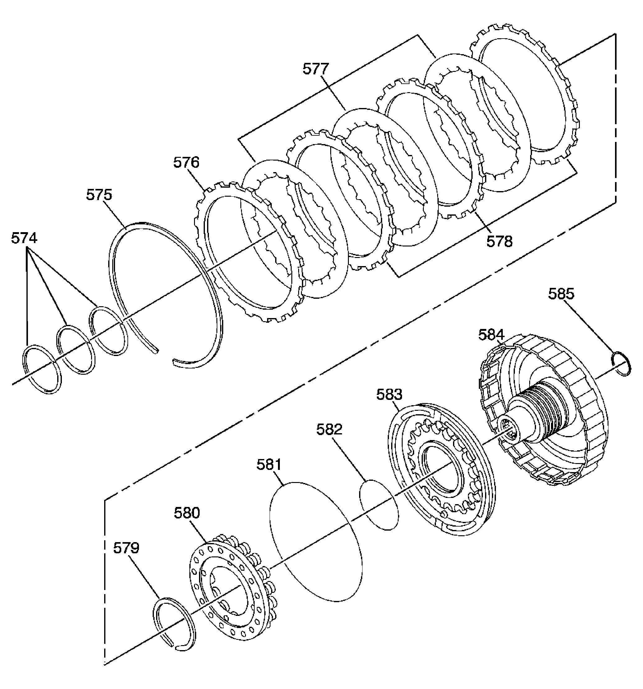
| 574 | Forward Clutch Housing Seal - Slotted |
| 575 | Forward Clutch Backing Plate Retaining Ring |
| 576 | Forward Clutch Backing Plate |
| 577 | Forward Clutch Plate Assembly - Fiber |
| 578 | Forward Clutch Plate Assembly - Steel |
| 579 | Forward Clutch Piston Return Spring Retaining Ring |
| 580 | Forward Clutch Piston Return Spring Assembly |
| 581 | Forward Clutch Piston Outer Seal |
| 582 | Forward Clutch Piston Inner Seal |
| 583 | Forward Clutch Piston |
| 584 | Forward Clutch Housing |
| 585 | Forward Clutch Housing Thrust Bearing Assembly |
| Callout | Component Name |
|---|---|
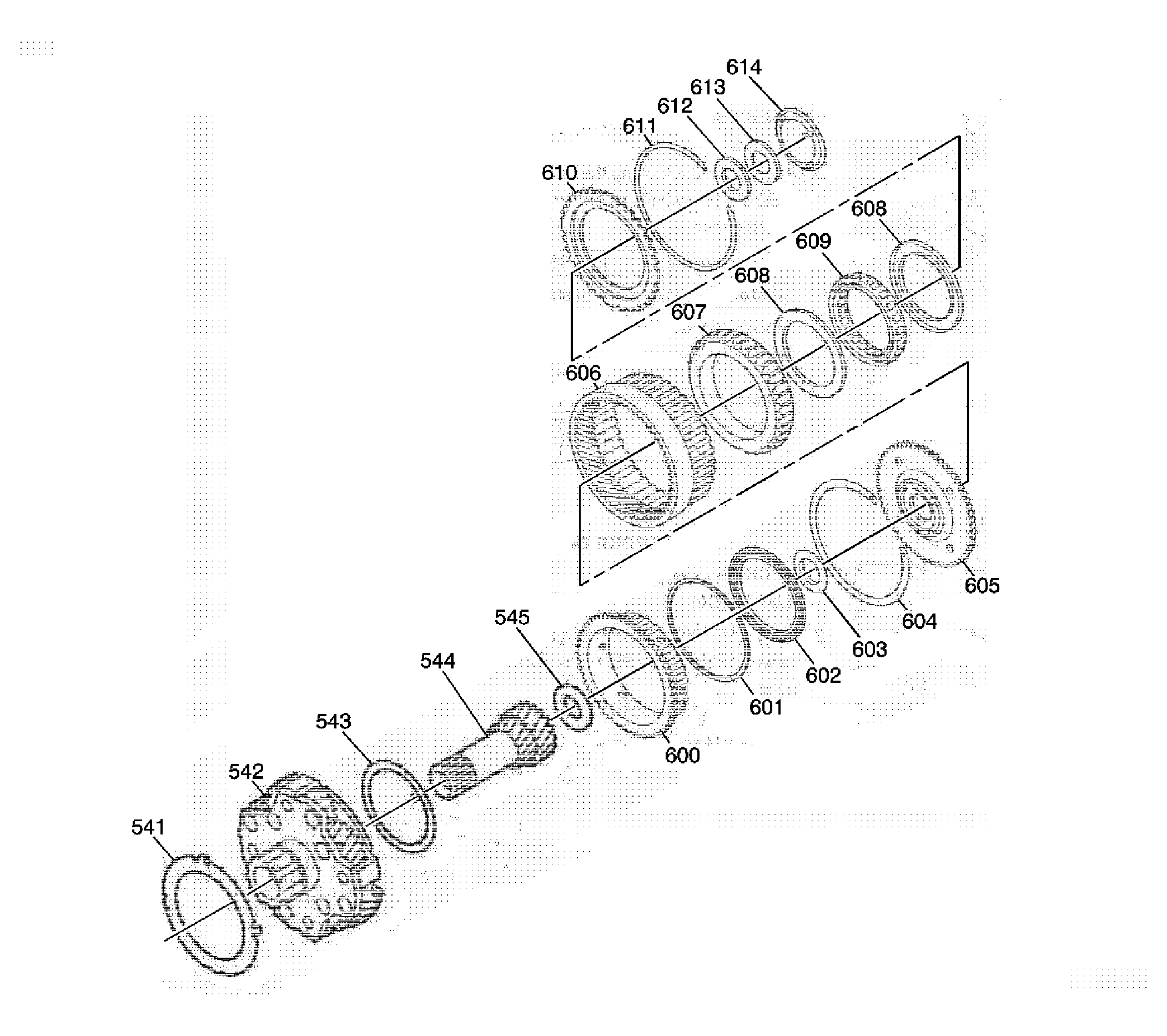
| 541 | Carrier Thrust Washer |
| 542 | Carrier Assembly |
| 543 | Carrier Thrust Bearing |
| 544 | Sun Gear |
| 545 | Sun Gear Thrust Bearing Assembly |
| 600 | Overdrive Clutch Hub |
| 601 | Overdrive Clutch Hub Retaining Ring |
| 602 | Rear Planetary Ring Gear Thrust Bearing |
| 603 | Sun Gear Thrust Bearing Race |
| 604 | Rear Planetary Ring Gear Flange Retaining Ring |
| 605 | Rear Planetary Ring Gear Flange |
| 606 | Rear Planetary Ring Gear |
| 607 | Coast Clutch Outer Race |
| 608 | Coast Clutch End Bearing |
| 609 | Coast One Way Clutch |
| 610 | Coast Clutch Retainer Plate |
| 611 | Coast Clutch Retainer Plate Retaining Ring |
| 612 | Rear Ring Gear Rear Thrust Bearing Race |
| 613 | Rear Ring Gear Rear Thrust Bearing |
| 614 | Rear Planetary Ring Gear Flange Thrust Washer |
| Callout | Component Name |
|---|---|
| 10 | Torque Converter Housing |
| 17 | Transmission Case Assembly |
| 80 | Front Wheel Drive Shift Oil Seal |
| 630 | Front Differential Side Gear Thrust Washer |
| 631 | Front Differential Side Gear |
| 632 | Front Differential Pinion Shaft Thrust Washer |
| 633 | Front Differential Pinion Gear |
| 634 | Front Differential Ring Gear Mounting Bolt Lock |
| 635 | Front Differential Ring Gear |
| 636 | Front Differential Ring Gear Mounting Bolt |
| 637 | Front Differential Tapered Outer Roller Bearing |
| 638 | Front Differential Speed Sensor Reluctor Wheel |
| 639 | Front Differential Pinion Shaft Retaining Pin |
| 640 | Front Differential Carrier Assembly |
| 641 | Front Differential Tapered Outer Roller Bearing |
| 642 | Front Differential Pinion Shaft |
| 645 | Front Differential Carrier Bearing Shim - Selective |
| 646 | Front Differential Carrier Bearing Race |
| 647 | Front Differential Carrier Bearing Race |
| 800 | Front Differential Carrier Seal Assembly |
| Callout | Component Name |
|---|---|
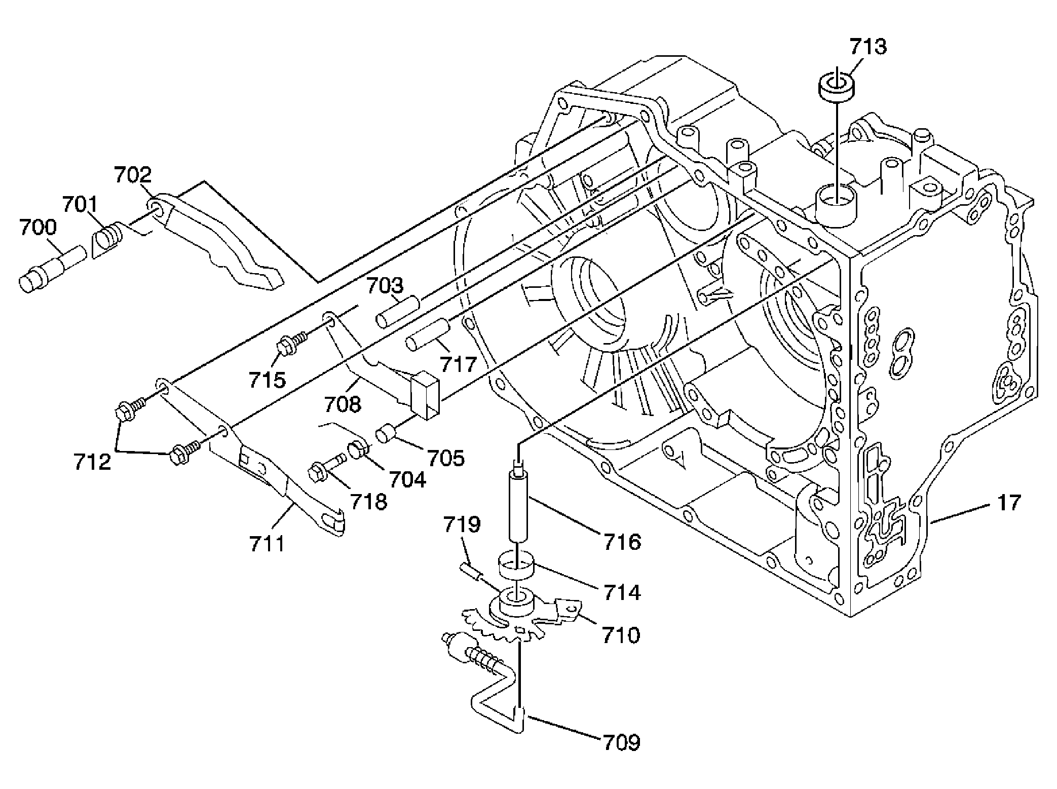
| 17 | Transmission Case Assembly |
| 700 | Park Pawl Shaft |
| 701 | Park Pawl Spring - Return |
| 702 | Park Pawl |
| 703 | Park Pawl Locking Pin |
| 704 | Park Pawl Pin Spring |
| 705 | Park Pawl Pin Spring Guide Sleeve |
| 708 | Park Pawl Lock Guide |
| 709 | Park Pawl Actuator Rod |
| 710 | Manual Shift Shaft Detent Assembly |
| 711 | Manual Shift Shaft Detent Lever Spring |
| 712 | Manual Shaft Detent Spring Bolt M6 x 1.0 x 14 (Qty: 2) |
| 713 | Manual Shift Shaft Seal Assembly |
| 714 | Manual Shift Shaft Spacer |
| 715 | Manual Shift Shaft Detent Lever Bolt M6 x 1.0 x 14 (Qty: 1) |
| 716 | Manual Shift Shaft |
| 717 | Park Pawl Stop Pin |
| 718 | Manual Shift Shaft Detent Lever Bolt M6 x 1.0 x 28 (Qty: 1) |
| 719 | Manual Shift Shaft Locking Pin |
| Callout | Component Name |
|---|---|
| 10 | Torque Converter Housing |
| 40 | Fluid Passage Plug |
| 41 | Fluid Passage Plug Seal |
| 262 | Front Differential Transfer Drive Gear Front Thrust Bearing Assembly |
| 800 | Front Differential Carrier Seal Assembly |
| 801 | Torque Converter Housing Bolt M8 1.0 x 39 (Qty: 2) |
| 802 | Torque Converter Housing Bolt M8 x 1.0 x 30 (Qty: 10) |
| 803 | Lube Fluid Pipe Retainer |
| 804 | Lube Fluid Pipe Retainer Bolt M6 x 1.0 x 12 (Qty: 1) |
| 805 | Lube Fluid Pipe |
| 806 | Front Differential Transfer Drive Gear Assembly Bearing Retainer |
| 807 | Front Differential Transfer Drive Gear Assembly Bearing Retainer Bolt M8 x 1.0 x 20 (Qty: 1) |
| 808 | Front Differential Transfer Drive Gear Assembly Bearing |
| 810 | Transmission Fluid Baffle Bolt M6 x 1.0 x 12 (Qty: 3) |
| 811 | Transmission Fluid Baffle |
| 812 | Chip Collector Magnet |
| 813 | Torque Converter Housing Bolt M8 x 1.0 x 25 (Qty: 2) |
| 815 | Automatic Transmission Fluid Pressure Test Hole Plug O-Ring Seal |
| 816 | Automatic Transmission Fluid Pressure Test Hole Plug |
| 819 | Transmission Fluid Drain Plug |
| 820 | Transmission Fluid Drain Plug Washer |