lemon-mirror:
Home >> Saturn >> 2008 >> Astra XE, Automatic >> Repair and Diagnosis >> Transmission >> Automatic Trans >> Shift Lock Control System >> Repair Instructions >> Automatic Transmission Shift Lock Control Actuator Replacement >> Installation Procedure

Installation Procedure

    Fig 1: View Of 2 Shift Lock Actuator From The Bracket
    GM1948675Courtesy of GENERAL MOTORS CORP.
  1. Install the 2 shift lock actuator (1) to the bracket (2).
    • Insert the 2 shift lock actuator with the spacer plate (3).
    • The 2 locks must engage.
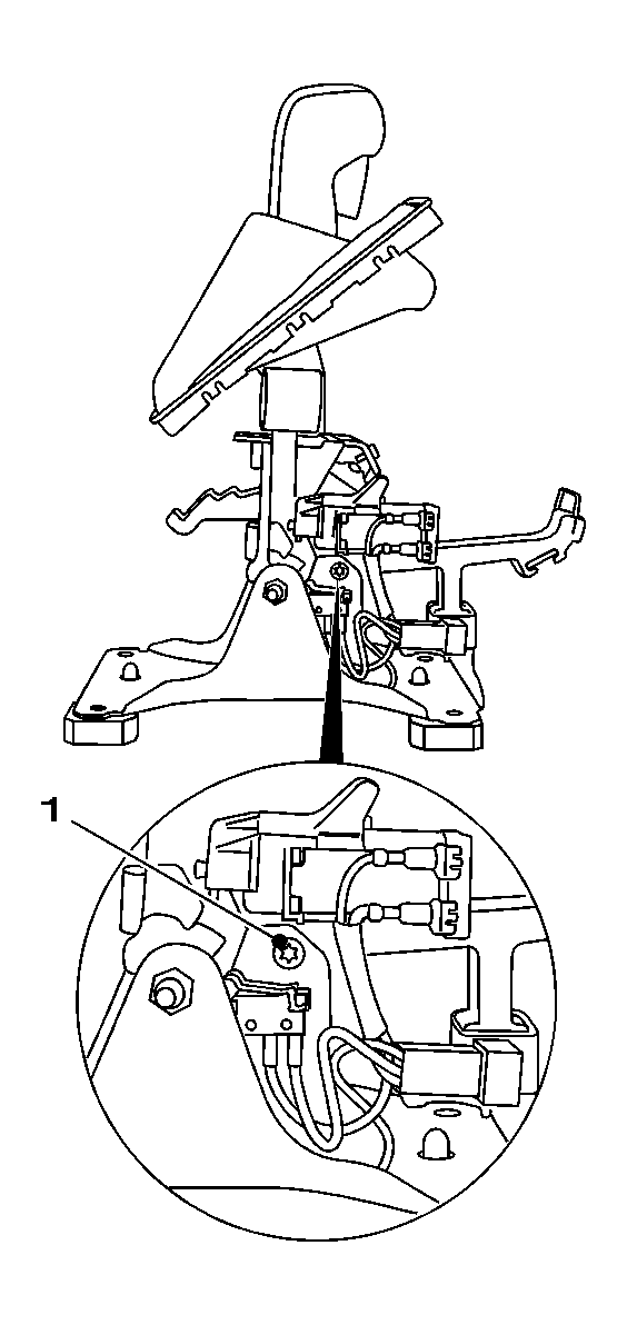
  2. Fig 2: View Of Shift Lock Actuator Bolt
    GM1938430Courtesy of GENERAL MOTORS CORP.
    NOTE: Refer to Fastener Notice .
    IMPORTANT: Note configuration of cables.
  3. Install the 2 shift lock actuator to the selector lever assembly.

    Connect the 4 wiring plugs to the shift lock actuator.

    Tighten:  Tighten the bolt (1).

  4. Install the selector lever assembly.
    • Insert the selector lever assembly.

      Tighten:  Tighten the 4 bolts (2) to 5 N.m (44 lb in).

    • Connect the wiring harness plug (1).
  5. Fig 3: View Of Selector Actuator Cable And Retaining Clamp
    GM1939173Courtesy of GENERAL MOTORS CORP.
  6. Install the selector actuator cable (2) to the selector lever.
    • Install the selector lever to the bracket.
    • Install the retaining clamp (1).
  7. Install the front floor console. Refer to Front Floor Console Replacement .
  8. Check the selector lever safety functions.
  9. For reprogramming procedures, refer to Control Module References .