lemon-mirror:
Home >> Scion >> 2004 >> xA Automatic >> Repair and Diagnosis >> Electrical >> Horns >> Horn System >> Inspection

Horn System: Inspection

  1. INSPECT LOW PITCHED HORN ASSY 
    Fig 1: Inspecting Low Pitched Horn Assy
    G03382490Courtesy of © TOYOTA, LICENSE AGREEMENT TMS1002
    1. Apply battery voltage to the horn and check operation of the horn.

      Standard: 

      SPECIFIED MEASURING CONDITION

      Measurement Condition Specified Condition
      Battery positive (+) --> Terminal 1
      Battery positive (-) --> Horn stay
      Horn sounds

      If the result is not as specified, replace the horn assy.

  2. INSPECT HIGH PITCHED HORN ASSY 
    Fig 2: Inspecting High Pitched Horn Assy
    G03382491Courtesy of © TOYOTA, LICENSE AGREEMENT TMS1002
    1. Apply battery voltage to the horn and check operation of the horn.

      Standard: 

      SPECIFIED MEASURING CONDITION

      Measurement Condition Specified Condition
      Battery positive (+) --> Terminal 1
      Battery positive (-) --> Horn stay
      Horn sounds

      If the result is not as specified, replace the horn assy.

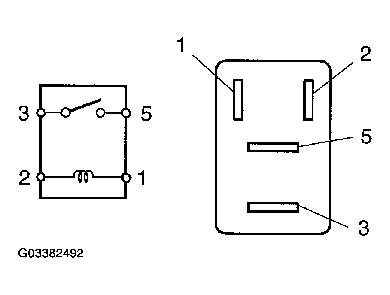
  3. INSPECT HORN RELAY ASSY 
    Fig 3: Inspecting Horn Relay Assy
    G03382492Courtesy of © TOYOTA, LICENSE AGREEMENT TMS1002
    1. Remove the HORN relay from the engine room R/B.
    2. Check the HORN relay resistance.

      Standard: 

      TESTER CONNECTION AND SPECIFIED CONDITION

      Tester Connection Specified Condition
      3 - 5 10 kΩ or higher
      Below 1Ω (When Battery Voltage Is Applied To Terminals 1 & 2)

      If the result is not as specified, replace the relay assy.