lemon-mirror:
Home >> Scion >> 2005 >> tC Automatic >> Repair and Diagnosis >> Brakes >> Traction Control >> Abs With EBD System >> Test Mode Procedure

Test Mode Procedure

  1. WARNING LIGHT BULB CHECK 
    NOTE: When releasing the parking brake, set the chocks to hold the vehicle for safety.

    HINT:

    When the parking brake is applied or the level of the brake fluid is low, the BRAKE warning light comes on.

    1. Release the parking brake lever.
    2. Check that the ABS warning light and BRAKE warning light come on when the ignition switch is turned on and will go off in about 3 seconds.
      Fig 1: Checking ABS Warning Light And BRAKE Warning Light
      G03064958Courtesy of © TOYOTA, LICENSE AGREEMENT TMS1002
    3. If the warning lights do not come on, or remain on, the bulb has burned out or the skid control ECU may be defective.
  2. SENSOR SIGNAL CHECK (TEST MODE) (USING HAND-HELD TESTER) 

    If the ignition switch is turned from the ON to the ACC or LOCK position during test mode, DTCs of the sensor check function will be erased.

    1. Procedures for sensor signal check
      1. Turn the ignition switch off.
      2. Check that the shift lever is in the P position.
      3. Connect the hand-held tester to the DLC3.
        Fig 2: Connecting Hand-Held Tester To DLC3
        G03064959Courtesy of © TOYOTA, LICENSE AGREEMENT TMS1002
      4. Start the engine.
        Fig 3: Identifying Checking Sensor Signal (Using Hand Held Tester)
        G03064960Courtesy of © TOYOTA, LICENSE AGREEMENT TMS1002
      5. Operate the hand-held tester in test mode (SIGNAL CHECK).
      6. Check that the ABS warning light blinks.
        Fig 4: Blinking Pattern Of ABS Warning Light
        G03064961Courtesy of © TOYOTA, LICENSE AGREEMENT TMS1002

      HINT:

      If the ABS warning light does not blink, inspect the ABS warning light circuit.

      ABS WARNING LIGHT TROUBLE AREA REFERENCE

      Trouble area Refer To
      ABS warning light ABS WARNING LIGHT CIRCUIT (REMAINS ON) 
    2. Start the sensor signal check.
      1. Drive vehicle straight forward.

        Drive the vehicle at a speed of 34 mph (55 km/h) or higher for several seconds and check that the ABS warning light goes off.

        NOTE:
        • The speed sensor check may not be completed if it is started while turning the steering wheel or spinning the wheels. 
        • If the sensor check has not been completed, the ABS warning light blinks while driving and the ABS system does not operate. 
      2. Stop the vehicle.
    3. Read the DTCs.

    HINT:

    • See the list of DTC (Refer to step  4).
    • If every sensor is normal, there is a normal code output. (A cycle of 0.25 sec. ON and 0.25 sec. OFF is repeated.)
    • If 2 or more malfunctions are indicated at the same time, the lowest numbered code will be displayed 1st.
    Fig 5: Blinking Pattern Of Malfunction Code (Example Code 71, 72)
    G03064962Courtesy of © TOYOTA, LICENSE AGREEMENT TMS1002
  3. SENSOR SIGNAL CHECK (TEST MODE) 

    (USING SST CHECK WIRE) 

    If the ignition switch is turned from the ON to the ACC or LOCK position during test mode, DTCs of the sensor check function will be erased.

    1. Procedures for sensor signal check
      1. Turn the ignition switch off.
      2. Check that the shift lever is in the P position.
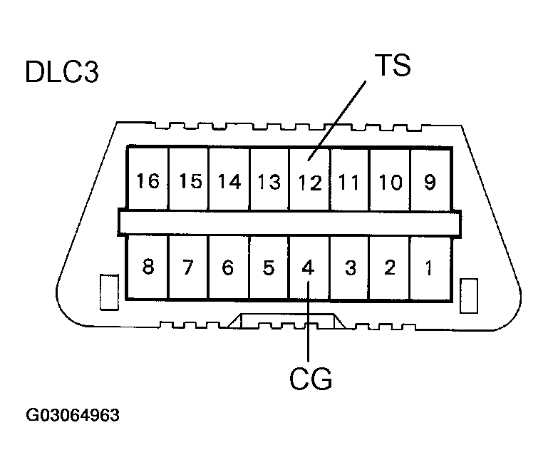
      3. Using SST, connect terminals TS and CG of the DLC3.
        1. SST 09843-18040
        Fig 6: Connecting Terminals TS And CG Of DLC3
        G03064963Courtesy of © TOYOTA, LICENSE AGREEMENT TMS1002
      4. Start the engine.
      5. Check that the ABS warning light blinks.

      HINT:

      If the ABS warning light does not blink, inspect the ABS warning light circuit and TS terminal circuit.

      ABS WARNING LIGHT AND TS TERMINAL CIRCUIT REFERENCE

      Trouble area Refer To
      ABS warning light ABS WARNING LIGHT CIRCUIT (REMAINS ON) 
      TS terminal circuit TS TERMINAL CIRCUIT 
      Fig 7: Blinking Pattern Of ABS Warning Light
      G03064964Courtesy of © TOYOTA, LICENSE AGREEMENT TMS1002
    2. Start the sensor signal check.
      1. Drive vehicle straight forward.

        Drive the vehicle at a speed of 34 mph (55 km/h) or higher for several seconds and check that the ABS warning light goes off.

        NOTE:
        • The speed sensor check may not be completed if it is started while turning the steering wheel or spinning the wheels. 
        • If sensor check has not been completed, the ABS warning light blinks while driving and the ABS system does not operate. 
      2. Stop the vehicle.
    3. Read the DTCs
      1. Using SST, connect terminals TC and CG of the DLC3.
        1. SST 09843-18040
        Fig 8: Connecting Terminals TC And CG Of DLC3
        G03064965Courtesy of © TOYOTA, LICENSE AGREEMENT TMS1002
      2. Read the number of blinks of the ABS warning light.

        HINT:

        • See the list of DTC (Refer to step  4).
        • If every sensor is normal, the normal code is output. (A cycle of 0.25 second ON and 0.25 second OFF is repeated.)
        • If 2 or more malfunctions are indicated at the same time, the lowest numbered code will be displayed 1st.
        Fig 9: Blinking Pattern Trouble Code (Example Code 71, 72)
        G03064966Courtesy of © TOYOTA, LICENSE AGREEMENT TMS1002
      3. After performing the check, turn the ignition switch off, and remove the SST from the DLC3.
      1. SST 09843-18040
  4. DTC of speed sensor check function: 
    Fig 10: Speed Sensor Check Function DTC Chart
    G03064967Courtesy of © TOYOTA, LICENSE AGREEMENT TMS1002

    HINT:

    The codes in this table are output only in TEST MODE.