lemon-mirror:
Home >> Scion >> 2005 >> xA Standard >> Repair and Diagnosis >> Electrical >> Charging Systems >> Starting & Charging >> Starting System >> Inspection

Starting System: Inspection

  1. INSPECT STARTER ASSY 
    NOTE: These tests must be performed within 3 to 5 seconds to prevent coil burnout.
    1. Perform the pull-in test.
      1. Disconnect the lead wire from terminal C.
      2. Connect the battery to the magnetic switch as shown in the illustration on the left. Check that the clutch pinion gear is extended.
        Fig 1: Connecting Battery To Magnetic Switch
        G03195367Courtesy of © TOYOTA, LICENSE AGREEMENT TMS1002

        If the clutch pinion gear is not extended, replace the magnetic switch body.

    2. Perform the hold-in test.
      1. Disconnect the negative (-) lead from the terminal C with the above condition (a) maintained. Check that the pinion gear remains extended.

        If the clutch pinion gear returns, replace the magnetic switch body.

        Fig 2: Disconnecting Negative (-) Lead From Terminal C
        G03195368Courtesy of © TOYOTA, LICENSE AGREEMENT TMS1002
    3. Inspect the operation.
      1. Disconnect the negative (-) lead from the switch body. Check that the clutch pinion gear returns.

        If the clutch pinion gear does not return, replace the magnetic switch body.

        Fig 3: Disconnecting Negative (-) Lead From Switch Body
        G03195369Courtesy of © TOYOTA, LICENSE AGREEMENT TMS1002
    4. Perform the no-load performance test.
      1. Connect the lead wire to terminal C. Make sure the lead is not grounded.
      2. Clamp the starter in a vise.
      3. Connect the battery and an ammeter to the starter as shown in the illustration.
        Fig 4: Connecting Battery & Ammeter To Starter
        G03195370Courtesy of © TOYOTA, LICENSE AGREEMENT TMS1002
      4. Check that the starter rotates smoothly and steadily with the clutch pinion gear extended. Check that the ammeter reads the specified current.

        Specified current: 90 A or less at 11.5 V 

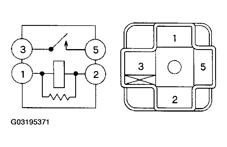
  2. INSPECT STARTER RELAY ASSY 
    1. Check the resistance.
      1. Using an ohmmeter, measure the resistance between each terminal.

        Specified condition: 

        STARTER RELAY ASSY TERMINALS RESISTANCE SPECIFICATION

        Tester connection Specified condition
        3 - 5 10 kΩ or higher
        3 - 5 Below 1Ω (Apply battery voltage to terminals 1 and 2)

        If the result is not as specified, replace the starter relay.

        Fig 5: Inspecting Starter Relay Assy
        G03195371Courtesy of © TOYOTA, LICENSE AGREEMENT TMS1002