lemon-mirror:
Home >> Scion >> 2005 >> xB Automatic >> Repair and Diagnosis >> Body & Frame >> Windows >> Windshield/WINDOWGLASS/Mirror >> Window Defogger System >> Inspection

Window Defogger System: Inspection

  1. INSPECT CENTER CLUSTER MODULE SWITCH 
    1. Check operation of the defogger timer.
      1. Connect the battery's positive (+) lead to terminal 3 and the negative (-) lead to terminal 4.
      2. Connect the battery's positive (+) lead to terminal 4 through a 1.4 W test bulb.
      3. Push the rear window defogger switch ON, check that the switch and the test bulb illuminate for 12 to 18 minutes, and then they go off.

      If the result is not as specified, replace the module switch.

      Fig 1: Inspecting Center Cluster Module Switch
      G03095249Courtesy of © TOYOTA, LICENSE AGREEMENT TMS1002
  2. INSPECT BACK DOOR GLASS (DEFOGGER WIRE) 
    NOTE:
    • When cleaning the glass, wipe the glass along the wire using a soft, dry cloth. Take care not to damage the wires.
    • Do not use detergents or glass cleaners that have abrasive ingredients.
    • When measuring voltage, wrap a piece of tinfoil around the tip of the negative tester probe and press the foil against the wire with your finger, as shown in Fig 2.
    • Fig 2: Wrapping Piece of Tinfoil Around Tip Of Negative Probe And Pressing Foil Against Wire With Finger
      G03095250Courtesy of © TOYOTA, LICENSE AGREEMENT TMS1002
    1. Turn the ignition switch ON.
    2. Turn the defogger switch ON.
    3. Measure the voltage at the center of each defogger wire, as shown in Fig 3.

      Standard: 

      STANDARD VOLTAGE CONDITIONS

      Voltage Criteria
      Approx. 5 V Wire is not broken
      Approx. 10 or 0 V Wire is broken
      Fig 3: Measuring Voltage At Center Of Each Defogger Wire
      G03095251Courtesy of © TOYOTA, LICENSE AGREEMENT TMS1002

      HINT:

      If there is approximately 10 V, the wire may be faulty between the center of the wire and the wire end on the battery side. If there is no voltage, the wire may be faulty between the center of the wire and the wire end on the ground side.

    4. Place the voltmeter positive (+) lead against the defogger wire on the battery side.
    5. Place the voltmeter negative (-) lead with the foil strip against the wire on the ground side.
    6. Slide the positive (+) lead from the battery side to the ground side.
    7. The point where the voltage drops from approximately 10 V to 0 V is where the defogger wire is broken.

      HINT:

      If the defogger wire is not broken, the voltmeter indicates 0 V at the positive (+) end of the defogger wire but gradually increases to approximately 12 V as the meter probe moves to the other end.

      Fig 4: Defective Defogger Wire Test Diagram
      G03095252Courtesy of © TOYOTA, LICENSE AGREEMENT TMS1002
    8. If necessary, repair the defogger wire.
      1. Clean the broken wire tips with grease, wax and silicone remover.
      2. Place the masking tape along both sides of the wire.
        Fig 5: Placing Masking Tape Along Both Side Of Wire
        G03095253Courtesy of © TOYOTA, LICENSE AGREEMENT TMS1002
      3. Thoroughly mix the repair agent (Dupont paste No. 4817).
      4. Using a fine tip brush, apply a small amount of the agent to the wire.
        Fig 6: Applying Small Amount Of Repair Agent To Wire
        G03095254Courtesy of © TOYOTA, LICENSE AGREEMENT TMS1002
      5. After a few minutes, remove the masking tape.
        NOTE: Do not repair the defogger wire again for at least 24 hours.
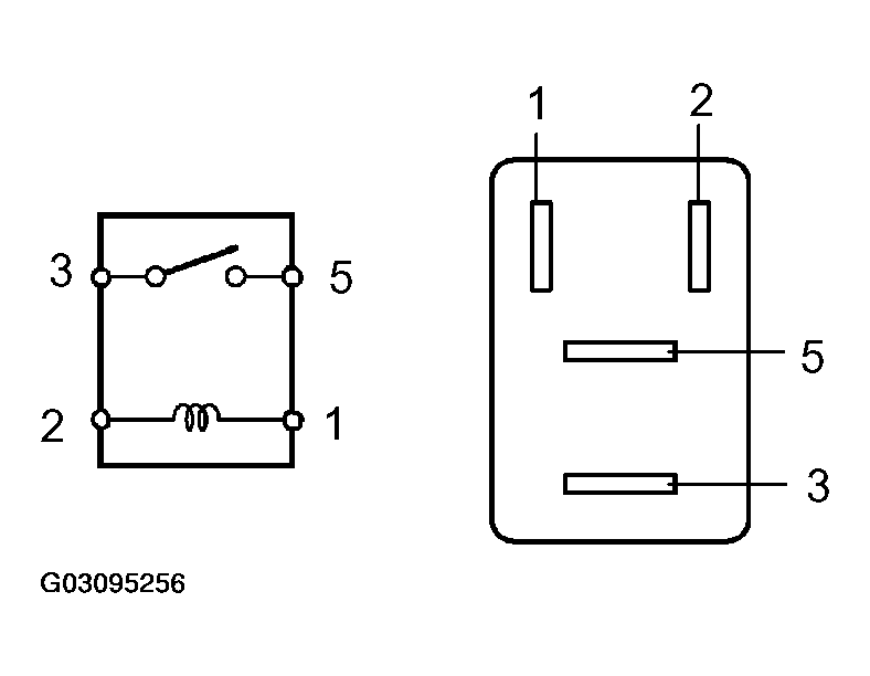
  3. INSPECT DEFOGGER RELAY 
    1. Measure the resistance.

      Standard: 

      Fig 7: Defogger Relay Standard Conditions Table
      G03095255Courtesy of © TOYOTA, LICENSE AGREEMENT TMS1002

      If the result is not as specified, replace the relay.

      Fig 8: Identifying Defogger Relay Circuit And Terminals
      G03095256Courtesy of © TOYOTA, LICENSE AGREEMENT TMS1002