lemon-mirror:
Home >> Scion >> 2005 >> xB Automatic >> Repair and Diagnosis >> Electrical >> Charging Systems >> Starting & Charging >> Generator ASSY >> Replacement

Generator ASSY: Replacement

  1. REMOVE GENERATOR ASSY 
    1. Remove the terminal cap.
    2. Remove the nut and generator wire.
      Fig 1: Removing Generator Wire
      G03095017Courtesy of © TOYOTA, LICENSE AGREEMENT TMS1002
    3. Disconnect the generator connector.
    4. Remove the wire harness clamp.
    5. Loosen bolts A and B.
      Fig 2: Loosening Bolts A And B
      G03095018Courtesy of © TOYOTA, LICENSE AGREEMENT TMS1002
    6. Release the fan and generator V-ribbed belt tension, and remove the fan and generator V-ribbed belt.
    7. Remove bolt A and the nut, then remove the fan belt adjusting bar.
      Fig 3: Removing Fan Belt Adjusting Bar
      G03095019Courtesy of © TOYOTA, LICENSE AGREEMENT TMS1002
    8. Remove bolt B and the generator.
      Fig 4: Removing Bolt B And Generator
      G03095020Courtesy of © TOYOTA, LICENSE AGREEMENT TMS1002
  2. INSTALL GENERATOR ASSY 
    1. Temporarily install the generator with bolt B.
      Fig 5: Installing Generator With Bolt B
      G03095021Courtesy of © TOYOTA, LICENSE AGREEMENT TMS1002
    2. Temporarily install the fan belt adjusting bar with bolt A, and tighten the nut to the specified torque.

      Torque: 11 N.m (112 kgf.cm, 8 ft.lbf) 

      Fig 6: Installing Fan Belt Adjusting Bar With Bolt A
      G03095022Courtesy of © TOYOTA, LICENSE AGREEMENT TMS1002
    3. Temporarily install the fan and generator V-ribbed belt onto each pulley.
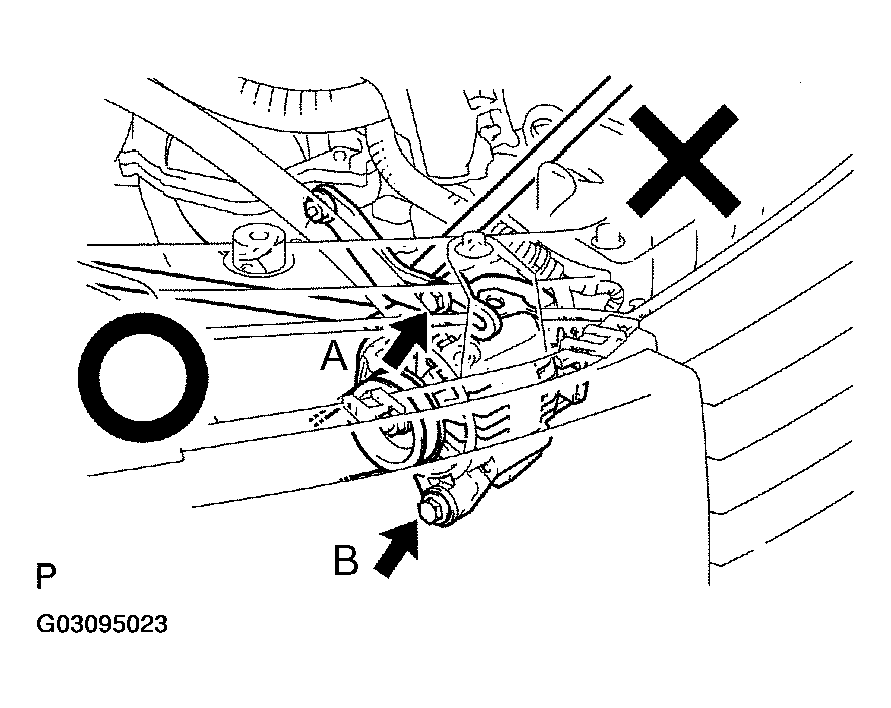
    4. Insert the adjusting bar between the engine mounting bracket and generator. Push the adjusting bar towards the vehicle front to adjust the V-ribbed belt tension.
      NOTE: Do not insert the adjusting bar between the oil control valve and generator because it could damage the oil control valve.
      Fig 7: Inserting Adjusting Bar Between Engine Mounting Bracket And Generator
      G03095023Courtesy of © TOYOTA, LICENSE AGREEMENT TMS1002
    5. First tighten bolt A, then tighten bolt B.

      Torque: 

      • 19 N.m (189 kgf.cm, 14 ft.lbf) for bolt A 
      • 54 N.m (551 kgf.cm, 40 ft.lbf) for bolt B 
    6. Install the wire harness clamp.
    7. Connect the generator connector.
    8. Install the generator wire with the nut.

      Torque: 9.8 N.m (100 kgf.cm, 7 ft.lbf) 

    9. Install the terminal cap.
  3. INSPECT DRIVE BELT (See  INSPECTION  )