lemon-mirror:
Home >> Scion >> 2006 >> tC Automatic >> Repair and Diagnosis >> Body & Frame >> Windows >> Windshield/Window Glass >> Power Window Control System >> Power Windows do not Operate at All >> Inspection Procedure

Inspection Procedure

  1. INSPECT FUSE (AM1, GAUGE, FL DOOR) 
    1. Remove the AM1, GAUGE, FL DOOR fuses from the instrument panel junction block.
    2. Measure the resistance of the fuses.

      Standard resistance: Below 1 Ω 

    NG : REPLACE FUSE 

    OK: Go To Next Step 

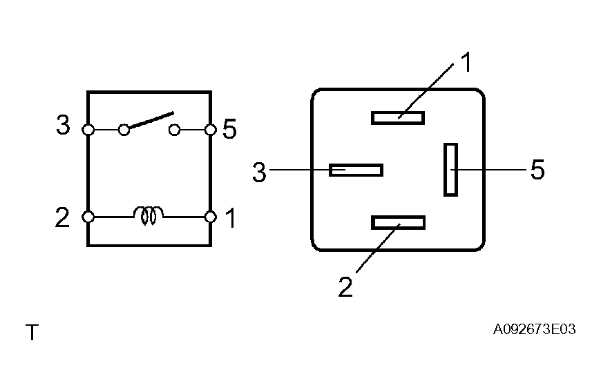
  2. INSPECT IG1 RELAY (Marking: IG1) 
    1. Remove the IG1 relay from the instrument panel junction block.
    2. Measure the resistance of the relay.

      Standard resistance 

    TESTER CONNECTION AND SPECIFIED CONDITION REFERENCE

    Tester Connection Specified Condition
    3 - 5 10 kΩ or higher
    3 - 5 Below 1 Ω
    (when battery voltage is applied to terminals 1 and 2)
    Fig 1: Removing Ig1 Relay From Instrument Panel Junction Block
    G04224448Courtesy of © TOYOTA, LICENSE AGREEMENT TMS1002

    NG : REPLACE IG1 RELAY 

    OK: Go To Next Step 

  3. CHECK WIRE HARNESS (POWER WINDOW REGULATOR MASTER SWITCH ASSEMBLY - BATTERY AND BODY GROUND) 
    1. Disconnect the P9 master switch connector.
    2. Measure the voltage and resistance of the wire harness side connector.

      Standard voltage 

      TESTER CONNECTION AND SPECIFIED CONDITION REFERENCE

      Tester Connection Condition Specified Condition
      P9-10 (B) - Body ground Always 10 to 14 V
      P9-20 (IG) - Body ground Ignition switch OFF Below 1 V
      P9-20 (IG) - Body ground Ignition switch ON 10 to 14 V
      Fig 2: Disconnecting P9 Master Switch Connector
      G04224449Courtesy of © TOYOTA, LICENSE AGREEMENT TMS1002

      Standard resistance 

      TESTER CONNECTION AND SPECIFIED CONDITION REFERENCE

      Tester Connection Specified Condition
      P9-2 (GND) - Body ground Below 1 kΩ

    NG : REPAIR OR REPLACE HARNESS AND CONNECTOR 

    OK : REPLACE POWER WINDOW REGULATOR MASTER SWITCH ASSEMBLY