lemon-mirror:
Home >> Scion >> 2006 >> xA Automatic >> Repair and Diagnosis >> Body & Frame >> Mirrors >> Mirror >> Power Mirror Control System >> System Diagram

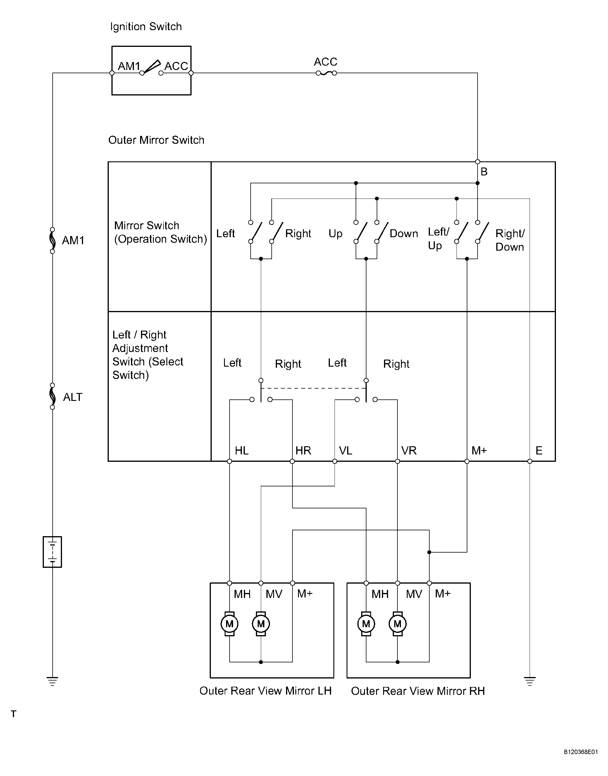
System Diagram

Fig 1: Power Mirror Control System - Wiring Diagram
G04159050Courtesy of © TOYOTA, LICENSE AGREEMENT TMS1002