lemon-mirror:
Home >> Scion >> 2006 >> xA Automatic >> Repair and Diagnosis >> Body & Frame >> Windows >> Windshield/WINDOWGLASS >> Quarter Window Glass >> Installation

Quarter Window Glass: Installation

HINT:

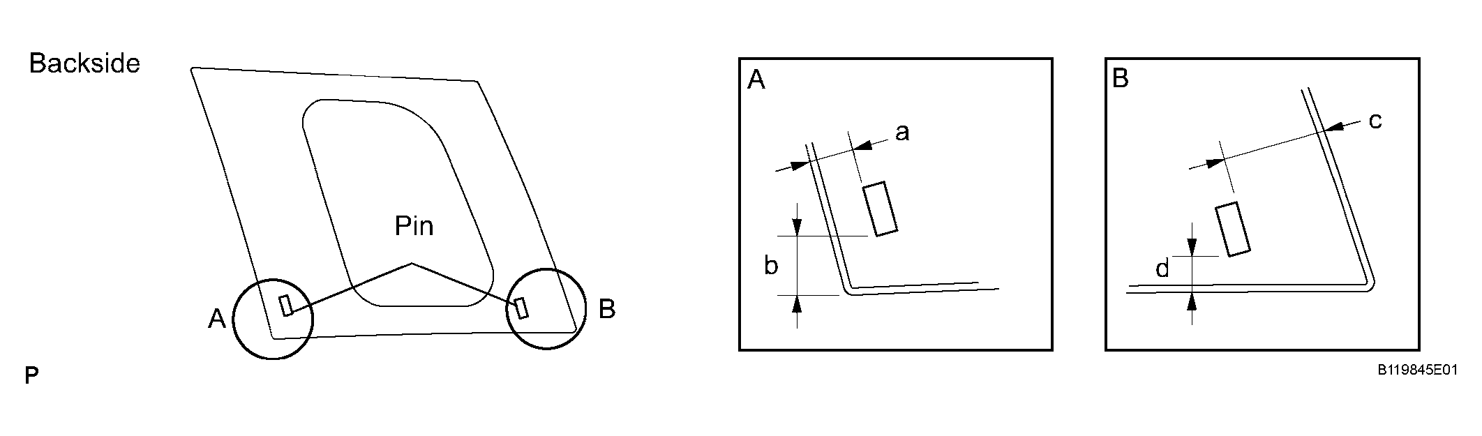
  1. INSTALL NO. 1 QUARTER WINDOW GUIDE PIECE PIN 
    1. Using a brush or sponge, apply Primer G to the installation part of the pins.
    2. Install new pins.
      NOTE:
      • Allow the primer coating to dry for 3 minutes or more.
      • Throw away any leftover Primer G.
      • Do not apply too much primer.
      Fig 1: Installing Quarter Window Guide Piece Pin
      G04159044Courtesy of © TOYOTA, LICENSE AGREEMENT TMS1002

      Standard measurement 

      MEASUREMENT SPECIFICATION

      Area Specified Condition
      a 21.5 mm (0.846 in.)
      b 29.0 mm (1.142 in.)
      c 55.8 mm (2.197 in.)
      d 18.5 mm (0.728 in.)
  2. INSTALL QUARTER WINDOW GLASS SPACER 
    1. Using a brush or sponge, apply Primer G to the installation part of the spacers.
    2. Install new spacers.
      NOTE:
      • Allow the primer coating to dry for 3 minutes or more.
      • Throw away any leftover Primer G.
      • Do not apply too much primer.
      Fig 2: Installing Quarter Window Glass Spacer
      G04159045Courtesy of © TOYOTA, LICENSE AGREEMENT TMS1002

      Standard measurement 

      MEASUREMENT SPECIFICATION

      Area Specified Condition
      a 42.7 mm (1.681 in.)
      b 16.9 mm (0.665 in.)
      c 21.3 mm (0.839 in.)
      d 26.1 mm (1.028 in.)
      e 19.1 mm (0.752 in.)
      f 32.8 mm (1.291 in.)
      g 27.4 mm (1.079 in.)
      h 42.4 mm (1.669 in.)
  3. INSTALL QUARTER WINDOW ASSEMBLY RH 
    1. Using a brush, apply Primer M to the exposed part of the vehicle body.
      Fig 3: Applying Primer M To Exposed Part Of Vehicle Body
      G04159046Courtesy of © TOYOTA, LICENSE AGREEMENT TMS1002
      NOTE:
      • Allow the primer to dry for 3 minutes or more.
      • Do not apply primer to the adhesive.
      • Throw away any leftover primer.
      • Do not apply too much primer.
    2. Using a brush or sponge, apply Primer G to the contact surface of the quarter window glass.
      Fig 4: Applying Primer G To Contact Surface Of Quarter Window Glass
      G04159047Courtesy of © TOYOTA, LICENSE AGREEMENT TMS1002

      HINT:

      If Primer G is applied to an area that is not specified, wipe off the primer with white gasoline before it dries.

      NOTE:
      • Allow the primer to dry for 3 minutes or more.
      • Throw away any leftover primer.
      • Do not apply too much primer.
    3. Apply adhesive to the quarter window glass.

      Adhesive: Part No. 08850-00801 or equivalent 

      1. Cut off the tip of the cartridge nozzle as shown in the illustration.
        Fig 5: Applying Adhesive To Quarter Window Glass
        G04159048Courtesy of © TOYOTA, LICENSE AGREEMENT TMS1002

        Standard measurement 

        MEASUREMENT SPECIFICATION

        Area Specified Condition
        a 8.0 mm (0.315 in.)
        b 12.0 mm (0.472 in.)
        c 8.0 mm (0.315 in.)
        d 13.4 mm (0.528 in.)
        e 10.0 mm (0.394 in.)
        f 10.7 mm (0.421 in.)

        HINT:

        After cutting off the tip, use all adhesive within the time written in the table below.

        Usage time frame 

        TEMPERATURE SPECIFICATION

        Temperature Usage Time Frame
        35°C (95°F) 15 minutes
        20°C (68°F) 1 hour 40 minutes
        5°C (41°F) 8 hours
      2. Load the sealer gun with the cartridge.
      3. Apply adhesive to the quarter window glass as shown in the illustration.
    4. Install the quarter window glass to the vehicle body.
      1. Hold the quarter window glass in place securely with protective tape or equivalent until the adhesive hardens.
        NOTE:
        • Allow the primer coating to dry for 3 minutes or more.
        • Check that the clips are attached to the body correctly.
        • Check the clearance between the body and glass.
      2. Lightly press the front surface of the glass to ensure a close fit.
      3. Using a scraper, remove any excess or protruding adhesive.

        HINT:

        Apply adhesive onto the glass rim.

        NOTE: Do not drive the vehicle within the time written in the table below.

        Minimum time 

        TEMPERATURE SPECIFICATION

        Temperature Minimum time prior to driving vehicle
        35°C (95°F) 1 hour 30 minutes
        20°C (68°F) 5 hours
        5°C (41°F) 24 hours
  4. INSTALL ROOF SIDE GARNISH INNER RH (See  INSTALLATION  ) 
  5. INSTALL DECK TRIM SIDE PANEL ASSEMBLY RH (See  INSTALLATION  ) 
  6. INSTALL REAR SEATBACK HINGE SUB-ASSEMBLY RH (See  REASSEMBLY  ) 
  7. INSTALL REAR SEAT 3 POINT TYPE BELT ASSEMBLY OUTER RH (See  INSPECTION  ) 
  8. INSTALL COMPARTMENT TRIM HOOK 
  9. INSTALL REAR DECK TRIM COVER (See  INSTALLATION  ) 
  10. INSTALL SPARE WHEEL COVER ASSEMBLY 
  11. INSTALL DECK FLOOR BOX RH (See  INSTALLATION  ) 
  12. INSTALL NO. 1 DECK BOARD 
  13. INSTALL TONNEAU COVER ASSEMBLY 
  14. INSTALL REAR DOOR OPENING TRIM WEATHERSTRIP RH 
  15. INSTALL REAR DOOR SCUFF PLATE RH (See  INSTALLATION  ) 
  16. INSTALL CHILD RESTRAINT SEAT ANCHOR BRACKET SUB-ASSEMBLY (See  REASSEMBLY  ) 
  17. INSTALL REAR SEAT CUSHION WITH COVER PAD SUB-ASSEMBLY (See  REASSEMBLY  ) 
  18. INSTALL REAR SEATBACK ASSEMBLY RH (See  REASSEMBLY  ) 
  19. INSTALL REAR SEATBACK ASSEMBLY LH (See  REASSEMBLY  ) 
  20. CHECK FOR LEAKS AND REPAIR 
    1. Conduct a leak test after the adhesive has completely hardened.
    2. Seal any leaks with auto glass sealer.