lemon-mirror:
Home >> Scion >> 2006 >> xA Automatic >> Repair and Diagnosis >> Transmission >> Automatic Trans >> U340E Automatic Transaxle >> Automatic Transaxle Unit >> Disassembly

Automatic Transaxle Unit: Disassembly

  1. REMOVE PARK/NEUTRAL POSITION SWITCH ASSEMBLY 
    1. Remove the nut, washer and control shaft lever.
    2. Using a screwdriver, unstake the lock nut and remove the lock washer and lock nut.
    3. Remove the 2 bolts and pull out the position switch.
      Fig 1: Removing Park/Neutral Position Switch Assembly
      G04154150Courtesy of © TOYOTA, LICENSE AGREEMENT TMS1002
  2. REMOVE TRANSMISSION REVOLUTION SENSOR 
    1. Remove the bolt and transmission revolution sensor.
      Fig 2: Removing Transmission Revolution Sensor
      G04154151Courtesy of © TOYOTA, LICENSE AGREEMENT TMS1002
  3. REMOVE OIL COOLER TUBE UNION (OUTLET) 
    1. Remove the oil cooler tube union.
    2. Remove the O-ring from the oil cooler tube union.
      Fig 3: Removing Oil Cooler Tube Union (Outlet)
      G04154152Courtesy of © TOYOTA, LICENSE AGREEMENT TMS1002
  4. REMOVE OIL COOLER TUBE UNION (INLET) 
    1. Remove the oil cooler tube union.
    2. Remove the O-ring from the oil cooler tube union.
      Fig 4: Removing Oil Cooler Tube Union (Inlet)
      G04154153Courtesy of © TOYOTA, LICENSE AGREEMENT TMS1002
  5. REMOVE NO. 1 TRANSAXLE CASE PLUG 
    1. Remove the 4 case plugs from the transaxle housing and transaxle case.
      Fig 5: Removing Case Plugs From Transaxle Housing And Transaxle Case
      G04154154Courtesy of © TOYOTA, LICENSE AGREEMENT TMS1002
    2. Remove the case plug from the transaxle case.
    3. Remove the 5 O-rings from the case plugs.
      Fig 6: Removing Case Plug
      G04154155Courtesy of © TOYOTA, LICENSE AGREEMENT TMS1002
  6. PLACE AUTOMATIC TRANSAXLE ASSEMBLY 
    NOTE: Be careful not to damage the oil seal.
    Fig 7: Identifying Automatic Transaxle Assembly Placement
    G04154156Courtesy of © TOYOTA, LICENSE AGREEMENT TMS1002
  7. REMOVE AUTOMATIC TRANSAXLE OIL PAN SUBASSEMBLY 
    1. Remove the drain plug and gasket from the oil pan.
    2. Remove the 19 bolts.
    3. Remove the oil pan and gasket.
      Fig 8: Removing Automatic Transaxle Oil Pan Subassembly
      G04154157Courtesy of © TOYOTA, LICENSE AGREEMENT TMS1002
  8. REMOVE VALVE BODY OIL STRAINER ASSEMBLY 
    1. Remove the 3 bolts and oil strainer.
      Fig 9: Removing Oil Strainer Bolts
      G04154158Courtesy of © TOYOTA, LICENSE AGREEMENT TMS1002
    2. Remove the O-ring from the oil strainer.
      Fig 10: Removing Oil Strainer O-Ring
      G04154159Courtesy of © TOYOTA, LICENSE AGREEMENT TMS1002
  9. REMOVE TRANSMISSION VALVE BODY ASSEMBLY 
    1. Disconnect the 5 solenoid connectors.
    2. Remove the bolt, lock plate and ATF temperature sensor.
    3. Remove the O-ring from the ATF temperature sensor.
      Fig 11: Removing ATF Temperature Sensor
      G04154160Courtesy of © TOYOTA, LICENSE AGREEMENT TMS1002
    4. Remove the 2 bolts, detent spring cover and detent spring.
      Fig 12: Removing Bolts, Detent Spring Cover And Detent Spring
      G04154161Courtesy of © TOYOTA, LICENSE AGREEMENT TMS1002
    5. Remove 13 bolts and valve body.
      Fig 13: Removing Valve Body Bolts
      G04154162Courtesy of © TOYOTA, LICENSE AGREEMENT TMS1002
  10. REMOVE TRANSMISSION WIRE 
    1. Remove the bolt.
    2. Remove the transmission wire from the transaxle case.
    3. Remove the O-ring from the transmission wire.
      Fig 14: Removing Transmission Wire
      G04154163Courtesy of © TOYOTA, LICENSE AGREEMENT TMS1002
  11. REMOVE TRANSAXLE CASE 2ND BRAKE GASKET 
    Fig 15: Removing Transaxle Case 2nd Brake Gasket
    G04154164Courtesy of © TOYOTA, LICENSE AGREEMENT TMS1002
  12. REMOVE TRANSAXLE CASE GASKET 
    Fig 16: Removing Transaxle Case Gasket
    G04154165Courtesy of © TOYOTA, LICENSE AGREEMENT TMS1002
  13. REMOVE BRAKE DRUM GASKET 
    Fig 17: Removing Brake Drum Gasket
    G04154166Courtesy of © TOYOTA, LICENSE AGREEMENT TMS1002
  14. REMOVE CHECK BALL BODY 
    Fig 18: Removing Check Ball Body
    G04154167Courtesy of © TOYOTA, LICENSE AGREEMENT TMS1002
  15. REMOVE B-2 ACCUMULATOR PISTON 
    1. Apply compressed air (392 kPa, 4.0 kgf/cm2 , 57 psi) to the oil hole and remove the B-2 accumulator piston and spring.

      Remove the spring.

      Fig 19: Removing B-2 Accumulator Piston
      G04154168Courtesy of © TOYOTA, LICENSE AGREEMENT TMS1002
      NOTE:
      • Blowing air may cause the piston to jump out. When removing the piston, hold it with your hand using a waste cloth.
      • Take care not to splash ATF when blowing air.
    2. Remove the 2 O-rings from the B-2 accumulator piston.
      Fig 20: Removing 2 O-Rings From B-2 Accumulator Piston
      G04154169Courtesy of © TOYOTA, LICENSE AGREEMENT TMS1002
  16. REMOVE C-3 ACCUMULATOR PISTON 
    1. Apply compressed air (392 kPa, 4.0 kgf/cm2 , 57 psi) to the oil hole and remove the C-3 accumulator piston and spring.

      Remove the spring.

      Fig 21: Removing C-3 Accumulator Piston
      G04154170Courtesy of © TOYOTA, LICENSE AGREEMENT TMS1002
      NOTE:
      • Blowing air may cause the piston to jump out. When removing the piston, hold it with your hand using a waste cloth.
      • Take care not to splash ATF when blowing air.
    2. Remove the 2 O-rings from the C-3 accumulator piston.
      Fig 22: Removing 2 O-Rings From C-3 Accumulator Piston
      G04154171Courtesy of © TOYOTA, LICENSE AGREEMENT TMS1002
  17. REMOVE C-2 ACCUMULATOR PISTON 
    1. Apply compressed air (392 kPa, 4.0 kgf/cm2 , 57 psi) to the oil hole and remove the C-2 accumulator piston and spring.

      Remove the spring.

      NOTE:
      • Blowing air may cause the piston to jump out. When removing the piston, hold it with your hand using a waste cloth.
      • Take care not to splash ATF when blowing air.
      Fig 23: Removing C-2 Accumulator Piston
      G04154172Courtesy of © TOYOTA, LICENSE AGREEMENT TMS1002
    2. Remove the 2 O-rings from the C-2 accumulator piston.
      Fig 24: Removing 2 O-Rings From C-2 Accumulator Piston
      G04154173Courtesy of © TOYOTA, LICENSE AGREEMENT TMS1002
  18. REMOVE TRANSAXLE HOUSING 
    1. Remove the 14 bolts.
    2. Tap on the circumference of the transaxle housing with a plastic-faced hammer to remove the transaxle housing from the transaxle case.
      NOTE: When removing the transaxle housing, do not accidentally remove the differential gear assembly.
      Fig 25: Removing Transaxle Housing
      G04154174Courtesy of © TOYOTA, LICENSE AGREEMENT TMS1002
  19. REMOVE BEARING LOCK PLATE 
    1. Remove the bolt.
    2. Remove the bearing lock plate.
      Fig 26: Removing Bearing Lock Plate
      G04154175Courtesy of © TOYOTA, LICENSE AGREEMENT TMS1002
  20. REMOVE DIFFERENTIAL GEAR LUBE APPLY TUBE 
    1. Remove the bolt and differential gear lube apply tube from the transaxle housing.
      Fig 27: Removing Differential Gear Lube Apply Tube
      G04154176Courtesy of © TOYOTA, LICENSE AGREEMENT TMS1002
  21. REMOVE FRONT DRIVE PINION FRONT TAPERED ROLLER BEARING (RH Side) 
    1. Using SST, remove the RH cylindrical roller bearing from the transaxle housing.

      SST 09308-10010 

  22. INSPECT INPUT SHAFT END PLAY (See  INSPECTION   ) 
    Fig 28: Removing Front Drive Pinion Front Tapered Roller Bearing (RH Side)
    G04154177Courtesy of © TOYOTA, LICENSE AGREEMENT TMS1002
  23. REMOVE OIL PUMP ASSEMBLY 
    1. Remove the 7 bolts and oil pump.
      Fig 29: Removing Oil Pump Assembly
      G04154178Courtesy of © TOYOTA, LICENSE AGREEMENT TMS1002
  24. REMOVE DIFFERENTIAL GEAR ASSEMBLY 
    1. Remove the differential gear.
      Fig 30: Removing Differential Gear Assembly
      G04154179Courtesy of © TOYOTA, LICENSE AGREEMENT TMS1002
  25. REMOVE OVERDRIVE BRAKE GASKET 
    1. Using a screwdriver, remove the 2 overdrive brake gaskets from the transaxle case.
      Fig 31: Removing Overdrive Brake Gasket
      G04154180Courtesy of © TOYOTA, LICENSE AGREEMENT TMS1002
  26. REMOVE INPUT SHAFT ASSEMBLY 
    1. Remove the input shaft from the transaxle case.
      Fig 32: Removing Input Shaft Assembly
      G04154181Courtesy of © TOYOTA, LICENSE AGREEMENT TMS1002
  27. REMOVE STATOR SHAFT THRUST NEEDLE ROLLER BEARING 
    1. Remove the thrust needle roller bearing from the input shaft.
      Fig 33: Removing Stator Shaft Thrust Needle Roller Bearing
      G04154182Courtesy of © TOYOTA, LICENSE AGREEMENT TMS1002
  28. REMOVE FORWARD CLUTCH HUB THRUST NEEDLE ROLLER BEARING 
    1. Remove the thrust needle roller bearing from the forward clutch hub.
  29. INSPECT INTERMEDIATE SHAFT ASSEMBLY (See  INSPECTION   ) 
    Fig 34: Removing Forward Clutch Hub Thrust Needle Roller Bearing
    G04154183Courtesy of © TOYOTA, LICENSE AGREEMENT TMS1002
  30. REMOVE FORWARD CLUTCH HUB SUB-ASSEMBLY 
    1. Remove the forward clutch hub from the transaxle case.
      Fig 35: Removing Forward Clutch Hub Sub-Assembly
      G04154184Courtesy of © TOYOTA, LICENSE AGREEMENT TMS1002
  31. REMOVE TRANSAXLE REAR COVER ASSEMBLY 
    1. Remove the 11 bolts.
    2. Tap on the circumference of the transaxle rear cover with a plastic-faced hammer to remove the transaxle rear cover from the transaxle case.
      Fig 36: Removing Transaxle Rear Cover Assembly
      G04154185Courtesy of © TOYOTA, LICENSE AGREEMENT TMS1002
  32. REMOVE TRANSAXLE CASE GASKET 
    1. Remove the 4 transaxle case gaskets.
      Fig 37: Removing Transaxle Case Gasket
      G04154186Courtesy of © TOYOTA, LICENSE AGREEMENT TMS1002
  33. REMOVE REAR CLUTCH DRUM THRUST NEEDLE ROLLER BEARING 
    1. Using a magnetic finger, remove the thrust needle roller bearing.
      Fig 38: Removing Rear Clutch Drum Thrust Needle Roller Bearing
      G04154187Courtesy of © TOYOTA, LICENSE AGREEMENT TMS1002
  34. REMOVE INTERMEDIATE SHAFT ASSEMBLY 
    1. Remove the intermediate shaft from the transaxle case.
      Fig 39: Removing Intermediate Shaft Assembly
      G04154188Courtesy of © TOYOTA, LICENSE AGREEMENT TMS1002
  35. REMOVE 2ND COAST AND OVERDRIVE BRAKE DISC 
    1. Remove the 2 flanges, 2 discs and 2 plates from the transaxle case.
  36. INSPECT 2ND COAST AND OVERDRIVE BRAKE DISC (See  INSPECTION   ) 
    Fig 40: Removing 2nd Coast And Overdrive Brake Disc
    G04154189Courtesy of © TOYOTA, LICENSE AGREEMENT TMS1002
  37. REMOVE THRUST NEEDLE ROLLER BEARING 
    1. Using a magnetic finger, remove the C-2 hub thrust bearing race, thrust needle roller bearing and No. 3 thrust bearing race from the direct clutch hub.
      Fig 41: Removing Thrust Needle Roller Bearing
      G04154190Courtesy of © TOYOTA, LICENSE AGREEMENT TMS1002
  38. REMOVE DIRECT CLUTCH HUB 
    1. Remove the direct clutch hub from the transaxle case.
      Fig 42: Removing Direct Clutch Hub
      G04154191Courtesy of © TOYOTA, LICENSE AGREEMENT TMS1002
  39. REMOVE REAR PLANETARY SUN GEAR, NO. 2 THRUST NEEDLE BEARING 
    1. Using a magnetic finger, remove the thrust bearing from the rear thrust needle bearing.
      Fig 43: Removing Rear Planetary Sun Gear, No. 2 Thrust Needle Bearing
      G04154192Courtesy of © TOYOTA, LICENSE AGREEMENT TMS1002
  40. REMOVE REAR PLANETARY SUN GEAR ASSEMBLY 
    1. Remove the rear planetary sun gear from the transaxle case.
      Fig 44: Removing Rear Planetary Sun Gear Assembly
      G04154193Courtesy of © TOYOTA, LICENSE AGREEMENT TMS1002
  41. REMOVE REAR PLANETARY SUN GEAR THRUST NEEDLE ROLLER BEARING 
    1. Remove the rear planetary sun gear thrust needle roller bearing and No. 1 thrust washer from the rear planetary sun gear.
  42. INSPECT 1-WAY CLUTCH ASSEMBLY (See  INSPECTION   ) 
    Fig 45: Removing Rear Planetary Sun Gear Thrust Needle Roller Bearing
    G04154194Courtesy of © TOYOTA, LICENSE AGREEMENT TMS1002
  43. REMOVE 1-WAY CLUTCH ASSEMBLY 
    1. Remove the 1-way clutch and planetary carrier No. 2 thrust washer from the rear planetary sun gear.
      Fig 46: Removing 1-Way Clutch Assembly
      G04154195Courtesy of © TOYOTA, LICENSE AGREEMENT TMS1002
  44. REMOVE 2ND COAST AND OVERDRIVE BRAKE FLANGE HOLE SNAP RING 
    1. Using a screwdriver, remove the snap ring from the transaxle case.
      Fig 47: Removing 2nd Coast And Overdrive Brake Flange Hole Snap Ring
      G04154196Courtesy of © TOYOTA, LICENSE AGREEMENT TMS1002
  45. REMOVE 2ND BRAKE DISC 
    1. Using a screwdriver, remove the snap ring.
    2. Remove the flange, 3 discs and 3 plates from the transaxle.
  46. INSPECT 2ND BRAKE DISC (See  INSPECTION   ) 
    Fig 48: Removing 2nd Brake Disc
    G04154197Courtesy of © TOYOTA, LICENSE AGREEMENT TMS1002
  47. REMOVE 2ND BRAKE PISTON SLEEVE 
    1. Remove the 2nd brake piston sleeve from the transaxle case.
  48. INSPECT NO. 2 1-WAY CLUTCH (See  INSPECTION  ) 
    Fig 49: Removing 2nd Brake Piston Sleeve
    G04154198Courtesy of © TOYOTA, LICENSE AGREEMENT TMS1002
  49. REMOVE REAR PLANETARY GEAR ASSEMBLY 
    1. Using a screwdriver, remove the snap ring.
    2. Remove the rear planetary gear from the transaxle case.
      Fig 50: Removing Rear Planetary Gear Assembly
      G04154199Courtesy of © TOYOTA, LICENSE AGREEMENT TMS1002
  50. REMOVE PLANETARY GEAR REAR THRUST NEEDLE ROLLER BEARING 
    1. Remove the thrust needle roller bearing and 2 bearing races from the rear planetary gear.
      Fig 51: Removing Planetary Gear Rear Thrust Needle Roller Bearing
      G04154200Courtesy of © TOYOTA, LICENSE AGREEMENT TMS1002
  51. REMOVE NO. 2 1-WAY CLUTCH 
    1. Separate the 2nd brake piston assembly, No. 2 1-way clutch and rear planetary gear.
      Fig 52: Removing No. 2 1-Way Clutch
      G04154201Courtesy of © TOYOTA, LICENSE AGREEMENT TMS1002
  52. REMOVE OUTER RACE RETAINER 
    1. Remove the retainer from the No. 2 1-way clutch.
      Fig 53: Removing Outer Race Retainer
      G04154202Courtesy of © TOYOTA, LICENSE AGREEMENT TMS1002
  53. REMOVE FRONT PLANETARY SUN GEAR 
    1. Remove the front planetary sun gear and thrust needle roller bearing from the transaxle case.
      Fig 54: Removing Front Planetary Sun Gear
      G04154203Courtesy of © TOYOTA, LICENSE AGREEMENT TMS1002
  54. REMOVE 1ST AND REVERSE BRAKE DISC 
    1. Using a screwdriver, remove the snap ring.
    2. Remove the flange, 4 discs and 4 plates from the transaxle case.
  55. INSPECT 1ST AND REVERSE BRAKE DISC (See  INSPECTION  ) 
    Fig 55: Removing 1st And Reverse Brake Disc
    G04154204Courtesy of © TOYOTA, LICENSE AGREEMENT TMS1002
  56. REMOVE 1ST AND REVERSE BRAKE RETURN SPRING SUB-ASSEMBLY 
    1. Using SST, a press and screwdriver, remove the snap ring.

      SST 09387-00070 

    2. Remove the 1st and reverse brake return spring sub-assembly.
  57. INSPECT 1ST AND REVERSE BRAKE RETURN SPRING SUB-ASSEMBLY (See  INSPECTION  ) 
    Fig 56: Removing 1st And Reverse Brake Return Spring Sub-Assembly
    G04154205Courtesy of © TOYOTA, LICENSE AGREEMENT TMS1002
  58. REMOVE 1ST AND NO. 2 REVERSE BRAKE PISTON 
    1. Apply compressed air (392 kPa, 4.0 kgf/cm2 , 57 psi) to the transaxle case to remove the 1st and reverse brake piston.
      NOTE:
      • Blowing air may cause the piston to jump out. When removing the piston, hold it with your hand using a waste cloth.
      • Take care not to splash ATF when blowing air.
        Fig 57: Removing 1st And No. 2 Reverse Brake Piston
        G04154206Courtesy of © TOYOTA, LICENSE AGREEMENT TMS1002
  59. REMOVE 1ST AND NO. 2 REVERSE BRAKE PISTON O-RING 
    1. Remove the 2 O-rings from the 1st and No. 2 reverse brake piston.
      Fig 58: Removing 1st And No. 2 Reverse Brake Piston O-Ring
      G04154207Courtesy of © TOYOTA, LICENSE AGREEMENT TMS1002
  60. REMOVE COUNTER DRIVE GEAR NUT 
    1. Fix the counter driven gear with the parking lock pawl.
      Fig 59: Fixing Counter Driven Gear With Parking Lock Pawl
      G04154208Courtesy of © TOYOTA, LICENSE AGREEMENT TMS1002
    2. Using SST and a hammer, unstake the lock washer.

      SST 09930-00010 

      Fig 60: Unstaking Lock Washer
      G04154209Courtesy of © TOYOTA, LICENSE AGREEMENT TMS1002
    3. Using SST, remove the nut and lock washer.

      SST 09387-00120 

      Fig 61: Removing Lock Washer
      G04154210Courtesy of © TOYOTA, LICENSE AGREEMENT TMS1002
  61. REMOVE PLANETARY GEAR ASSEMBLY 
    1. Using SST and a press, press out the planetary gear from the transaxle case.

      SST 09950-60010 (09951-00400, 09951-00320, 09952-06010), 09950-70010 (09951-07100) 

      Fig 62: Removing Planetary Gear Assembly
      G04154211Courtesy of © TOYOTA, LICENSE AGREEMENT TMS1002
  62. REMOVE COUNTER DRIVE GEAR 
    1. Install the 2 bolts to the counter drive gear.

      Bolt (M6): 

      Length = 40 to 80 mm 

      Pitch = 1.0 mm 

    2. Rotate the 2 bolts in order and remove the counter drive gear and front planetary sun gear.
    3. Remove the 2 radial ball bearings from the counter drive gear and front planetary sun gear.
      Fig 63: Removing Counter Drive Gear
      G04154212Courtesy of © TOYOTA, LICENSE AGREEMENT TMS1002
  63. REMOVE PARKING LOCK PAWL BRACKET 
    1. Remove the 3 bolts, cam guide and bracket.
      Fig 64: Removing Parking Lock Pawl Bracket
      G04154213Courtesy of © TOYOTA, LICENSE AGREEMENT TMS1002
  64. REMOVE MANUAL VALVE LEVER SHAFT RETAINER SPRING 
    1. Remove the retainer spring.
      Fig 65: Removing Manual Valve Lever Shaft Retainer Spring
      G04154214Courtesy of © TOYOTA, LICENSE AGREEMENT TMS1002
  65. REMOVE MANUAL VALVE LEVER SUB-ASSEMBLY 
    1. Using a screwdriver, unstake and remove the spacer.
      Fig 66: Removing Spacer
      G04154215Courtesy of © TOYOTA, LICENSE AGREEMENT TMS1002
    2. Using a pin punch and hammer, tap out the pin.
    3. Remove the manual valve lever shaft and manual valve lever.
      Fig 67: Tapping Out Pin
      G04154216Courtesy of © TOYOTA, LICENSE AGREEMENT TMS1002
  66. REMOVE PARKING LOCK ROD SUB-ASSEMBLY 
    1. Remove the parking lock rod from the manual valve lever.
      Fig 68: Removing Parking Lock Rod Sub-Assembly
      G04154217Courtesy of © TOYOTA, LICENSE AGREEMENT TMS1002
  67. REMOVE MANUAL VALVE LEVER SHAFT 
    1. Remove the manual valve lever shaft from the transaxle case.
      Fig 69: Removing Manual Valve Lever Shaft
      G04154218Courtesy of © TOYOTA, LICENSE AGREEMENT TMS1002
  68. REMOVE PARKING LOCK PAWL 
    1. Using a screwdriver, remove the parking lock pawl shaft.
    2. Remove the torsion spring and parking lock pawl.
      Fig 70: Removing Parking Lock Pawl
      G04154219Courtesy of © TOYOTA, LICENSE AGREEMENT TMS1002
  69. REMOVE COUNTER DRIVEN GEAR 
    1. Remove the counter driven gear, drive pinion and thrust needle roller bearing from the transaxle case.
      Fig 71: Removing Counter Driven Gear
      G04154220Courtesy of © TOYOTA, LICENSE AGREEMENT TMS1002
  70. REMOVE MANUAL VALVE LEVER SHAFT OIL SEAL 
    1. Using a screwdriver, pry out the oil seal.
      Fig 72: Removing Manual Valve Lever Shaft Oil Seal
      G04154221Courtesy of © TOYOTA, LICENSE AGREEMENT TMS1002
  71. REMOVE COUNTER DRIVE GEAR BEARING 
    1. Remove the 2 counter drive gear bearing inner races RH from the transaxle case.
    2. Using SST, remove the counter drive gear bearing LH outer race from the transaxle case.

      SST 09308-00010 

      Fig 73: Removing Counter Drive Gear Bearing LH Outer Race From Transaxle Case
      G04154222Courtesy of © TOYOTA, LICENSE AGREEMENT TMS1002
    3. Using SST, remove the counter drive gear bearing RH outer race from the transaxle case.

      SST 09308-00010 

      Fig 74: Removing Counter Drive Gear Bearing RH Outer Race From Transaxle Case
      G04154223Courtesy of © TOYOTA, LICENSE AGREEMENT TMS1002
  72. REMOVE COUNTER DRIVE GEAR HOLE SNAP RING 
    1. Using a screwdriver, remove the counter drive gear hole snap ring from the transaxle case.
      Fig 75: Removing Counter Drive Gear Hole Snap Ring
      G04154224Courtesy of © TOYOTA, LICENSE AGREEMENT TMS1002
  73. REMOVE BREATHER PLUG HOSE 
    Fig 76: Removing Breather Plug Hose
    G04154225Courtesy of © TOYOTA, LICENSE AGREEMENT TMS1002
  74. REMOVE FRONT DRIVE PINION REAR TAPERED ROLLER BEARING (for LH Side) 
    1. Using SST, remove the drive pinion roller bearing from the transaxle case.

      SST 09612-65014 (09612-01040) 

    2. Remove the No. 1 transaxle case plate.
      Fig 77: Removing Front Drive Pinion Rear Tapered Roller Bearing (For LH Side)
      G04154226Courtesy of © TOYOTA, LICENSE AGREEMENT TMS1002
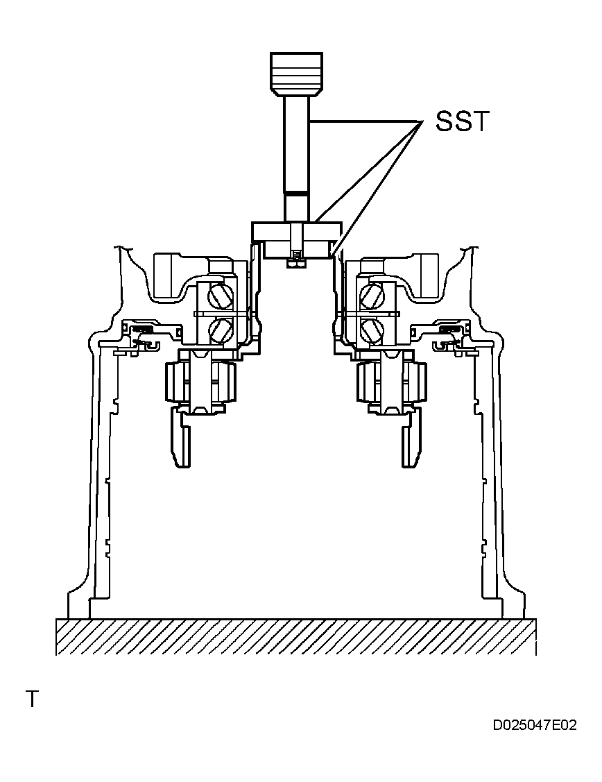
  75. REMOVE FRONT DIFFERENTIAL CASE FRONT TAPERED ROLLER BEARING 
    1. Using SST, remove the front differential case front tapered roller bearing from the differential case.

      SST 09950-40011 (09951-04010, 09952-04010, 09953-04030, 09954-04010, 09955-04061, 09957-04010, 09958-04011), 09950-60010 (09951-00390) 

      Fig 78: Removing Front Differential Case Front Tapered Roller Bearing
      G04154227Courtesy of © TOYOTA, LICENSE AGREEMENT TMS1002
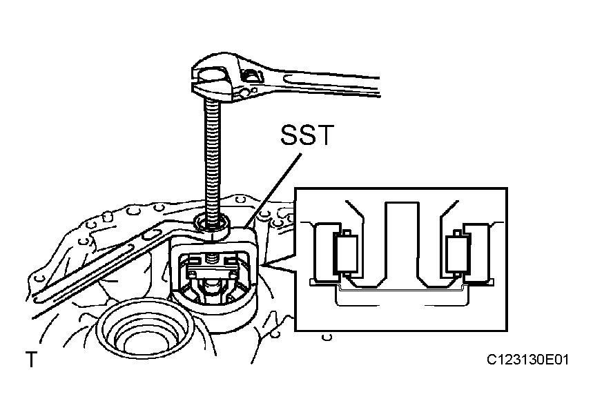
    2. Using SST, remove the front differential case tapered roller bearing outer race from the transaxle housing.

      SST 09387-00041 (09387-02020, 09387-02010) 

      Fig 79: Removing Front Differential Case Tapered Roller Bearing Outer Race From Transaxle Housing
      G04154228Courtesy of © TOYOTA, LICENSE AGREEMENT TMS1002
  76. REMOVE FRONT DIFFERENTIAL CASE REAR TAPERED ROLLER BEARING 
    1. Using SST, remove the front differential case rear tapered roller bearing from the differential case.

      SST 09950-40011 (09951-04010, 09952-04010, 09953-04020, 09954-04010, 09955-04061, 09957-04010, 09958-04011), 09950-60010 (09951-00430) 

      Fig 80: Removing Front Differential Case Rear Tapered Roller Bearing From Differential Case
      G04154229Courtesy of © TOYOTA, LICENSE AGREEMENT TMS1002
    2. Using SST, remove the front differential case tapered roller bearing outer race from the transaxle housing.

      SST 09612-65014 (09612-01010) 

      Fig 81: Removing Front Differential Case Tapered Roller Bearing Outer Race From Transaxle Housing
      G04154230Courtesy of © TOYOTA, LICENSE AGREEMENT TMS1002
  77. REMOVE FRONT TRANSAXLE CASE OIL SEAL 
    1. Using SST and a hammer, tap out the oil seal from the transaxle case.

      SST 09950-60010 (09951-00550), 09950-70010 (09951-07100) 

      Fig 82: Removing Front Transaxle Case Oil Seal
      G04154231Courtesy of © TOYOTA, LICENSE AGREEMENT TMS1002
  78. REMOVE TRANSAXLE CASE OIL SEAL 
    1. Using SST and a hammer, tap out the transaxle case oil seal from the transaxle housing.

      SST 09950-60010 (09951-00530), 09950-70010 (09951-07100) 

      Fig 83: Removing Transaxle Case Oil Seal
      G04154232Courtesy of © TOYOTA, LICENSE AGREEMENT TMS1002