lemon-mirror:
Home >> Scion >> 2006 >> xB Automatic >> Repair and Diagnosis >> Body & Frame >> Windows >> Windshield/Window Glass >> Quarter Window Glass >> Installation

Quarter Window Glass: Installation

HINT:

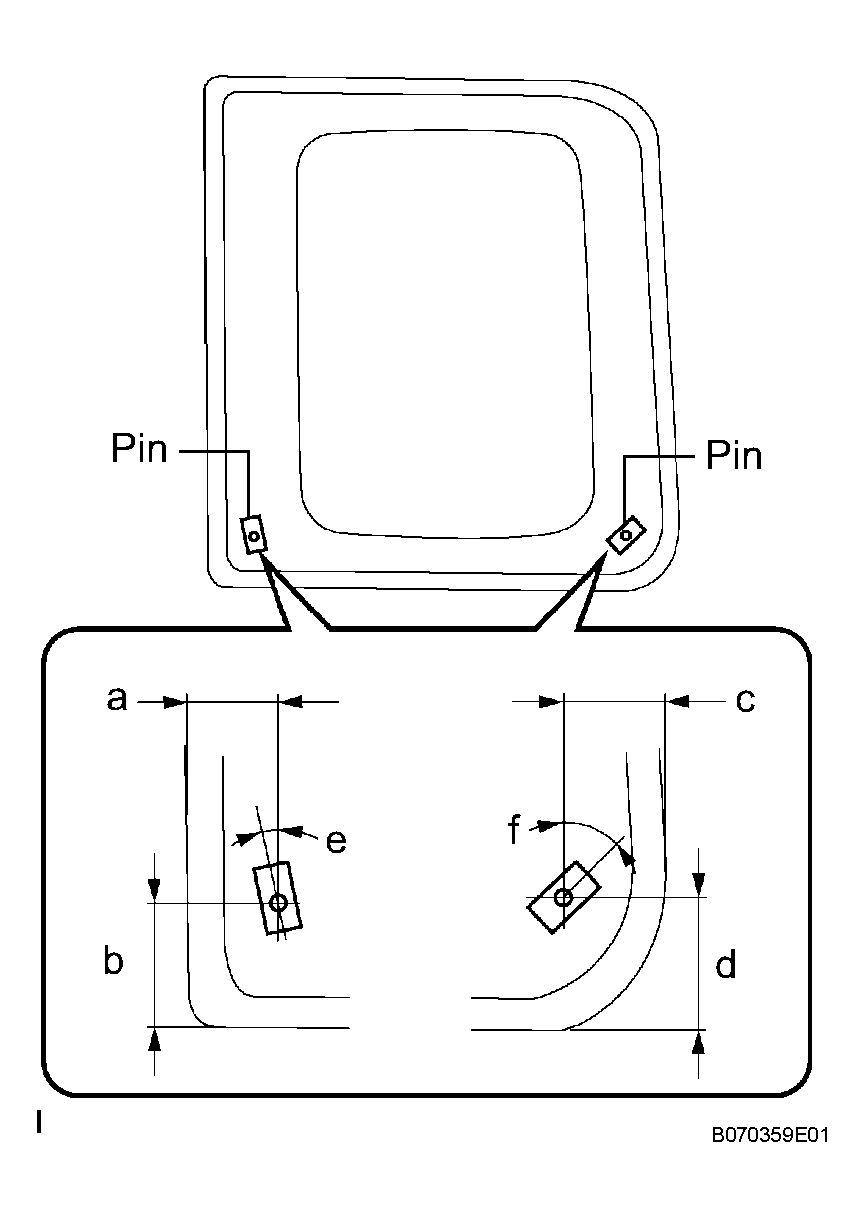
  1. INSTALL NO. 1 QUARTER WINDOW GUIDE PIECE PIN 
    1. Using a brush or sponge, apply Primer G to the installation part of the pins.
    2. Install new pins.
      NOTE:
      • Allow the primer coating to dry for 3 minutes or more.
      • Throw away any leftover primer.
      • Do not apply too much primer.

      Standard measurement 

      STANDARD MEASUREMENT

      Area Specified Condition
      a 40.0 mm (1.575 in.)
      b 40.0 mm (1.575 in.)
      c 37.0 mm (1.457 in.)
      d 42.0 mm (1.654 in.)
      e 11°
      f 46.4°
      Fig 1: Installing Pins
      G04229471Courtesy of © TOYOTA, LICENSE AGREEMENT TMS1002
  2. INSTALL QUARTER WINDOW GLASS SPACER 
    1. Using a brush or sponge, apply Primer G to the installation part of the spacers.
    2. Install new spacers.
      NOTE:
      • Allow the primer coating to dry for 3 minutes or more.
      • Throw away any leftover primer.
      • Do not apply too much primer.

      Standard measurement 

      STANDARD MEASUREMENT

      Area Specified Condition
      a 41.0 mm (1.614 in.)
      b 19.0 mm (0.748 in.)
      c 20.0 mm (0.787 in.)
      d 45.0 mm (1.772 in.)
      e 28.0 mm (1.102 in.)
      f 23.0 mm (0.906 in.)
      g 63.0 mm (2.480 in.)
      h 21.0 mm (0.827 in.)
      i
      j 31°
      Fig 2: Installing Quarter Window Glass Spacer
      G04229472Courtesy of © TOYOTA, LICENSE AGREEMENT TMS1002
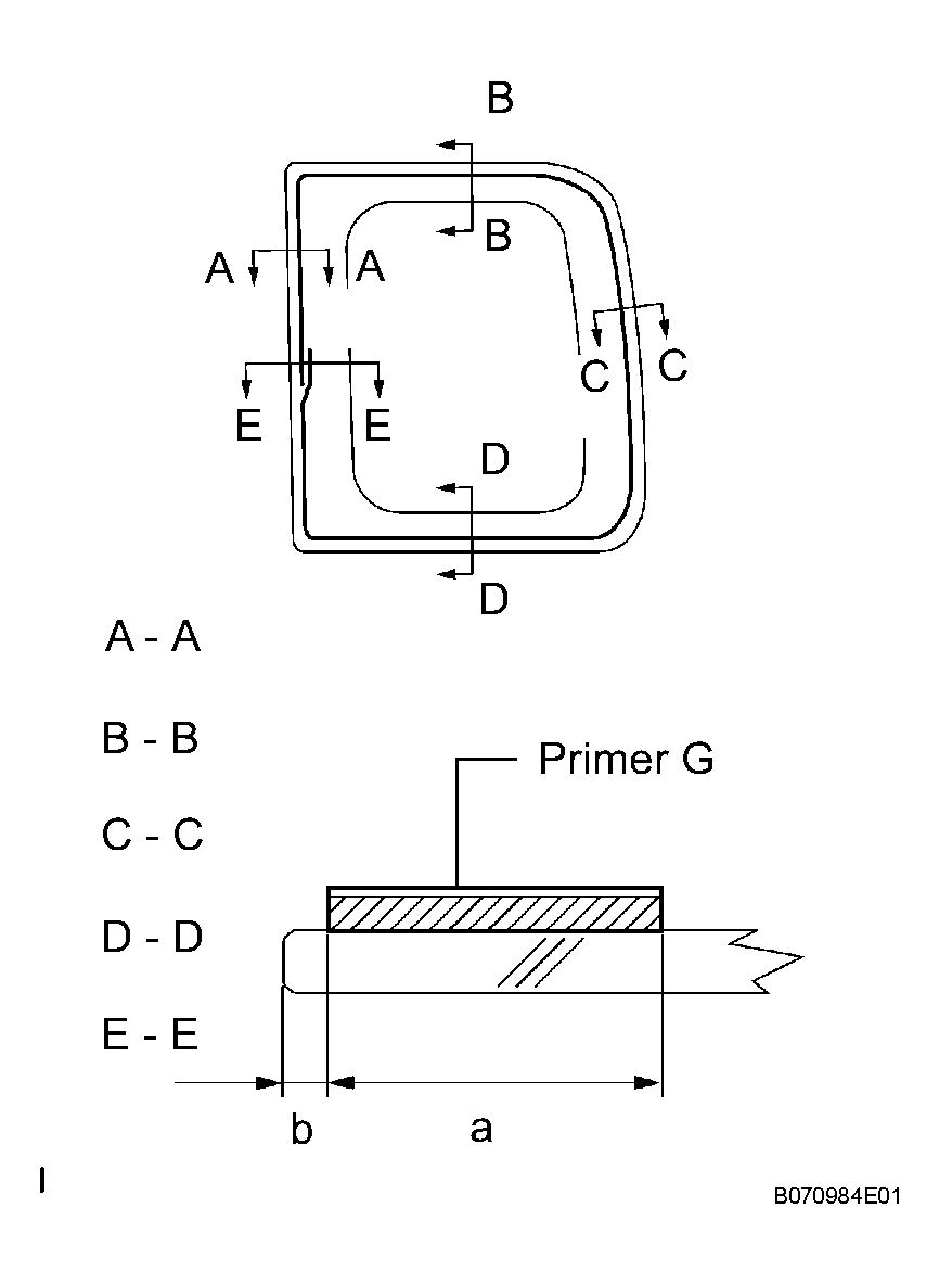
  3. INSTALL QUARTER WINDOW ASSEMBLY RH 
    Fig 3: Installing Quarter Window Assembly RH
    G04229473Courtesy of © TOYOTA, LICENSE AGREEMENT TMS1002
    1. Using a brush, apply Primer M to the exposed part of the vehicle body.
      NOTE:
      • Allow the primer to dry for 3 minutes or more.
      • Do not apply primer to the adhesive.
      • Throw away any leftover primer.
      • Do not apply too much primer.
    2. Using a brush or sponge, apply Primer G to the contact surface of the quarter window glass.

      Standard measurement 

      STANDARD MEASUREMENT

      Item Specified Condition
      A - A a 14.0 mm (0.551 in.)
      b 8.6 mm (0.338 in.)
      B - B a 14.0 mm (0.551 in.)
      b 5.0 mm (0.197 in.)
      C - C
      D - D
      a 14.0 mm (0.551 in.)
      b 6.0 mm (0.236 in.)
      E - E a 22.0 mm (0.866 in.)
      b 8.6 mm (0.339 in.)
      Fig 4: Identifying Premier Application Area
      G04229474Courtesy of © TOYOTA, LICENSE AGREEMENT TMS1002

      HINT:

      If primer is applied to an area that is specified, wipe off the primer with white gasoline before it dries.

      NOTE:
      • Allow the primer to dry for 3 minutes or more.
      • Throw away any leftover primer.
      • Do not apply too much primer.
    3. Apply adhesive to the quarter window glass.

      Adhesive: 

      Part No. 08850-00801 or equivalent 

      1. Cut off the tip of the cartridge nozzle as shown in the illustration.

        Standard measurement 

        STANDARD MEASUREMENT

        Area Specified Condition
        a 8.0 mm (0.315 in.)
        b 12.0 mm (0.472 in.)
        c 13.0 mm (0.512 in.)
        d 12.0 mm (0.472 in.)
        e 13.0 mm (0.512 in.)
        f 15.5 mm (0.610 in.)

        HINT:

        After cutting off the tip, use all adhesive within the time written in the table below.

        Usage time frame 

        USAGE TIME FRAME

        Temperature Usage Time Frame
        35°C (95°F) 15 minutes
        20°C (68°F) 1 hour 40 minutes
        5°C (41°F) 8 hours
      2. Load the sealer gun with the cartridge.
      3. Apply adhesive to the quarter window glass as shown in the illustration.
    4. Install the quarter window glass to the vehicle body.
      1. Hold the quarter window glass in place securely with protective tape or equivalent until the adhesive hardens.
        NOTE:
        • Allow the primer coating to dry for 3 minutes or more.
        • Check that the guide piece pins are attached to the body correctly.
        • Check the clearance between the body and glass.
          Fig 5: Applying Adhesive To Quarter Window Glass
          G04229475Courtesy of © TOYOTA, LICENSE AGREEMENT TMS1002
      2. Lightly press the front surface of the glass to ensure a close fit.
      3. Using a scraper, remove any excess or protruding adhesive.

        HINT:

        Apply adhesive onto the glass rim.

        NOTE: Do not drive the vehicle within the time written in the table below.

        Minimum time 

        TIME REFERENCE

        Temperature Minimum time prior to driving vehicle
        35°C (95°F) 1 hour 30 minutes
        20°C (68°F) 5 hours
        5°C (41°F) 24 hours
        Fig 6: Removing Excess Protruding Adhesive
        G04229476Courtesy of © TOYOTA, LICENSE AGREEMENT TMS1002
  4. INSTALL ROOF SIDE GARNISH INNER RH (See  INSTALLATION  ) 
  5. INSTALL DECK TRIM SIDE PANEL ASSEMBLY RH (See  INSTALLATION  ) 
  6. INSTALL REAR SEAT 3 POINT TYPE BELT ASSEMBLY OUTER RH (See  INSTALLATION  ) 
  7. INSTALL REAR DECK TRIM COVER (See  INSTALLATION  ) 
  8. INSTALL BACK DOOR WEATHERSTRIP 
  9. INSTALL DECK FLOOR BOX LH 
  10. INSTALL DECK FLOOR BOX RH 
  11. INSTALL NO. 1 DECK BOARD 
  12. INSTALL NO. 2 DECK BOARD 
  13. INSTALL REAR DOOR OPENING TRIM WEATHERSTRIP RH 
  14. INSTALL REAR DOOR SCUFF PLATE RH (See  INSTALLATION  ) 
  15. INSTALL REAR SEATBACK HINGE SUB-ASSEMBLY RH (See  REASSEMBLY  ) 
  16. INSTALL CHILD RESTRAINT SEAT ANCHOR BRACKET SUB-ASSEMBLY (See  REASSEMBLY  ) 
  17. INSTALL REAR SEAT CUSHION WITH COVER PAD SUB-ASSEMBLY (See  INSTALLATION  ) 
  18. INSTALL REAR SEATBACK ASSEMBLY RH (See  INSTALLATION  ) 
  19. INSTALL REAR SEATBACK ASSEMBLY LH (See  INSTALLATION  ) 
  20. CHECK FOR LEAKS AND REPAIR 
    1. Conduct a leak test after the adhesive has completely hardened.
    2. Seal any leaks with auto glass sealer.