lemon-mirror:
Home >> Scion >> 2006 >> xB Automatic >> Repair and Diagnosis >> Body & Frame >> Windows >> Windshield/Window Glass >> Window Defogger System >> System Diagram

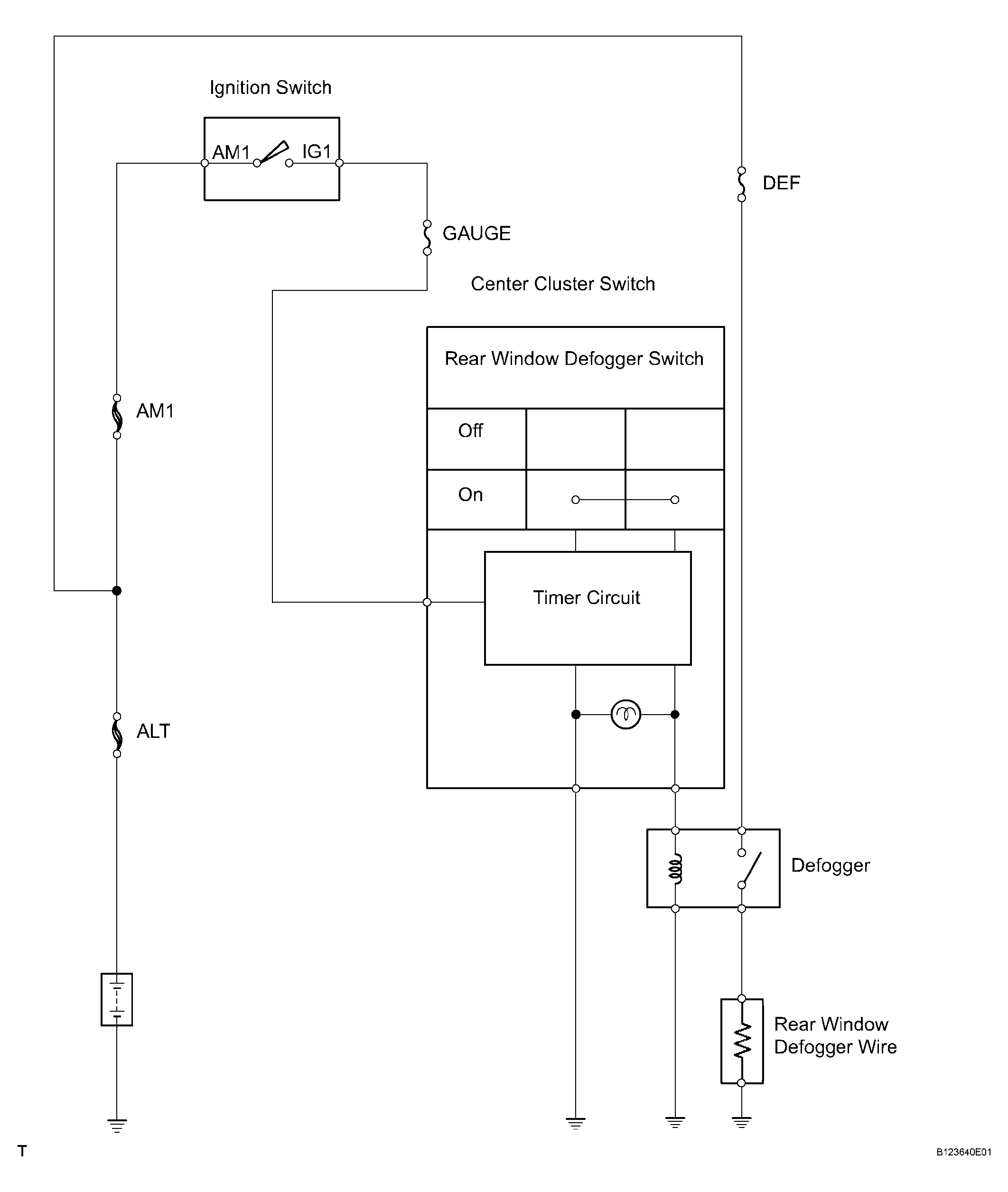
System Diagram

Fig 1: Window Defogger System Diagram
G04229454Courtesy of © TOYOTA, LICENSE AGREEMENT TMS1002