lemon-mirror:
Home >> Scion >> 2006 >> xB Automatic >> Repair and Diagnosis >> Body & Frame >> Windows >> Windshield/Window Glass >> Windshield Glass >> Installation

Windshield Glass: Installation

HINT:

A bolt without a torque specification is shown in the standard bolt chart (see SPECIFIED TORQUE FOR STANDARD BOLTS ).

  1. CLEAN WINDSHIELD GLASS 
    1. Using a scraper, remove the damaged stoppers, dams and adhesive sticking to the glass.
    2. Clean the outer edges of the glass with white gasoline.
      NOTE: Do not touch the glass surface after cleaning it. Even if using new glass, clean it with white gasoline.
      Fig 1: Removing Dams And Adhesive Sticking To Glass
      G04229429Courtesy of © TOYOTA, LICENSE AGREEMENT TMS1002
  2. CLEAN VEHICLE BODY 
    1. Clean and shape the contact surface of the vehicle body.
      1. On the contact surface of the vehicle body, use a knife to cut away excess adhesive as shown in the illustration.

        HINT:

        Leave as much adhesive on the vehicle body as possible.

        NOTE: Be careful not to damage the vehicle body.
        Fig 2: Identifying Adhesive Application Area
        G04229430Courtesy of © TOYOTA, LICENSE AGREEMENT TMS1002
    2. Clean the contact surface of the vehicle body with cleaner.

      HINT:

      Even if all the adhesive has been removed, clean the vehicle body.

  3. INSTALL NO. 2 WINDSHIELD GLASS STOPPER 
    1. Apply Primer G to the installation part of the stoppers.

      HINT:

      If primer is applied to an area that is not is specified, wipe off the primer with white gasoline before it dries.

      NOTE:
      • Allow the primer to dry for 3 minutes or more.
      • Throw away any leftover primer.
      • Do not apply too much primer.
    2. Install 2 new stoppers onto the windshield glass as shown in the illustration.

      Standard measurement 

      STANDARD MEASUREMENT

      Area Specified Condition
      a 40.0 mm (1.575 in.)
      b 9.0 mm (0.354 in.)
      Fig 3: Installing No 2 Windshield Glass Stopper
      G04229431Courtesy of © TOYOTA, LICENSE AGREEMENT TMS1002
  4. INSTALL NO. 1 WINDSHIELD GLASS STOPPER 
    1. Install 2 new stoppers to the vehicle body as shown in the illustration.
      Fig 4: Installing Stoppers To Vehicle Body
      G04229432Courtesy of © TOYOTA, LICENSE AGREEMENT TMS1002
  5. INSTALL WINDSHIELD GLASS ADHESIVE DAM 
    1. Apply Primer G to the glass where the glass adhesive dams will be installed.

      HINT:

      If primer is applied to an area that is not specified, wipe off the primer with white gasoline before it dries.

      NOTE:
      • Allow the primer to dry for 3 minutes or more.
      • Throw away any leftover primer.
      • Do not apply too much primer.
    2. Remove the peeling paper from the adhesive part of the dam. Install the dam (adhesive side) to the window glass (Primer G area), but exclude the stopper areas.

      Standard measurement 

      STANDARD MEASUREMENT

      Area Specified Condition
      a 7.0 mm (0.276 in.)
      b 23.5 mm (0.925 in.)
  6. INSTALL WINDSHIELD MOULDING OUTSIDE 
    1. Using a brush or sponge, apply Primer G to the contact surface of the windshield glass.

      HINT:

      If primer is applied to an area that is not specified, wipe off the primer with white gasoline before it dries.

      NOTE:
      • Allow the primer to dry for 3 minutes or more.
      • Throw away any leftover primer.
      • Do not apply too much primer.
        Fig 5: Installing Windshield Moulding Outside
        G04229433Courtesy of © TOYOTA, LICENSE AGREEMENT TMS1002
    2. Install a new windshield moulding.
  7. INSTALL WINDSHIELD GLASS 
    1. Position the glass.
      1. Using suction cups, place the glass in the correct position.
      2. Check that the entire contact surface of the glass rim is perfectly even.
      3. Place matchmarks on the glass and vehicle body on the locations indicated in the illustration.

        HINT:

        • Placing matchmarks is only necessary when installing new glass. If it is the reused glass, matchmarks should already be present.
          Fig 6: Placing Glass In Correct Position Using Suction Cups
          G04229434Courtesy of © TOYOTA, LICENSE AGREEMENT TMS1002
        • When reusing the glass, check and correct the matchmark positions.
        NOTE: Check that the stoppers are attached to the vehicle body correctly.
      4. Using suction cups, remove the glass.
    2. Using a brush, apply Primer M to the exposed part of the vehicle body.
      NOTE:
      • Allow the primer to dry for 3 minutes or more.
      • Do not apply primer to the adhesive.
      • Throw away any leftover primer.
      • Do not apply too much primer.
        Fig 7: Applying Primer M To Exposed Part Of Vehicle Body
        G04229435Courtesy of © TOYOTA, LICENSE AGREEMENT TMS1002
    3. Using a brush or sponge, apply Primer G to the contact surface of the glass.

      Standard measurement 

      STANDARD MEASUREMENT

      Area Specified Condition
      a 7.0 mm (0.276 in.)
      b 23.5 mm (0.925 in.)

      HINT:

      If the primer is applied to an area that is not specified, apply white gasoline to a clean cloth and wipe off the excess primer.

      NOTE:
      • Allow the primer to dry for 3 minutes or more.
      • Throw away any leftover primer.
      • Do not apply too much primer.
        Fig 8: Applying Primer G To Contact Surface Of Glass
        G04229436Courtesy of © TOYOTA, LICENSE AGREEMENT TMS1002
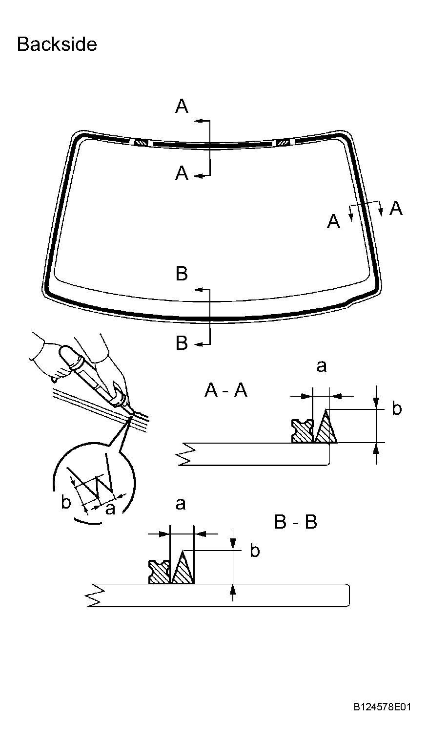
    4. Apply adhesive to the glass.

      Adhesive: 

      Part No. 08850-00801 or equivalent 

      1. Cut off the tip of the cartridge nozzle as shown in the illustration.

        HINT:

        After cutting off the tip, use all adhesive within the time written in the table below.

        Usage time frame 

        USAGE TIME FRAME

        Temperature Usage Time Frame
        35°C (95°F) 15 minutes
        20°C (68°F) 1 hour 40 minutes
        5°C (41°F) 8 hours
      2. Load the sealer gun with the cartridge.
      3. Apply adhesive to the glass as shown in the illustration.

        Standard measurement 

        STANDARD MEASUREMENT

        Area Specified Condition
        a 8.0 mm (0.315 in.)
        b 12.0 mm (0.472 in.)
        Fig 9: Applying Adhesive To Glass
        G04229437Courtesy of © TOYOTA, LICENSE AGREEMENT TMS1002
    5. Install the glass to the vehicle body.
      1. Using suction cups, position the glass so that the matchmarks are aligned. Press it in gently along the rim.
        NOTE:
        • Allow the primer to dry for 3 minutes or more.
        • Check that the stoppers are attached to the vehicle body correctly.
        • Check the clearance between the vehicle body and glass.
          Fig 10: Installing Glass To Vehicle Body
          G04229438Courtesy of © TOYOTA, LICENSE AGREEMENT TMS1002
      2. Lightly press the outer surface of the glass to ensure that it is securely fit to the vehicle body.
      3. Using a scraper, remove any excess or protruding adhesive.
        Fig 11: Removing Any Excess Or Protruding Adhesive
        G04229439Courtesy of © TOYOTA, LICENSE AGREEMENT TMS1002

        HINT:

        Apply adhesive onto the glass rim.

        NOTE: Do not drive the vehicle within the time written in the table below.

        Minimum time 

        TIME REFERENCE

        Temperature Minimum time prior to driving vehicle
        35°C (95°F) 1 hour 30 minutes
        20°C (68°F) 5 hours
        5°C (41°F) 24 hours
        Fig 12: Applying Adhesive Onto Glass Rim
        G04229440Courtesy of © TOYOTA, LICENSE AGREEMENT TMS1002
  8. INSTALL COWL TOP VENTILATOR LOUVER LH (See  INSTALLATION  ) 
  9. INSTALL COWL TOP VENTILATOR LOUVER RH (See  INSTALLATION  ) 
  10. INSTALL HOOD TO COWL TOP SEAL (See  INSTALLATION  ) 
  11. INSTALL FRONT WIPER ARM LH (See  INSTALLATION  ) 
  12. INSTALL FRONT WIPER ARM RH (See  INSTALLATION  ) 
  13. INSTALL FRONT WIPER ARM HEAD CAP 
  14. INSTALL ROOF HEADLINING ASSEMBLY (See  INSTALLATION  ) 
  15. INSTALL VISOR HOLDER LH (See  INSTALLATION  ) 
  16. INSTALL VISOR HOLDER RH (See  INSTALLATION  ) 
  17. INSTALL VISOR ASSEMBLY LH (See  INSTALLATION  ) 
  18. INSTALL VISOR ASSEMBLY RH (See  INSTALLATION  ) 
  19. INSTALL FRONT PILLAR GARNISH LH (See  INSTALLATION  ) 
  20. INSTALL FRONT PILLAR GARNISH RH (See  INSTALLATION  ) 
  21. INSTALL ROOM NO. 1 LIGHT ASSEMBLY (See  INSTALLATION  ) 
  22. INSTALL ASSIST GRIP SUB-ASSEMBLY (See  INSTALLATION  ) 
  23. INSTALL FRONT DOOR OPENING TRIM WEATHERSTRIP LH 
  24. INSTALL FRONT DOOR OPENING TRIM WEATHERSTRIP RH 
  25. INSTALL INNER REAR VIEW MIRROR ASSEMBLY (See  INSTALLATION  ) 
  26. CHECK FOR LEAKS AND REPAIR 
    1. Conduct a leak test after the adhesive has completely hardened.
    2. Seal any leaks with auto glass sealer.
  27. CONNECT CABLE TO NEGATIVE BATTERY TERMINAL