lemon-mirror:
Home >> Scion >> 2006 >> xB Automatic >> Repair and Diagnosis >> Transmission >> Automatic Trans >> U340E Automatic Transaxle >> Automatic Transaxle Unit >> Reassembly

Automatic Transaxle Unit: Reassembly

  1. BEARING POSITION 
    Fig 1: Identifying Automatic Transaxle Bearing Position
    G04227753Courtesy of © TOYOTA, LICENSE AGREEMENT TMS1002

    Bearing Position 

    BEARING POSITION REFERENCE

    Mark Front Race Diameter Inside / Outside Thrust Bearing Diameter Inside / Outside Rear Race Diameter Inside / Outside
    A - 45.1 mm (1.7756 in.) / 65.1 mm (2.5630 in.) -
    B - 26 mm (1.0236 in.) / 43.4 mm (1.7087 in.) -
    C - 21 mm (0.8268 in.) / 34.85 mm (1.3721 in.) -
    D - 32.0 mm (1.260 in.) / 48.0 mm (1.890 in.) -
    E 36.75 mm (1.447 in.) / 49.95 mm (1.967 in.) 33.9 mm (1.335 in.) / 52.0 mm (2.047 in.) - / 51.7 mm (2.035 in.)
    F - 43.45 mm (1.7101 in.) / 58.5 mm (2.3031 in.) -
    G - 29.4 mm (1.1574 in.) / 44.4 mm (1.7480 in.) -
    H 23.5 mm (0.9252) / 37.3 mm (1.4685 in.) 22.5 mm (0.8858 in.) / 37.3 mm (1.4685 in.) 20.3 mm (0.7992 in.) / 33.8 mm (1.3307 in.)
    I - 43.45 mm (1.7101 in.) / 61.2 mm (2.4094 in.) or 43.45 mm (1.7101 in.) / 61.74 mm (2.4307 in.) -
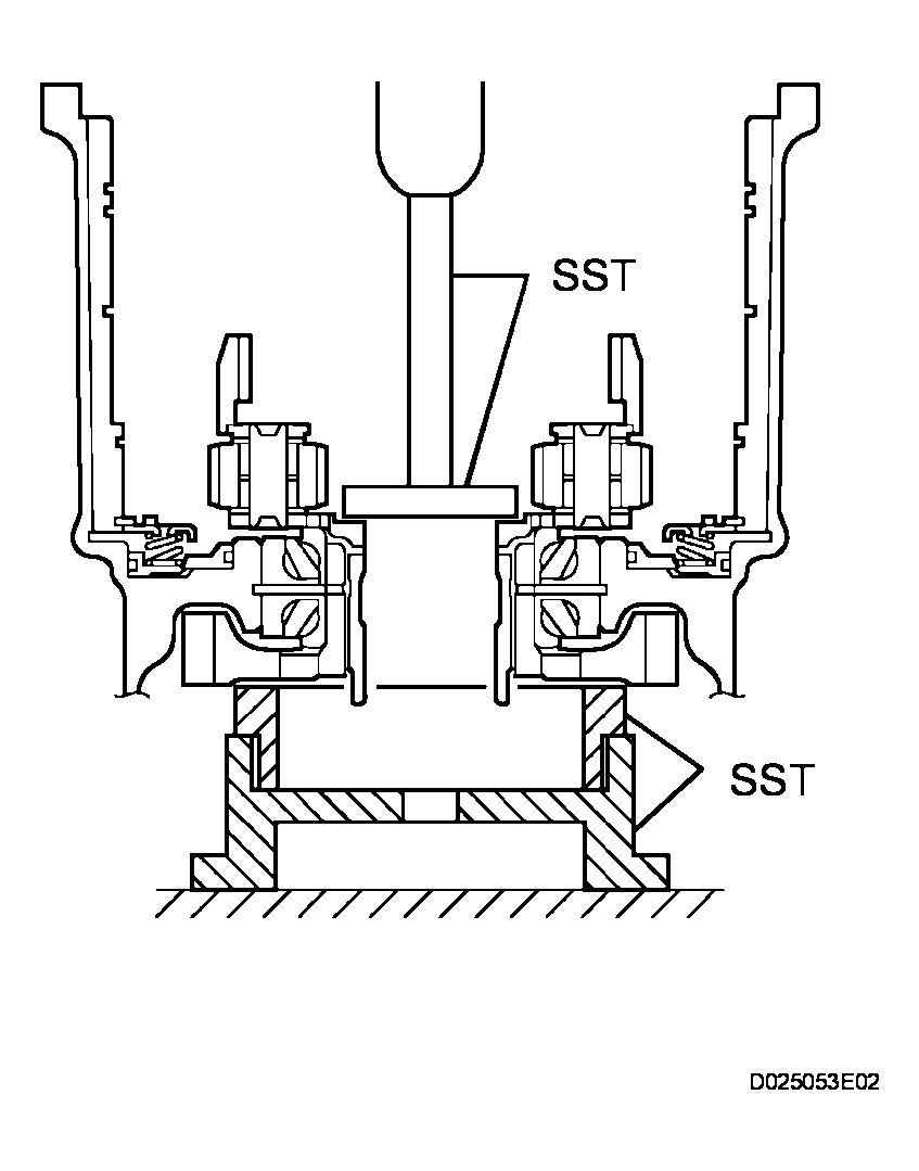
  2. INSTALL FRONT DIFFERENTIAL CASE REAR TAPERED ROLLER BEARING 
    1. Using SST and a press, press in the front differential case rear tapered roller bearing inner race to the differential case.

      SST 09726-40010, 09950-60020 (09951-00790) 

      Fig 2: Pressing In Front Differential Case Rear Tapered Roller Bearing Inner Race To Differential Case Using SST
      G04227754Courtesy of © TOYOTA, LICENSE AGREEMENT TMS1002
    2. Using SST and a press, press in the shim and bearing outer race to the transaxle case.

      SST 09950-60010 (09951-00650, 09950-60020 (09951-00720), 09950-70010 (09951-07100, 09951-07200) 

      Fig 3: Pressing In Shim And Bearing Outer Race To Transaxle Case Using SST
      G04227755Courtesy of © TOYOTA, LICENSE AGREEMENT TMS1002
  3. INSTALL FRONT DIFFERENTIAL CASE FRONT TAPERED ROLLER BEARING 
    1. Using SST and a press, press in the bearing inner race to the differential case.

      SST 09950-60010 (09951-00460), 09950-70010 (09951-07100) 

      Fig 4: Pressing In Bearing Inner Race To Differential Case Using SST
      G04227756Courtesy of © TOYOTA, LICENSE AGREEMENT TMS1002
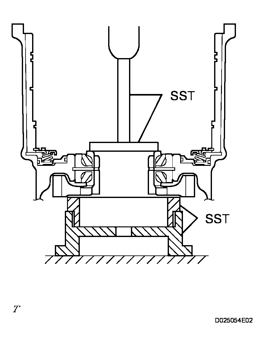
    2. Using SST and a press, press in the tapered roller bearing to the transaxle housing.

      SST 09950-60020 (09951-00680 09950-70010 (09951-07150) 

      Fig 5: Pressing In Tapered Roller Bearing To Transaxle Housing Using SST
      G04227757Courtesy of © TOYOTA, LICENSE AGREEMENT TMS1002
  4. ADJUST TAPERED ROLLER BEARING PRELOAD 
    1. Coat the front differential case and bearing with ATF and install them to the transaxle case.
    2. Install the transaxle housing with the 14 bolts.

      Torque: 29.4 N*m (300 kgf*cm, 22 ft.*lbf) for bolt A 

      22.1 N*m (225 kgf*cm, 16 ft.*lbf) for bolt B 

      Fig 6: Identifying Transaxle Housing Bolts
      G04227758Courtesy of © TOYOTA, LICENSE AGREEMENT TMS1002
    3. Using SST and a small torque wrench, measure the preload of the differential gear.
      Fig 7: Measuring Preload Of Differential Gear
      G04227759Courtesy of © TOYOTA, LICENSE AGREEMENT TMS1002

      SST 09564-32011 

      Standard preload: 

      New bearing: 0.98 to 1.57 N*m (10.0 to 16.0 kgf*cm, 8.7 to 13.9 in.*lbf) 

      Used bearing: 0.49 to 0.78 N*m (5.0 to 8.0 kgf*cm, 4.3 to 6.9 in.*lbf) 

      If the preload is not within the specification, remove the differential from the transaxle case. Reselect the transaxle case side adjusting shim according to the following table.

      Standard adjusting shim thickness 

      STANDARD ADJUSTING SHIM THICKNESS

      Mark Thickness Mark Thickness
      01 1.90 mm (0.0748 in.) 11 2.40 mm (0.0945 in.)
      02 1.95 mm (0.0768 in.) 12 2.45 mm (0.0965 in.)
      03 2.00 mm (0.0787 in.) 13 2.50 mm (0.0984 in.)
      04 2.05 mm (0.0807 in.) 14 2.55 mm (0.1004 in.)
      05 2.10 mm (0.0827 in.) 15 2.60 mm (0.1024 in.)
      06 2.15 mm (0.0846 in.) 16 2.65 mm (0.1043 in.)
      07 2.20 mm (0.0866 in.) 17 2.70 mm (0.1063 in.)
      08 2.25 mm (0.0885 in.) 18 2.75 mm (1.1082 in.)
      09 2.30 mm (0.0906 in.) 19 2.80 mm (0.1102 in.)
      10 2.35 mm (0.0925 in.) - -
  5. INSTALL TRANSAXLE CASE OIL SEAL 
    1. Using SST and a hammer, tap in a new oil seal.

      SST 09554-14010, 09950-70010 (09951-07100) 

      Standard depth: 2 +-0.5 mm (0.079 +-0.020 in.) 

      Fig 8: Installing Transaxle Case Oil Seal
      G04227760Courtesy of © TOYOTA, LICENSE AGREEMENT TMS1002
  6. INSTALL FRONT TRANSAXLE CASE OIL SEAL 
    1. Using SST and a hammer, tap in a new oil seal.

      SST 09726-27012 (09726-02041), 09950-70010 (09951-07150) 

      Standard depth: 5.9 +-0.5 mm (0.232 +-0.020 in.) 

      Fig 9: Installing Front Transaxle Case Oil Seal
      G04227761Courtesy of © TOYOTA, LICENSE AGREEMENT TMS1002
  7. INSTALL FRONT DRIVE PINION REAR CYLINDRICAL ROLLER BEARING 
    1. Install the No. 1 transaxle case plate.
    2. Using SST and a hammer, tap in the roller bearing into the transaxle case.

      SST 09950-60010 (09951-00610), 09950-70010 (09951-07150) 

      Fig 10: Taping In Roller Bearing Into Transaxle Case
      G04227762Courtesy of © TOYOTA, LICENSE AGREEMENT TMS1002
  8. INSTALL COUNTER DRIVE GEAR HOLE SNAP RING 
    1. Using a screwdriver, install the counter drive gear hole snap ring to the transaxle case.
      Fig 11: Installing Counter Drive Gear Hole Snap Ring To Transaxle Case
      G04227763Courtesy of © TOYOTA, LICENSE AGREEMENT TMS1002
  9. INSTALL BREATHER PLUG HOSE 
    Fig 12: Installing Breather Plug Hose
    G04227764Courtesy of © TOYOTA, LICENSE AGREEMENT TMS1002
  10. INSTALL COUNTER DRIVE GEAR BEARING 
    1. Using SST and a hammer, tap in the counter drive gear bearing LH outer race to the transaxle case.

      SST 09950-60020 (09951-00890), 09950-70010 (09951-07150) 

      Fig 13: Taping In Counter Drive Gear Bearing LH Outer Race To Transaxle Case
      G04227765Courtesy of © TOYOTA, LICENSE AGREEMENT TMS1002
    2. Using SST and a hammer, tap in the counter drive gear bearing RH outer race to the transaxle case.

      SST 09950-60020 (09951-00890), 09950-70010 (09951-07150) 

    3. Install the counter drive gear bearing to the transaxle case.
      Fig 14: Taping In Counter Drive Gear Bearing RH Outer Race To Transaxle Case
      G04227766Courtesy of © TOYOTA, LICENSE AGREEMENT TMS1002
  11. INSTALL MANUAL VALVE LEVER SHAFT OIL SEAL 
    1. Using SST and a hammer, tap in a new manual valve lever shaft oil seal.

      SST 09950-60010 (09951-00220), 09950-70010 (09951-07100) 

      Standard depth: 0 +-0.5 mm (0 +-0.020 in.) 

      Fig 15: Taping In Manual Valve Lever Shaft Oil Seal
      G04227767Courtesy of © TOYOTA, LICENSE AGREEMENT TMS1002
  12. INSTALL COUNTER DRIVEN GEAR 
    1. Install the counter driven gear and drive pinion thrust bearing to the transaxle case.
      Fig 16: Installing Counter Driven Gear And Drive Pinion Thrust Bearing To Transaxle Case
      G04227768Courtesy of © TOYOTA, LICENSE AGREEMENT TMS1002
  13. INSTALL PARKING LOCK PAWL 
    1. Coat the parking lock pawl shaft with ATF.
    2. Install the parking lock pawl, torsion spring and shaft to the transaxle case.

      HINT:

      Check that the parking lock pawl can move smoothly.

      Fig 17: Installing Parking Lock Pawl, Torsion Spring And Shaft To Transaxle Case
      G04227769Courtesy of © TOYOTA, LICENSE AGREEMENT TMS1002
  14. INSTALL MANUAL VALVE LEVER SHAFT 
    1. Install the manual valve lever shaft to the transaxle case.
      NOTE: Be careful not to damage the lip of the oil seal.
      Fig 18: Installing Manual Valve Lever Shaft To Transaxle Case
      G04227770Courtesy of © TOYOTA, LICENSE AGREEMENT TMS1002
  15. INSTALL PARKING LOCK ROD SUB-ASSEMBLY 
  16. INSTALL MANUAL VALVE LEVER SUB-ASSEMBLY 
    1. Coat the manual valve lever sub-assembly with ATF.
    2. Install the manual valve lever and a new manual valve lever spacer to the manual valve lever shaft.
      Fig 19: Installing Manual Valve Lever And Manual Valve Lever Spacer To Manual Valve Lever Shaft
      G04227771Courtesy of © TOYOTA, LICENSE AGREEMENT TMS1002
    3. Using a pin punch and hammer, drive in the pin.
      Fig 20: Taping Drive In Pin
      G04227772Courtesy of © TOYOTA, LICENSE AGREEMENT TMS1002
    4. Align the small hole of the spacer and the staking position mark on the lever shaft.
    5. Using a pin punch, stake the spacer through the small hole.
    6. Check that the spacer does not turn.
      Fig 21: Aligning Small Hole Of Spacer And Staking Position Mark On Lever Shaft
      G04227773Courtesy of © TOYOTA, LICENSE AGREEMENT TMS1002
  17. INSTALL MANUAL VALVE LEVER SHAFT RETAINER SPRING 
    1. Install the retainer spring.
      Fig 22: Installing Retainer Spring
      G04227774Courtesy of © TOYOTA, LICENSE AGREEMENT TMS1002
  18. INSTALL PARKING LOCK PAWL BRACKET 
    1. Install the cam guide and bracket with the 3 bolts.

      Torque: 20.1 N*m (205 kgf*cm, 15 ft.*lbf) 

      Fig 23: Installing Cam Guide And Bracket With Bolts
      G04227775Courtesy of © TOYOTA, LICENSE AGREEMENT TMS1002
  19. INSTALL COUNTER DRIVE GEAR 
    1. Using SST and a press, press in the counter drive gear to the transaxle case.

      SST 09223-15030, 09527-17011, 09950-60010 (09951-00650), 09950-70010 (09951-07150) 

      Fig 24: Pressing In Counter Drive Gear To Transaxle Case Using SST
      G04227776Courtesy of © TOYOTA, LICENSE AGREEMENT TMS1002
  20. INSTALL PLANETARY GEAR ASSEMBLY 
    1. Using SST and a press, press in the planetary gear to the transaxle case.

      SST 09950-60010 (09951-00480), 09223-15030, 09527-17011, 09950-70010 (09951-07150) 

      Fig 25: Pressing In Planetary Gear To Transaxle Case Using SST
      G04227777Courtesy of © TOYOTA, LICENSE AGREEMENT TMS1002
  21. INSTALL COUNTER DRIVE GEAR NUT 
    1. Fix the counter driven gear with the parking lock pawl.
      Fig 26: Installing Counter Drive Gear Nut
      G04227778Courtesy of © TOYOTA, LICENSE AGREEMENT TMS1002
    2. Using SST, install a new lock washer and nut.

      SST 09387-00120 

      Torque: 280 N*m (2,855 kgf*cm, 207 ft.*lbf) 

      Fig 27: Tightening Lock Washer And Nut
      G04227779Courtesy of © TOYOTA, LICENSE AGREEMENT TMS1002
    3. Using SST and a small torque wrench, turn the counter drive gear at 60 turns per minute and measure the rotating torque.

      SST 09387-00120 

      Standard rotating torque: 0.20 to 0.49 N*m (2 to 5 kgf*cm, 2 to 4 in.*lbf) 

      Fig 28: Tightening Counter Drive Gear Nut
      G04227780Courtesy of © TOYOTA, LICENSE AGREEMENT TMS1002
    4. Using SST and a hammer, stake the lock washer.

      SST 09930-00010 

      Fig 29: Staking Lock Washer
      G04227781Courtesy of © TOYOTA, LICENSE AGREEMENT TMS1002
  22. INSTALL 1ST AND NO. 2 REVERSE BRAKE PISTON O-RING 
    1. Install the 2 O-rings.
      Fig 30: Identifying O-Rings
      G04227782Courtesy of © TOYOTA, LICENSE AGREEMENT TMS1002
  23. INSTALL 1ST AND NO. 2 REVERSE BRAKE PISTON 
    1. Install the 1st and reverse brake piston to the transaxle case.
      NOTE: Be careful not to damage the lip of the oil seal.
      Fig 31: Identifying Reverse Brake Piston
      G04227783Courtesy of © TOYOTA, LICENSE AGREEMENT TMS1002
  24. INSTALL 1ST AND REVERSE BRAKE RETURN SPRING SUB-ASSEMBLY 
    1. Install the 1st and reverse brake return spring subassembly to the transaxle case.
    2. Using SST, a press and screwdriver, install the snap ring.

      SST 09387-00070 

      Fig 32: Installing Snap Ring To Transaxle Case
      G04227784Courtesy of © TOYOTA, LICENSE AGREEMENT TMS1002
  25. INSTALL 1ST AND REVERSE BRAKE DISC 
    1. Install the 4 plates, 4 discs and flange to the transaxle case.
    2. Using a screwdriver, install the snap ring.
      Fig 33: Installing Plates, Discs And Flange To Transaxle Case
      G04227785Courtesy of © TOYOTA, LICENSE AGREEMENT TMS1002
  26. INSPECT PACK CLEARANCE OF 1ST AND REVERSE BRAKE DISC 
    1. Using SST and a dial indicator, measure the dimension "A" in the illustration while pressing the disc and plate from the rear side.

      SST 09350-36010 

      Standard pack clearance: 0.806 to 1.206 mm (0.0317 to 0.0475 in.) 

      Fig 34: Inspecting Pack Clearance Of 1St And Reverse Brake Disc
      G04227786Courtesy of © TOYOTA, LICENSE AGREEMENT TMS1002

      HINT:

      Pack clearance = Dimension A - Flange thickness - Snap ring thickness

      Standard select flange thickness 

      STANDARD SELECT FLANGE THICKNESS

      Mark Thickness Mark Thickness
      - 3.4 mm (0.134 in.) 2 3.8 mm (0.150 in.)
      1 3.6 mm (0.142 in.) 3 4.0 mm (0.157 in.)
    2. Check that the 1st and reverse brake piston moves when applying compressed air (392 kPa, 4.0 kgf/cm2 , 57 psi) to the oil hole.
  27. INSTALL FRONT PLANETARY SUN GEAR 
    1. Install the planetary sun gear and needle roller bearing to the planetary gear.
      Fig 35: Installing Planetary Sun Gear And Needle Roller Bearing To Planetary Gear
      G04227787Courtesy of © TOYOTA, LICENSE AGREEMENT TMS1002
  28. INSTALL OUTER RACE RETAINER 
    1. Install the retainer to the No. 2 1-way clutch.
      Fig 36: Installing Retainer To No. 2 1-Way Clutch
      G04227788Courtesy of © TOYOTA, LICENSE AGREEMENT TMS1002
  29. INSTALL NO. 2 1-WAY CLUTCH 
    1. Install the 1-way clutch and 2nd brake piston assembly to the rear planetary gear.
      Fig 37: Installing 1-Way Clutch And 2Nd Brake Piston Assembly To Rear Planetary Gear
      G04227789Courtesy of © TOYOTA, LICENSE AGREEMENT TMS1002
  30. INSTALL PLANETARY GEAR REAR THRUST NEEDLE ROLLER BEARING 
    1. Install the No. 2 thrust bearing race, planetary gear thrust needle roller bearing and No. 1 thrust bearing race to the rear planetary gear.
      Fig 38: Installing Planetary Gear Rear Thrust Needle Roller Bearing
      G04227790Courtesy of © TOYOTA, LICENSE AGREEMENT TMS1002
  31. INSTALL REAR PLANETARY GEAR ASSEMBLY 
    1. Install the rear planetary gear to the transaxle case.
    2. Using a screwdriver, install the snap ring.
  32. INSPECT NO. 2 1-WAY CLUTCH (See  REASSEMBLY   ) 
    Fig 39: Installing Rear Planetary Gear To Transaxle Case
    G04227791Courtesy of © TOYOTA, LICENSE AGREEMENT TMS1002
  33. INSTALL 2ND BRAKE PISTON SLEEVE 
    1. Install the 2nd brake piston sleeve to the transaxle case.
      Fig 40: Installing 2Nd Brake Piston Sleeve To Transaxle Case
      G04227792Courtesy of © TOYOTA, LICENSE AGREEMENT TMS1002
  34. INSTALL 2ND BRAKE DISC 
    1. Install the 3 discs, 3 plates and flange to the transaxle case.
    2. Using a screwdriver, install the snap ring to the transaxle case.
      Fig 41: Installing Discs, Plates And Flange To Transaxle Case
      G04227793Courtesy of © TOYOTA, LICENSE AGREEMENT TMS1002
  35. INSPECT PACK CLEARANCE OF 2ND BRAKE 
    1. Using a dial indicator, measure the 2nd brake pack clearance while applying and releasing compressed air (392 to 785 kPa, 4 to 8 kgf/cm2 , 57 to114 psi).

      Standard pack clearance: 0.847 to 1.247 mm (0.0333 to 0.0491 in.) 

      HINT:

      Pack clearance = Dimension A - Selected flange thickness - Snap ring thickness.

      Fig 42: Measuring 2Nd Brake Pack Clearance
      G04227794Courtesy of © TOYOTA, LICENSE AGREEMENT TMS1002

      Standard selected flange thickness 

      STANDARD SELECTED FLANGE THICKNESS

      Mark Thickness Mark Thickness
      - 3.0 mm (0.118 in.) 2 3.4 mm (0.134 in.)
      1 3.2 mm (0.126 in.) 3 3.6 mm (0.142 in.)
  36. INSTALL 2ND COAST AND OVERDRIVE BRAKE FLANGE HOLE SNAP RING 
    1. Using a screwdriver, install the snap ring to the transaxle case.
      Fig 43: Installing Snap Ring To Transaxle Case
      G04227795Courtesy of © TOYOTA, LICENSE AGREEMENT TMS1002
  37. INSTALL 1-WAY CLUTCH ASSEMBLY 
    1. Install the No. 2 thrust washer to the rear planetary gear.
    2. Install the 1-way clutch to the rear planetary sun gear.
  38. INSPECT 1-WAY CLUTCH ASSEMBLY (See  INSPECTION   ) 
    Fig 44: Installing Thrust Washer To Rear Planetary Gear
    G04227796Courtesy of © TOYOTA, LICENSE AGREEMENT TMS1002
  39. INSTALL REAR PLANETARY SUN GEAR THRUST NEEDLE ROLLER BEARING 
    1. Install the thrust bearing and washer to the rear planetary sun gear.
      Fig 45: Installing Thrust Bearing And Washer To Rear Planetary Sun Gear
      G04227797Courtesy of © TOYOTA, LICENSE AGREEMENT TMS1002
  40. INSTALL REAR PLANETARY SUN GEAR ASSEMBLY 
    1. Install the rear planetary sun gear assembly.
      Fig 46: Installing Rear Planetary Sun Gear Assembly
      G04227798Courtesy of © TOYOTA, LICENSE AGREEMENT TMS1002
  41. INSTALL REAR PLANETARY SUN GEAR, NO. 2 THRUST NEEDLE BEARING 
    1. Install the thrust bearing to the rear planetary sun gear.
      Fig 47: Installing Thrust Bearing To Rear Planetary Sun Gear
      G04227799Courtesy of © TOYOTA, LICENSE AGREEMENT TMS1002
  42. INSTALL DIRECT CLUTCH HUB 
    1. Install the direct clutch hub.
      Fig 48: Installing Direct Clutch Hub
      G04227800Courtesy of © TOYOTA, LICENSE AGREEMENT TMS1002
  43. INSTALL THRUST NEEDLE ROLLER BEARING 
    1. Install the No. 3 thrust bearing race, thrust needle roller bearing and C-2 hub thrust bearing race to the direct clutch hub.
      Fig 49: Installing Thrust Needle Roller Bearing
      G04227801Courtesy of © TOYOTA, LICENSE AGREEMENT TMS1002
  44. INSTALL 2ND COAST AND OVERDRIVE BRAKE DISC 
    1. Install the 2 discs, 2 plates and 2 flanges to the transaxle case.
      Fig 50: Installing Discs, Plates And Flanges To Transaxle Case
      G04227802Courtesy of © TOYOTA, LICENSE AGREEMENT TMS1002
  45. INSTALL INTERMEDIATE SHAFT ASSEMBLY 
    1. Install the intermediate shaft to the transaxle case.
      Fig 51: Installing Intermediate Shaft To Transaxle Case
      G04227803Courtesy of © TOYOTA, LICENSE AGREEMENT TMS1002
  46. INSPECT PACK CLEARANCE OF 2ND COAST AND OVERDRIVE BRAKE 
    1. As shown in the illustration, place a straightedge on the transaxle case and measure the distance between the 2nd coast and O/D brake flange and straightedge using a vernier caliper (Dimension A).
      Fig 52: Measuring Distance Between 2Nd Coast And O/D Brake Flange And Straightedge
      G04227804Courtesy of © TOYOTA, LICENSE AGREEMENT TMS1002
    2. As shown in the illustration, place a straightedge on the O/D brake piston and measure the distance between the transaxle rear cover and straightedge using a vernier caliper (Dimension B).

      Calculate the piston stroke valve using the following formula. Select a flange which satisfies the piston stroke valve and install it.

      Fig 53: Measuring Distance Between Transaxle Rear Cover And Straightedge
      G04227805Courtesy of © TOYOTA, LICENSE AGREEMENT TMS1002

      Standard pack clearance: 2.091 to 2.491 mm (0.0823 to 0.0981 in.) 

      HINT:

      Pack clearance = Dimension "A" - Dimension "B" - Selected flange thickness.

      Selected flange thickness 

      SELECTED FLANGE THICKNESS

      Mark Thickness Mark Thickness
      4 4.0 mm (0.1575 in.) 6 4.4 mm (0.1732 in.)
      5 4.2 mm (0.1654 in.) 7 4.6 mm (0.1811 in.)
  47. INSTALL REAR CLUTCH DRUM THRUST NEEDLE ROLLER BEARING 
    1. Install the bearing to the intermediate shaft.
      Fig 54: Installing Bearing To Intermediate Shaft
      G04227806Courtesy of © TOYOTA, LICENSE AGREEMENT TMS1002
  48. INSPECT INTERMEDIATE SHAFT ASSEMBLY 
    1. Install the transaxle rear cover with the 11 bolts.

      Torque: 24.5 N*m (250 kgf*cm, 18 ft.*lbf) 

      Fig 55: Installing Transaxle Rear Cover With Bolts
      G04227807Courtesy of © TOYOTA, LICENSE AGREEMENT TMS1002
    2. Using a dial indicator, measure the end play of intermediate shaft.

      Standard end play: 0.204 to 0.966 mm (0.008 to 0.038 in.) 

    3. Remove 11 bolts and transaxle rear cover.
      Fig 56: Measuring End Play Of Intermediate Shaft
      G04227808Courtesy of © TOYOTA, LICENSE AGREEMENT TMS1002
  49. INSTALL TRANSAXLE CASE GASKET 
    1. Install 4 new gaskets to the transaxle case.
      Fig 57: Installing Gaskets To Transaxle Case
      G04227809Courtesy of © TOYOTA, LICENSE AGREEMENT TMS1002
  50. INSTALL TRANSAXLE REAR COVER ASSEMBLY 
    1. Apply FIPG to the transaxle case.

      FIPG: Part No. 08826-00090, THREE BOND 1281 or equivalent 

      Fig 58: Applying FIPG To Transaxle Case
      G04227810Courtesy of © TOYOTA, LICENSE AGREEMENT TMS1002
    2. Install the transaxle rear cover with the 11 bolts.

      Torque: 24.5 N*m (250 kgf*cm, 18 ft.*lbf) 

      Fig 59: Installing Transaxle Rear Cover With Bolts
      G04227811Courtesy of © TOYOTA, LICENSE AGREEMENT TMS1002
  51. INSTALL FORWARD CLUTCH HUB SUB-ASSEMBLY 
    1. Install the forward clutch hub to the transaxle case.
      Fig 60: Installing Forward Clutch Hub To Transaxle Case
      G04227812Courtesy of © TOYOTA, LICENSE AGREEMENT TMS1002
  52. INSTALL FORWARD CLUTCH HUB THRUST NEEDLE ROLLER BEARING 
    1. Install the bearing to the forward clutch hub.
      Fig 61: Installing Bearing To Forward Clutch Hub
      G04227813Courtesy of © TOYOTA, LICENSE AGREEMENT TMS1002
  53. INSTALL STATOR SHAFT THRUST NEEDLE ROLLER BEARING 
    1. Install the bearing to the input shaft.
      Fig 62: Installing Bearing To Input Shaft
      G04227814Courtesy of © TOYOTA, LICENSE AGREEMENT TMS1002
  54. INSTALL INPUT SHAFT ASSEMBLY 
    1. Install the input shaft to the transaxle case.
      Fig 63: Installing Input Shaft To Transaxle Case
      G04227815Courtesy of © TOYOTA, LICENSE AGREEMENT TMS1002
  55. INSTALL OVERDRIVE BRAKE GASKET 
    1. Install 2 new gaskets to the transaxle case.
      Fig 64: Installing Gaskets To Transaxle Case
      G04227816Courtesy of © TOYOTA, LICENSE AGREEMENT TMS1002
  56. INSTALL DIFFERENTIAL GEAR ASSEMBLY 
    1. Install the differential gear to the transaxle case.
      Fig 65: Installing Differential Gear To Transaxle Case
      G04227817Courtesy of © TOYOTA, LICENSE AGREEMENT TMS1002
  57. INSTALL OIL PUMP ASSEMBLY 
    1. Install the oil pump with the 7 bolts.

      Torque: 22 N*m (220 kgf*cm, 16 ft.*lbf) 

  58. INSPECT INPUT SHAFT ASSEMBLY (See  REASSEMBLY   ) 
  59. INSPECT INPUT SHAFT END PLAY (See  INSPECTION   ) 
    Fig 66: Installing Oil Pump With Bolts
    G04227818Courtesy of © TOYOTA, LICENSE AGREEMENT TMS1002
  60. INSTALL FRONT DRIVE PINION FRONT TAPERED ROLLER BEARING 
    1. Install the thrust bearing to the transaxle housing.
    2. Using SST and a press, press in the cylindrical roller bearing to the transaxle housing.

      SST 09950-60010 (09951-00650), 09950-70010 

      Fig 67: Pressing In Cylindrical Roller Bearing To Transaxle Housing
      G04227819Courtesy of © TOYOTA, LICENSE AGREEMENT TMS1002
  61. INSTALL DIFFERENTIAL GEAR LUBE APPLY TUBE 
    Fig 68: Identifying Differential Gear Lube Apply Tube
    G04227820Courtesy of © TOYOTA, LICENSE AGREEMENT TMS1002
  62. INSTALL BEARING LOCK PLATE 
    1. Install the bearing lock plate to the transaxle housing with the bolt.

      Torque: 11 N*m (110 kgf*cm, 8 ft.*lbf) 

      Fig 69: Installing Bearing Lock Plate To Transaxle Housing With Bolt
      G04227821Courtesy of © TOYOTA, LICENSE AGREEMENT TMS1002
  63. INSTALL TRANSAXLE HOUSING 
    1. Apply FIPG to the transaxle case.

      FIPG: Part No. 08826-0090, THREE BOND 1281 or equivalent 

      Fig 70: Applying FIPG To Transaxle Case
      G04227822Courtesy of © TOYOTA, LICENSE AGREEMENT TMS1002
    2. Install the transaxle housing with the 14 bolts.

      Torque: 29.4 N*m (300 kgf*cm, 22 ft.*lbf) for bolt A 

      22.1 N*m (225 kgf*cm, 16 ft.*lbf) for bolt B 

      Fig 71: Installing Transaxle Housing With Bolts
      G04227823Courtesy of © TOYOTA, LICENSE AGREEMENT TMS1002
  64. INSTALL C-2 ACCUMULATOR PISTON 
    1. Coat 2 new O-rings with ATF and install them to the C-2 accumulator piston.
      NOTE: Be careful not to damage the O-rings.
      Fig 72: Identifying O-Rings
      G04227824Courtesy of © TOYOTA, LICENSE AGREEMENT TMS1002
    2. Install the spring and C-2 accumulator piston.

      Standard accumulator spring 

      STANDARD ACCUMULATOR SPRING SPECIFICATIONS

      Spring Free length / Outer diameter Color
      C-2 66.90 mm (2.6339 in.) / 17.20 mm (0.6772 in.) -
      Fig 73: Installing Spring And C-2 Accumulator Piston
      G04227825Courtesy of © TOYOTA, LICENSE AGREEMENT TMS1002
  65. INSTALL C-3 ACCUMULATOR PISTON 
    1. Coat 2 new O-rings with ATF and install them to the C-3 accumulator piston.
      NOTE: Be careful not to damage the O-rings.
      Fig 74: Identifying O-Rings
      G04227826Courtesy of © TOYOTA, LICENSE AGREEMENT TMS1002
    2. Install the spring and C-3 accumulator piston.

      Standard accumulator spring 

      STANDARD ACCUMULATOR SPRING SPECIFICATIONS

      Spring Free length / Outer diameter Color
      C-3 80.20 mm (3.1575 in.) / 18.70 mm (0.7362 in.) Blue
      Fig 75: Installing Spring And C-3 Accumulator Piston
      G04227827Courtesy of © TOYOTA, LICENSE AGREEMENT TMS1002
  66. INSTALL B-2 ACCUMULATOR PISTON 
    1. Coat 2 new O-rings with ATF and install them to the B-2 accumulator piston.
      NOTE: Be careful not to damage the O-rings.
      Fig 76: Identifying O-Rings
      G04227828Courtesy of © TOYOTA, LICENSE AGREEMENT TMS1002
    2. Install the spring and B-2 accumulator piston.

      Standard accumulator spring 

      STANDARD ACCUMULATOR SPRING SPECIFICATIONS

      Spring Free length / Outer diameter Color
      B-2 66.90 mm (2.6339 in.) / 15.50 mm (0.6102 in.) Green
      Fig 77: Installing Spring And B-2 Accumulator Piston
      G04227829Courtesy of © TOYOTA, LICENSE AGREEMENT TMS1002
  67. INSTALL CHECK BALL BODY 
    1. Install the spring and check ball body.
      Fig 78: Installing Spring And Check Ball Body
      G04227830Courtesy of © TOYOTA, LICENSE AGREEMENT TMS1002
  68. INSTALL BRAKE DRUM GASKET 
    1. Install a new brake drum gasket.
      Fig 79: Installing Brake Drum Gasket
      G04227831Courtesy of © TOYOTA, LICENSE AGREEMENT TMS1002
  69. INSTALL TRANSAXLE CASE GASKET 
    1. Install a new transaxle case gasket.
      Fig 80: Installing Transaxle Case Gasket
      G04227832Courtesy of © TOYOTA, LICENSE AGREEMENT TMS1002
  70. INSTALL TRANSAXLE CASE 2ND BRAKE GASKET 
    1. Install a new transaxle case 2nd brake gasket.
      Fig 81: Installing Transaxle Case 2Nd Brake Gasket
      G04227833Courtesy of © TOYOTA, LICENSE AGREEMENT TMS1002
  71. INSTALL TRANSMISSION WIRE 
    1. Coat a new O-ring with ATF, and install it to the transmission wire.
      Fig 82: Identifying O-Ring
      G04227834Courtesy of © TOYOTA, LICENSE AGREEMENT TMS1002
    2. Pass the transmission wire through the transaxle.
      Fig 83: Identifying Transmission Wire
      G04227835Courtesy of © TOYOTA, LICENSE AGREEMENT TMS1002
    3. Install the bolt and transmission wire.

      Torque: 5.4 N*m (55 kgf*cm, 48 in.*lbf) 

      Fig 84: Installing Transmission Connector Tightening Bolts
      G04227836Courtesy of © TOYOTA, LICENSE AGREEMENT TMS1002
  72. INSTALL TRANSMISSION VALVE BODY ASSEMBLY 
    1. Install the valve body with the 13 bolts.

      Torque: 10.8 N*m (110 kgf*cm, 8 ft.*lbf) 

      HINT:

      Bolt length:

      32 mm (1.26 in.) for bolt A

      22 mm (0.87 in.) for bolt B

      55 mm (2.17 in.) for bolt C

      45 mm (1.77 in.) for bolt D

      Fig 85: Installing Transmission Valve Body And Bolts
      G04227837Courtesy of © TOYOTA, LICENSE AGREEMENT TMS1002
    2. Install the detent spring, detent spring cover with the 2 bolts.

      Torque: 10.8 N*m (110 kgf*cm, 8 ft.*lbf) 

      HINT:

      Bolt length:

      14 mm (0.55 in.) for bolt A

      45 mm (1.77 in.) for bolt B

    3. Check that the manual valve lever is touching the center of the detent spring tip roller.
      Fig 86: Installing Detent Spring, Detent Spring Cover With Bolts
      G04227838Courtesy of © TOYOTA, LICENSE AGREEMENT TMS1002
    4. Connect the 5 solenoid connectors.
    5. Coat a new O-ring with ATF, and install it to the ATF temperature sensor.
    6. Install the ATF temperature sensor with the lock plate and bolt.

      Torque: 10.8 N*m (110 kgf*cm, 8 ft.*lbf) 

      HINT:

      Bolt length:

      55 mm (2.17 in.)

      Fig 87: Installing ATF Temperature Sensor With Lock Plate And Bolt
      G04227839Courtesy of © TOYOTA, LICENSE AGREEMENT TMS1002
  73. INSTALL VALVE BODY OIL STRAINER ASSEMBLY 
    1. Coat a new O-ring with ATF, and install it to the oil strainer.
      Fig 88: Installing Oil Strainer
      G04227840Courtesy of © TOYOTA, LICENSE AGREEMENT TMS1002
    2. Install the oil strainer with the 3 bolts.

      Torque: 10.8 N*m (110 kgf*cm, 8 ft.*lbf) 

  74. INSTALL AUTOMATIC TRANSAXLE OIL PAN GASKET 
    1. Install a new gasket to the oil pan.
      Fig 89: Installing Oil Strainer With Bolts
      G04227841Courtesy of © TOYOTA, LICENSE AGREEMENT TMS1002
  75. INSTALL AUTOMATIC TRANSAXLE OIL PAN SUBASSEMBLY 
    1. Install the 2 magnets in the oil pan.
      Fig 90: Installing Magnets In Oil Pan
      G04227842Courtesy of © TOYOTA, LICENSE AGREEMENT TMS1002
    2. Install the oil pan with the 19 bolts.

      Torque: 7.8 N*m (80 kgf*cm, 71 in.*lbf) 

      Fig 91: Installing Oil Pan With Bolts
      G04227843Courtesy of © TOYOTA, LICENSE AGREEMENT TMS1002
  76. INSTALL NO. 1 TRANSAXLE CASE PLUG 
    1. Coat 5 new O-rings with ATF, and install them to the case plugs.
    2. Install the 4 case plugs.

      Torque: 7.4 N*m (75 kgf*cm, 65 in.*lbf) 

      Fig 92: Installing Transaxle Case Plug
      G04227844Courtesy of © TOYOTA, LICENSE AGREEMENT TMS1002
    3. Install the case plug.

      Torque: 7.4 N*m (75 kgf*cm, 65 in.*lbf) 

      Fig 93: Tightening Case Plug
      G04227845Courtesy of © TOYOTA, LICENSE AGREEMENT TMS1002
  77. INSTALL OIL COOLER TUBE UNION (OUTLET) 
    1. Coat 2 new O-rings with ATF, and install them to the union.
    2. Install the union.

      Torque: 27 N*m (275 kgf*cm, 20 ft.*lbf) 

      Fig 94: Installing Oil Cooler Tube Union (Outlet)
      G04227846Courtesy of © TOYOTA, LICENSE AGREEMENT TMS1002
  78. INSTALL OIL COOLER TUBE UNION (INLET) 
    1. Coat 2 new O-rings with ATF, and install them to the union.
    2. Install the union.

      Torque: 27 N*m (275 kgf*cm, 20 ft.*lbf) 

      Fig 95: Installing Oil Cooler Tube Union (Inlet)
      G04227847Courtesy of © TOYOTA, LICENSE AGREEMENT TMS1002
  79. INSTALL TRANSMISSION REVOLUTION SENSOR 
    1. Install the transmission revolution sensor with the bolt.

      Torque: 5.4 N*m (55 kgf*cm, 48 in.*lbf) 

      Fig 96: Tightening Transmission Revolution Sensor With Bolt
      G04227848Courtesy of © TOYOTA, LICENSE AGREEMENT TMS1002
  80. INSTALL PARK/NEUTRAL POSITION SWITCH ASSEMBLY 
    1. Install the park/neutral position switch onto the manual valve lever shaft and temporarily install the 2 adjusting bolts.
    2. Install a new lock washer with the nut.

      Torque: 6.9 N*m (70 kgf*cm, 61 in.*lbf) 

    3. Temporarily install the control shaft lever.
      Fig 97: Tightening Lock Washer With Nut
      G04227849Courtesy of © TOYOTA, LICENSE AGREEMENT TMS1002
    4. Turn the lever counterclockwise until it stops, and then turn it clockwise 2 notches.
    5. Remove the control shaft lever.
      Fig 98: Turning Control Shaft Lever
      G04227850Courtesy of © TOYOTA, LICENSE AGREEMENT TMS1002
    6. Align the groove with the neutral basic line.
    7. Tighten the 2 bolts.

      Torque: 5.4 N*m (55 kgf*cm, 48 in.*lbf) 

      Fig 99: Aligning Groove With Neutral Basic Line
      G04227851Courtesy of © TOYOTA, LICENSE AGREEMENT TMS1002
    8. Using a screwdriver, stake the nut with the lock washer.
      Fig 100: Staking Nut With Lock Washer
      G04227852Courtesy of © TOYOTA, LICENSE AGREEMENT TMS1002
    9. Install the control shaft lever, washer and nut.

      Torque: 12.7 N*m (130 kgf*cm, 9 ft.*lbf) 

      Fig 101: Tightening Control Shaft Lever, Washer And Nut
      G04227853Courtesy of © TOYOTA, LICENSE AGREEMENT TMS1002