lemon-mirror:
Home >> Scion >> 2007 >> tC Base, Automatic >> Repair and Diagnosis >> Body & Frame >> Windows >> Windshield/WINDOWGLASS >> Quarter Window Glass >> Installation

Quarter Window Glass: Installation

  1. INSTALL QUARTER WINDOW ASSEMBLY LH 
    1. Using a brush, apply Primer M to the exposed part of the vehicle body.
      NOTE:
      • Allow the primer to dry for 3 minutes or more.
      • Do not apply primer to the adhesive.
      • Throw away any leftover primer.
      • Do not apply too much primer.
    2. Using a brush or sponge, apply Primer G to the contact surface of the quarter window glass.
      Fig 1: Applying Primer To Contact Surface Of Quarter Window Glass
      G04867437Courtesy of © TOYOTA, LICENSE AGREEMENT TMS1002
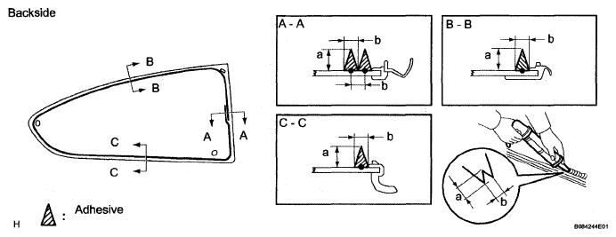
      Fig 2: Identifying Primer Applying Areas
      G04867438Courtesy of © TOYOTA, LICENSE AGREEMENT TMS1002

      HINT:

      If Primer G is applied to an area other than that which is specified, wipe off the primer with white gasoline before it dries.

      NOTE:
      • Allow the primer to dry for 3 minutes or more.
      • Throw away any leftover primer.
      • Do not apply too much primer.
    3. Apply adhesive to the quarter window glass.

      Adhesive: 

      Part No. 08850-00801 or equivalent 

      1. Cut off the tip of the cartridge nozzle as shown in the illustration.
        Fig 3: Identifying Primer Applying Areas
        G04867439Courtesy of © TOYOTA, LICENSE AGREEMENT TMS1002

        HINT:

        After cutting off the tip, use all adhesive within the time written in the table below.

        Usage time frame 

        QUARTER WINDOW ASSEMBLY TEMPERATURE AND TIME REFERENCE (LH)

        Temperature Usage Time Frame
        35°C (95°F) 15 minutes
        20°C (68°F) 1 hour 40 minutes
        5°C (41°F) 8 hours
      2. Load the sealer gun with the cartridge.
      3. Apply adhesive to the quarter window glass as shown in the illustration.
    4. Install the quarter window glass to the vehicle body.
      1. Lightly press the front surface of the quarter window glass to ensure that the quarter window glass is securely fit to the vehicle body.
        NOTE:
        • Check that the clips are attached to the vehicle body correctly.
        • Check that the vehicle body and quarter window glass have a small gap between them.
      2. Hold the quarter window glass in place securely with protective tape or equivalent until the adhesive hardens.
        NOTE: Do not drive the vehicle for the amount of time written in the table below.
  2. INSTALL ROOF HEADLINING ASSEMBLY (See  INSTALLATION  ) 
  3. INSTALL COAT HOOK (See  INSTALLATION  ) 
  4. INSTALL NO. 1 ROOM LIGHT ASSEMBLY (See  INSTALLATION  ) 
  5. INSTALL ROOF SIDE GARNISH INNER LH (See  INSTALLATION  ) 
  6. INSTALL ROOF SIDE GARNISH INNER LOWER LH (See  INSTALLATION  ) 
  7. INSTALL CENTER PILLAR GARNISH LH (See  INSTALLATION  ) 
  8. INSTALL DECK TRIM SIDE PANEL ASSEMBLY LH (See  INSTALLATION  ) 
  9. INSTALL ROPE HOOK 
  10. INSTALL NO. 1 SIDE TRIM ASSEMBLY LH (See  INSTALLATION  ) 
  11. INSTALL NO. 1 LUGGAGE COMPARTMENT TRIM HOOK 
  12. INSTALL REAR SEAT OUTER BELT ASSEMBLY LH (See  INSTALLATION  ) 
  13. INSTALL FRONT SEAT OUTER BELT ASSEMBLY LH 
    1. Install the anchor part of the outer belt with the bolt.

      Torque: 42 N*m (428 kgf*cm, 31 ft.*lbf) 

  14. INSTALL FRONT SEAT BELT ANCHOR COVER CAP 
  15. INSTALL BACK DOOR SCUFF PLATE (See  INSTALLATION  ) 
  16. INSTALL REAR NO. 1 FLOOR BOARD (See  INSTALLATION  ) 
  17. INSTALL NO. 1 DECK BOARD (See  INSTALLATION  ) 
  18. INSTALL DECK BOARD ASSEMBLY 
  19. INSTALL FRONT DOOR SCUFF PLATE LH (See  INSTALLATION  ) 
  20. INSTALL REAR SEATBACK ASSEMBLY LH (See  INSTALLATION  ) 
  21. INSTALL REAR SEAT CUSHION ASSEMBLY (See  INSTALLATION  ) 
  22. INSTALL TONNEAU COVER ASSEMBLY 
  23. CHECK FOR LEAKS AND REPAIR 
    1. Conduct a leak test after the adhesive has completely hardened.
    2. Seal any leaks with auto glass sealer.
  24. CONNECT CABLE TO NEGATIVE BATTERY TERMINAL 
  25. PERFORM INITIALIZATION 
    1. Perform initialization (see INITIALIZATION ).

      HINT:

      Certain systems need to be initialized after disconnecting and reconnecting the cable from the negative (-) battery terminal.