lemon-mirror:
Home >> Scion >> 2007 >> tC Base, Automatic >> Repair and Diagnosis >> Transmission >> Automatic Trans >> Automatic Transaxle >> Automatic Transaxle Assembly >> Installation

Automatic Transaxle Assembly: Installation

  1. INSTALL TORQUE CONVERTER CLUTCH ASSEMBLY 
    1. Using a vernier caliper, measure dimension "A" between the transaxle fitting part of the engine and the converter fitting part of the drive plate.
      Fig 1: Measuring Dimension A Between Transaxle Fitting Part Of Engine
      G04866265Courtesy of © TOYOTA, LICENSE AGREEMENT TMS1002
    2. Set the key of the front oil pump drive gear to the top and put a mark on the housing.
      Fig 2: Setting Key Of Front Oil Pump Drive Gear
      G04866266Courtesy of © TOYOTA, LICENSE AGREEMENT TMS1002
    3. Put a mark on the torque converter clutch so that its groove can be clearly indicated.
      Fig 3: Putting Mark On Torque Converter Clutch
      G04866267Courtesy of © TOYOTA, LICENSE AGREEMENT TMS1002
    4. Match the 2 marks on the transaxle case and the torque converter clutch and fit the spline part of the input shaft to the spline part of the turbine runner.
      Fig 4: Identifying Match Marks On Transaxle Case And Torque Converter Clutch
      G04866268Courtesy of © TOYOTA, LICENSE AGREEMENT TMS1002
    5. Rotating the torque converter clutch, fit the spline part of the stator shaft with the spline part of the stator.

      HINT:

      Rotate it about 180°.

      Fig 5: Fitting Spline Part Of Stator Shaft With Spline Part Of Stator
      G04866269Courtesy of © TOYOTA, LICENSE AGREEMENT TMS1002
    6. Rotating the torque converter clutch, match the 2 marks on the case and the torque converter clutch again and fit the key of the oil pump drive gear into the key way of the torque converter clutch.
      NOTE: When rotating the torque converter clutch, do not push it with excessive force.
      Fig 6: Fitting Spline Part Of Stator Shaft With Spline Part Of Stator
      G04866270Courtesy of © TOYOTA, LICENSE AGREEMENT TMS1002
    7. Using a vernier caliper and straightedge, measure dimension B shown in the illustration and check that B is greater than A.

      Standard dimension: B = A + 1.0 mm (0.039 in.) or more 

      Fig 7: Measuring Dimension Of Clutch
      G04866271Courtesy of © TOYOTA, LICENSE AGREEMENT TMS1002
  2. INSTALL AUTOMATIC TRANSAXLE ASSEMBLY 
    1. Install the transaxle to the engine with the 7 bolts.

      Torque: 64 N*m (653 kgf*cm, 47 ft.*lbf) for bolt A 

      46 N*m (469 kgf*cm, 34 ft.*lbf) for bolt B 

      44 N*m (449 kgf*cm, 32 ft.*lbf) for bolt C 

      Fig 8: Locating Automatic Transaxle Assembly Bolts
      G04866272Courtesy of © TOYOTA, LICENSE AGREEMENT TMS1002
    2. Install the 6 torque converter clutch mounting bolts.

      Torque: 41 N*m (418 kgf*cm, 30 ft.*lbf) 

      HINT:

      First install the black colored bolt, and then the remaining 5 bolts.

      Fig 9: Locating Torque Converter Clutch Mounting Bolts
      G04866273Courtesy of © TOYOTA, LICENSE AGREEMENT TMS1002
  3. INSTALL FLYWHEEL HOUSING UNDER COVER 
    1. Install the cover to the automatic transaxle.
      Fig 10: Identifying Automatic Transaxle Cover
      G04866274Courtesy of © TOYOTA, LICENSE AGREEMENT TMS1002
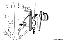
  4. INSTALL REAR ENGINE MOUNTING BRACKET 
    1. Install the bracket to the automatic transaxle with the 3 bolts.

      Torque: 64 N*m (653 kgf*cm, 47 ft.*lbf) 

      Fig 11: Identifying Automatic Transaxle Bolts
      G04866275Courtesy of © TOYOTA, LICENSE AGREEMENT TMS1002
  5. INSTALL FRONT ENGINE MOUNTING BRACKET 
    1. Install the bracket to the automatic transaxle with the 2 bolts.

      Torque: 64 N*m (653 kgf*cm, 47 ft.*lbf) 

      Fig 12: Locating Automatic Transaxle Bolts
      G04866276Courtesy of © TOYOTA, LICENSE AGREEMENT TMS1002
  6. INSTALL ENGINE MOUNTING BRACKET LH 
    1. Install the bracket to the automatic transaxle with the 3 bolts.

      Torque: 64 N*m (653 kgf*cm, 47 ft.*lbf) 

      Fig 13: Locating Engine Mounting Bracket Bolts
      G04866277Courtesy of © TOYOTA, LICENSE AGREEMENT TMS1002
  7. INSTALL ENGINE MOUNTING INSULATOR LH 
    1. Install the engine mounting insulator LH with the 5 bolts and nut.

      Torque: 52 N*m (530 kgf*cm, 38 ft.*lbf) for bolt A 

      87 N*m (887 kgf*cm, 64 ft.*lbf) for nut B 

      Fig 14: Locating Engine Mounting Insulator With Bolts And Nut
      G04866278Courtesy of © TOYOTA, LICENSE AGREEMENT TMS1002
  8. INSTALL CENTER ENGINE MOUNTING MEMBER SUB-ASSEMBLY 
    1. Install the engine mounting member with the 4 bolts.

      Torque: 45 N*m (459 kgf*cm, 33 ft.*lbf) for bolt A 

      65 N*m (663 kgf*cm, 48 ft.*lbf) for bolt B 

      Fig 15: Locating Engine Mounting Member With Bolts
      G04866279Courtesy of © TOYOTA, LICENSE AGREEMENT TMS1002
  9. INSTALL REAR ENGINE MOUNTING INSULATOR 
    1. Install the insulator to the rear engine mounting bracket with the bolt.

      Torque: 87 N*m (887 kgf*cm, 64 ft.*lbf) 

      Fig 16: Locating Rear Engine Mounting Bracket With Bolt
      G04866280Courtesy of © TOYOTA, LICENSE AGREEMENT TMS1002
    2. Tighten the 3 nuts and bolt.

      Torque: 65 N*m (663 kgf*cm, 48 ft.*lbf) 

      Fig 17: Locating Mounting Nuts And Bolt
      G04866281Courtesy of © TOYOTA, LICENSE AGREEMENT TMS1002
  10. INSTALL FRONT ENGINE MOUNTING INSULATOR 
    1. Install the insulator to the front engine mounting bracket with the bolt and nut.

      Torque: 52 N*m (530 kgf*cm, 38 ft.*lbf) 

      Fig 18: Locating Engine Mounting Bracket With Bolt And Nut
      G04866282Courtesy of © TOYOTA, LICENSE AGREEMENT TMS1002
  11. INSTALL STARTER ASSEMBLY 
    1. Install the starter with the 2 bolts.

      Torque: 64 N*m (653 kgf*cm, 47 ft.*lbf) 

    2. Connect the connector.
    3. Install the starter wire with the nut.

      Torque: 9.8 N*m (100 kgf*cm, 87 in.*lbf) 

    Fig 19: Locating Starter Assembly Bolts With Nut
    G04866283Courtesy of © TOYOTA, LICENSE AGREEMENT TMS1002
  12. INSTALL FRONT DRIVE SHAFT ASSEMBLY LH 
    1. Install the drive shaft (see INSTALLATION ).
  13. INSTALL FRONT DRIVE SHAFT ASSEMBLY RH 
    1. Install the drive shaft (see INSTALLATION ).
  14. INSTALL FRONT EXHAUST PIPE ASSEMBLY 
    1. Install the exhaust pipe (see INSTALLATION ).
  15. INSTALL ENGINE UNDER COVER LH 
  16. INSTALL ENGINE UNDER COVER RH 
  17. INSTALL FRONT WHEEL 

    Torque: 103 N*m (1050 kgf*cm, 76 ft.*lbf) 

  18. INSTALL NO. 1 OIL COOLER OUTLET TUBE 
    1. Tighten the tube.

      Torque: 34 N*m (347 kgf*cm, 25 ft.*lbf) 

    Fig 20: Locating Oil Cooler Tube
    G04866284Courtesy of © TOYOTA, LICENSE AGREEMENT TMS1002
  19. INSTALL NO. 1 OIL COOLER INLET TUBE 
    1. Tighten the tube.

      Torque: 34 N*m (347 kgf*cm, 25 ft.*lbf) 

    2. Install the 2 oil cooler tube clamps with the 2 bolts.

      Torque: 5.5 N*m (56 kgf*cm, 49 in.*lbf) for bolt A 

      12 N*m (122 kgf*cm, 9 ft.*lbf) for bolt B 

      Fig 21: Locating Oil Cooler Tube Clamps With Bolts
      G04866285Courtesy of © TOYOTA, LICENSE AGREEMENT TMS1002
  20. INSTALL NO. 1 TRANSMISSION CONTROL CABLE BRACKET 
    1. Install the cable bracket to the automatic transaxle with the 2 bolts.

      Torque: 12 N*m (122 kgf*cm, 9 ft.*lbf) 

      Fig 22: Identifying Transmission Control Cable Bracket
      G04866286Courtesy of © TOYOTA, LICENSE AGREEMENT TMS1002
  21. INSTALL TRANSMISSION OIL FILLER TUBE SUB-ASSEMBLY 
    1. Coat a new O-ring with ATF, and install it to the oil filler tube.
    2. Install the oil filler tube to the automatic transaxle with the bolt.

      Torque: 5.5 N*m (56 kgf*cm, 49 in.*lbf) 

    3. Install the ATF level gauge.
      Fig 23: Locating Oil Filler Tube To Automatic Transaxle With Bolt
      G04866287Courtesy of © TOYOTA, LICENSE AGREEMENT TMS1002
  22. INSTALL TRANSMISSION CONTROL CABLE CLAMP 
    1. Install the transmission control cable support to the automatic transaxle with the bolt.

      Torque: 12 N*m (122 kgf*cm, 9 ft.*lbf) 

      Fig 24: Locating Transmission Control Cable Clamp
      G04866288Courtesy of © TOYOTA, LICENSE AGREEMENT TMS1002
  23. INSTALL BREATHER PLUG HOSE 
    1. Install the hose to the oil filler tube sub-assembly and automatic transaxle.
      Fig 25: Identifying Breather Plug Hose
      G04866289Courtesy of © TOYOTA, LICENSE AGREEMENT TMS1002
  24. CONNECT CONNECTOR 
    1. Connect the 2 clamps to the oil filler tube.
    2. Connect the transmission wire connector.
    3. Connect the park/neutral position switch connector.
    4. Connect the 2 speed sensor connectors.
      Fig 26: Connecting Clamps To Oil Filler Tube
      G04866290Courtesy of © TOYOTA, LICENSE AGREEMENT TMS1002
  25. INSTALL WIRE HARNESS 
    1. Install the harness and wire harness bracket with the 2 bolts.

      Torque: 5.0 N*m (51 kgf*cm, 44 ft.*lbf) for bolt A 

      Torque: 8.4 N*m (86 kgf*cm, 74 in.*lbf) for bolt B 

      Fig 27: Identifying Harness And Wire Harness Bracket With Bolts
      G04866291Courtesy of © TOYOTA, LICENSE AGREEMENT TMS1002
  26. INSTALL TRANSMISSION CONTROL CABLE ASSEMBLY 
    1. Install the cable and clip to the bracket.
      Fig 28: Identifying Transmission Control Cable Clip
      G04866292Courtesy of © TOYOTA, LICENSE AGREEMENT TMS1002
    2. Temporarily install the cable to the control shaft lever with the nut.
    Fig 29: Locating Control Shaft Lever With Nut
    G04866293Courtesy of © TOYOTA, LICENSE AGREEMENT TMS1002
  27. INSTALL AIR CLEANER ASSEMBLY 

    Torque: 5.0 N*m (51 kgf*cm, 44 in.*lbf) 

  28. INSTALL BATTERY CARRIER 
    1. Install the carrier to the body with the 4 bolts.

      Torque: 13 N*m (132 kgf*cm, 10 ft.*lbf) 

    2. Fig 30: Locating Battery Carrier Bolts
      G04866294Courtesy of © TOYOTA, LICENSE AGREEMENT TMS1002
  29. INSTALL BATTERY 
  30. INSTALL NO. 1 ENGINE COVER SUB-ASSEMBLY 

    Torque: 7.0 N*m (71 kgf*cm, 62 in.*lbf) 

  31. INSTALL HOOD SUB-ASSEMBLY 

    Torque: 13 N*m (132 kgf*cm, 10 ft.*lbf) 

  32. INSPECT HOOD SUB-ASSEMBLY 
    1. Inspect the food (see ON-VEHICLE INSPECTION ).
  33. ADJUST HOOD SUB-ASSEMBLY 
    1. Adjust the food (see ADJUSTMENT ).
  34. ADD AUTOMATIC TRANSAXLE FLUID 

    Fluid type: Toyota Genuine ATF WS 

    Standard capacity: 3.5 liters (3.7 US qts, 3.1 lmp.qts) 

  35. ADJUST SHIFT LEVER POSITION 
    1. Adjust the lever position (see ADJUSTMENT  ).
  36. INSPECT SHIFT LEVER POSITION 
    1. Inspect the lever position (see MECHANICAL SYSTEM TESTS 
  37. INSPECT AUTOMATIC TRANSAXLE FLUID 
    1. Inspect the fluid (see AUTOMATIC TRANSAXLE FLUID  ).
  38. INSPECT AND ADJUST FRONT WHEEL ALIGNMENT 
    1. Inspect and adjust the wheel alignment (see ADJUSTMENT ).
  39. CHECK ABS SPEED SENSOR SIGNAL 
    1. Check the sensor signal (see DESCRIPTION ).
  40. RESET MEMORY 
    1. Reset memory (AT initialization) (see INITIALIZATION  ).
  41. PERFORM INITIALIZATION 
    1. Perform initialization (see INITIALIZATION ).
      NOTE: Certain systems need to be initialized after disconnecting and reconnecting the cable from the negative (-) battery terminal.