lemon-mirror:
Home >> Scion >> 2007 >> tC Base, Automatic >> Repair and Diagnosis >> Transmission >> Automatic Trans >> Automatic Transaxle >> Automatic Transaxle Assembly >> Removal

Automatic Transaxle Assembly: Removal

  1. REMOVE HOOD SUB-ASSEMBLY 
    1. Remove the hood (see HOOD ).
  2. REMOVE NO. 1 ENGINE COVER SUB-ASSEMBLY 
    1. Remove the 2 nuts and engine cover.
  3. REMOVE BATTERY 
    CAUTION: Wait at least 90 seconds after disconnecting the cable from the negative (-) battery terminal to prevent airbag and seat belt pretensioner activation.
  4. REMOVE BATTERY CARRIER 
    1. Remove the 4 bolts and battery carrier.
    2. Fig 1: Locating Battery Carrier Bolts
      G04866235Courtesy of © TOYOTA, LICENSE AGREEMENT TMS1002
  5. REMOVE AIR CLEANER ASSEMBLY 
  6. DISCONNECT TRANSMISSION CONTROL CABLE ASSEMBLY 
    1. Remove the nut from the control shaft lever.
    2. Disconnect the control cable from the control shaft lever.
      Fig 2: Locating Control Shaft Lever Nut
      G04866236Courtesy of © TOYOTA, LICENSE AGREEMENT TMS1002
    3. Remove the clip and disconnect the cable from the control cable bracket.
      Fig 3: Locating Control Cable Bracket Clip
      G04866237Courtesy of © TOYOTA, LICENSE AGREEMENT TMS1002
  7. DISCONNECT WIRE HARNESS 
    1. Remove the 2 bolts.
    2. Disconnect the harness and wire harness bracket.
      Fig 4: Locating Harness And Wire Harness Bracket Bolts
      G04866238Courtesy of © TOYOTA, LICENSE AGREEMENT TMS1002
  8. DISCONNECT CONNECTOR 
    1. Disconnect the 2 wire harness clamps from the oil filler tube.
    2. Disconnect the transmission wire connector.
    3. Disconnect the park/neutral position switch connector.
    4. Disconnect the 2 speed sensor connectors.
      Fig 5: Locating Wire Harness Clamps
      G04866239Courtesy of © TOYOTA, LICENSE AGREEMENT TMS1002
  9. REMOVE BREATHER PLUG HOSE 
    1. Remove the hose from the transmission oil filler tube and automatic transaxle.
      Fig 6: Identifying Hose From Transmission Oil Filler Tube And Automatic Transaxle
      G04866240Courtesy of © TOYOTA, LICENSE AGREEMENT TMS1002
  10. REMOVE TRANSMISSION CONTROL CABLE SUPPORT 
    1. Remove the bolt and transmission control cable support from the automatic transaxle.
      Fig 7: Locating Transmission Control Cable Support Bolt
      G04866241Courtesy of © TOYOTA, LICENSE AGREEMENT TMS1002
  11. REMOVE TRANSMISSION OIL FILLER TUBE SUB-ASSEMBLY 
    1. Remove the ATF level gauge.
    2. Remove the bolt and oil filler tube.
    3. Remove the O-ring from the oil filler tube.
      Fig 8: Locating Bolt And Oil Filler Tube
      G04866242Courtesy of © TOYOTA, LICENSE AGREEMENT TMS1002
  12. REMOVE NO. 1 TRANSMISSION CONTROL CABLE BRACKET 
    1. Remove the 2 bolts and bracket.
    2. Fig 9: Locating Transmission Control Cable Bracket Bolt
      G04866243Courtesy of © TOYOTA, LICENSE AGREEMENT TMS1002
  13. REMOVE WHEEL 
  14. REMOVE ENGINE UNDER COVER RH 
  15. REMOVE ENGINE UNDER COVER LH 
  16. DRAIN AUTOMATIC TRANSAXLE FLUID 
    1. Remove the drain plug and gasket, and drain the ATF.
    2. Install a new gasket and the drain plug.

      Torque: 49 N*m (500 kgf*cm, 36 ft.*lbf) 

  17. DISCONNECT NO. 1 OIL COOLER INLET TUBE 
  18. DISCONNECT NO. 1 OIL COOLER OUTLET TUBE 
    1. Disconnect the tube.
      Fig 10: Locating Oil Cooler Outlet Tube
      G04866244Courtesy of © TOYOTA, LICENSE AGREEMENT TMS1002
    2. Remove the 2 bolts and separate the 2 clamps.
      Fig 11: Locating Clamps And Bolts
      G04866245Courtesy of © TOYOTA, LICENSE AGREEMENT TMS1002
  19. SUSPEND ENGINE ASSEMBLY 
    1. Install the No. 1 and No. 2 engine hangers in the correct direction.

      Part No.:

      No. 1 engine hanger: 12281-28010 

      No. 2 engine hanger: 12282-28010 

      Bolts: 91512-61020 

      Torque: 38 N*m (387 kgf*cm, 28 ft.*lbf) 

    2. Attach the engine chain hoist to the engine hanger.
      CAUTION: Do not attempt to hang the engine by hooking the chain to any other part.
      Fig 12: Locating Engine Hangers
      G04866246Courtesy of © TOYOTA, LICENSE AGREEMENT TMS1002
  20. REMOVE EXHAUST PIPE ASSEMBLY FRONT 
    1. Remove the exhaust pipe (see REMOVAL ).
  21. REMOVE FRONT DRIVE SHAFT ASSEMBLY RH 
    1. Remove the drive shaft (see REMOVAL ).
  22. REMOVE FRONT DRIVE SHAFT ASSEMBLY LH 
    1. Remove the drive shaft (see REMOVAL ).
  23. REMOVE STARTER ASSEMBLY 
    1. Remove the nut and disconnect the starter wire.
    2. Disconnect the connector.
    3. Remove the 2 bolts and starter.
    Fig 13: Locating Bolts And Starter
    G04866247Courtesy of © TOYOTA, LICENSE AGREEMENT TMS1002
  24. SUPPORT AUTOMATIC TRANSAXLE ASSEMBLY 
    1. Support the transaxle with a transmission jack.
  25. DISCONNECT FRONT ENGINE MOUNTING INSULATOR 
    1. Remove the bolt and nut from the bracket.
    2. Disconnect the insulator from the bracket.
      Fig 14: Identifying Insulator Bracket Bolt And Nut
      G04866248Courtesy of © TOYOTA, LICENSE AGREEMENT TMS1002
  26. REMOVE REAR ENGINE MOUNTING INSULATOR 
    1. Disconnect the hose clamp from the insulator.
    2. Remove the bolt from the rear engine mounting bracket.
      Fig 15: Identifying Rear Engine Mounting Insulator
      G04866249Courtesy of © TOYOTA, LICENSE AGREEMENT TMS1002
    3. Remove the 3 nuts, bolt and insulator from the suspension member.
      Fig 16: Locating Suspension Member Nuts And Bolts
      G04866250Courtesy of © TOYOTA, LICENSE AGREEMENT TMS1002
  27. REMOVE CENTER ENGINE MOUNTING MEMBER SUB-ASSEMBLY 
    1. Remove the 4 bolts and member with the front engine mounting insulator.
      Fig 17: Locating Front Engine Mounting Insulator Bolts
      G04866251Courtesy of © TOYOTA, LICENSE AGREEMENT TMS1002
  28. REMOVE ENGINE MOUNTING INSULATOR LH 
    1. Remove the 5 bolts, nut and insulator.
      Fig 18: Locating Engine Mounting Insulator LH Bolts And NUT
      G04866252Courtesy of © TOYOTA, LICENSE AGREEMENT TMS1002
  29. REMOVE ENGINE MOUNTING BRACKET LH 
    1. Remove the 3 bolts and bracket from the automatic transaxle.
      Fig 19: Identifying Engine Mounting Bracket Bolts
      G04866253Courtesy of © TOYOTA, LICENSE AGREEMENT TMS1002
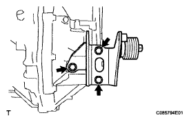
  30. REMOVE FRONT ENGINE MOUNTING BRACKET 
    1. Remove the 2 bolts and bracket from the automatic transaxle.
      Fig 20: Locating Front Engine Mounting Bracket Bolts
      G04866254Courtesy of © TOYOTA, LICENSE AGREEMENT TMS1002
  31. REMOVE REAR ENGINE MOUNTING BRACKET 
    1. Remove the 3 bolts and bracket from the automatic transaxle.
      Fig 21: Locating Rear Engine Mounting Bracket Bolts
      G04866255Courtesy of © TOYOTA, LICENSE AGREEMENT TMS1002
  32. REMOVE FLYWHEEL HOUSING UNDER COVER 
    1. Remove the cover from the automatic transaxle.
      Fig 22: Identifying Automatic Transaxle Cover
      G04866256Courtesy of © TOYOTA, LICENSE AGREEMENT TMS1002
  33. REMOVE AUTOMATIC TRANSAXLE ASSEMBLY 
    1. Turn the crankshaft to remove the 6 bolts while holding the crankshaft pulley bolt with a wrench.
      Fig 23: Locating Automatic Transaxle Assembly Bolts
      G04866257Courtesy of © TOYOTA, LICENSE AGREEMENT TMS1002
    2. Remove the 7 bolts.
    3. Remove the transaxle.
  34. REMOVE TORQUE CONVERTER CLUTCH ASSEMBLY 
    Fig 24: Locating Transaxle Bolts
    G04866258Courtesy of © TOYOTA, LICENSE AGREEMENT TMS1002