lemon-mirror:
Home >> Scion >> 2008 >> tC Base, Automatic >> Repair and Diagnosis >> Transmission >> Automatic Trans >> U241E Automatic Transaxle >> Automatic Transaxle Assembly >> Installation

Automatic Transaxle Assembly: Installation

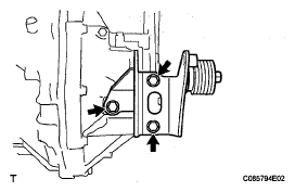
  1. INSTALL REAR ENGINE MOUNTING BRACKET 
    1. Install the bracket to the automatic transaxle with the 3 bolts.

      Torque: 64 N*m (653 kgf*cm, 47 ft.*lbf) 

      Fig 1: Identifying Rear Engine Mounting Bracket
      G05539495Courtesy of © TOYOTA, LICENSE AGREEMENT TMS1002
  2. INSTALL FRONT ENGINE MOUNTING BRACKET 
    1. Install the bracket to the automatic transaxle with the 2 bolts.

      Torque: 64 N*m (653 kgf*cm, 47 ft.*lbf) 

      Fig 2: Identifying Bracket To Automatic Transaxle With 2 Bolts
      G05539496Courtesy of © TOYOTA, LICENSE AGREEMENT TMS1002
  3. INSTALL ENGINE MOUNTING BRACKET LH 
    1. Install the bracket to the automatic transaxle with the 3 bolts.

      Torque: 64 N*m (653 kgf*cm, 47 ft.*lbf) 

      Fig 3: Identifying Engine Mounting Bracket LH
      G05539497Courtesy of © TOYOTA, LICENSE AGREEMENT TMS1002
  4. INSTALL TORQUE CONVERTER CLUTCH ASSEMBLY 
    1. Using a vernier caliper, measure dimension "A" between the transaxle fitting part of the engine and the converter fitting part of the drive plate.
      Fig 4: Identifying Dimension "A" Between Transaxle Fitting Part Of Engine And Converter Fitting Part Of Drive Plate
      G05539498Courtesy of © TOYOTA, LICENSE AGREEMENT TMS1002
    2. Set the key of the front oil pump drive gear to the top and put a mark on the housing.
      Fig 5: Identifying Key Of Front Oil Pump Drive Gear To Top
      G05539499Courtesy of © TOYOTA, LICENSE AGREEMENT TMS1002
    3. Put a mark on the torque converter clutch so that its groove can be clearly indicated.
      Fig 6: Identifying Mark On Torque Converter Clutch
      G05539500Courtesy of © TOYOTA, LICENSE AGREEMENT TMS1002
    4. Match the 2 marks on the transaxle case and the torque converter clutch and fit the spline part of the input shaft to the spline part of the turbine runner.
      Fig 7: Identifying Marks On Transaxle Case And Torque Converter Clutch
      G05539501Courtesy of © TOYOTA, LICENSE AGREEMENT TMS1002
    5. Rotating the torque converter clutch, fit the spline part of the stator shaft with the spline part of the stator.

      HINT:

      Rotate it about 180°.

      Fig 8: Identifying Torque Converter Clutch
      G05539502Courtesy of © TOYOTA, LICENSE AGREEMENT TMS1002
    6. Rotating the torque converter clutch, match the 2 marks on the case and the torque converter clutch again and fit the key of the oil bump drive gear into the key way of the torque converter clutch.
      NOTE: When rotating the torque converter clutch, do not push it with excessive force.
      Fig 9: Identifying Marks On Case
      G05539503Courtesy of © TOYOTA, LICENSE AGREEMENT TMS1002
    7. Using a vernier caliper and straightedge, measure dimension B shown in the illustration and check that B is greater than A.

      Standard dimension: B = A + 1.0 mm (0.039 in.) or more 

      Fig 10: Identifying Dimension B
      G05539504Courtesy of © TOYOTA, LICENSE AGREEMENT TMS1002
  5. INSTALL AUTOMATIC TRANSAXLE ASSEMBLY 
    1. Install the transaxle to the engine with the 7 bolts.

      Torque: 64 N*m (653 kgf*cm, 47 ft.*lbf) for bolt A 

      46 N*m (469 kgf*cm, 34 ft.*lbf) for bolt B 

      44 N*m (449 kgf*cm, 32 ft.*lbf) for bolt C 

      Fig 11: Identifying Transaxle To Engine With Bolts
      G05539505Courtesy of © TOYOTA, LICENSE AGREEMENT TMS1002
    2. Install the 6 torque converter clutch mounting bolts.

      Torque: 41 N*m (418 kgf*cm, 30 ft.*lbf) 

      HINT:

      First install the black colored bolt, and then the remaining 5 bolts.

      Fig 12: Identifying 6 Torque Converter Clutch Mounting Bolts
      G05539506Courtesy of © TOYOTA, LICENSE AGREEMENT TMS1002
  6. INSTALL FLYWHEEL HOUSING UNDER COVER 
    1. Install the cover to the automatic transaxle.
      Fig 13: Identifying Cover To Automatic Transaxle
      G05539507Courtesy of © TOYOTA, LICENSE AGREEMENT TMS1002
  7. INSTALL ENGINE MOUNTING INSULATOR LH 
    1. Install the engine mounting insulator LH with the 5 bolts and nut.

      Torque: 52 N*m (530 kgf*cm, 38 ft.*lbf) for bolt A 

      87 N*m (887 kgf*cm, 64 ft.*lbf) for nut B 

      Fig 14: Identifying Engine Mounting Insulator LH
      G05539508Courtesy of © TOYOTA, LICENSE AGREEMENT TMS1002
  8. INSTALL CENTER ENGINE MOUNTING MEMBER SUB-ASSEMBLY 
    1. Install the engine mounting member with the 4 bolts.

      Torque: 45 N*m (459 kgf*cm, 33 ft.*lbf) for bolt A 

      65 N*m (663 kgf*cm, 48 ft.*lbf) for bolt B 

      Fig 15: Identifying Left Engine Mounting Member Sub-Assembly
      G05539509Courtesy of © TOYOTA, LICENSE AGREEMENT TMS1002
  9. INSTALL REAR ENGINE MOUNTING INSULATOR 
    1. Install the insulator to the rear engine mounting bracket with the bolt.

      Torque: 87 N*m (887 kgf*cm, 64 ft.*lbf) 

      Fig 16: Identifying Insulator To Rear Engine Mounting Bracket With Bolt
      G05539510Courtesy of © TOYOTA, LICENSE AGREEMENT TMS1002
    2. Tighten the 3 nuts and bolt.

      Torque: 65 N*m (663 kgf*cm, 48 ft.*lbf) 

      Fig 17: Identifying 3 Nuts And Bolt
      G05539511Courtesy of © TOYOTA, LICENSE AGREEMENT TMS1002
  10. INSTALL FRONT ENGINE MOUNTING INSULATOR 
    1. Install the insulator to the front engine mounting bracket with the bolt and nut.

      Torque: 52 N*m (530 kgf*cm, 38 ft.*lbf) 

      Fig 18: Identifying Front Engine Mounting Insulator
      G05539512Courtesy of © TOYOTA, LICENSE AGREEMENT TMS1002
  11. INSTALL STARTER ASSEMBLY 
    1. Install the starter with the 2 bolts.

      Torque: 64 N*m (653 kgf*cm, 47 ft.*lbf) 

    2. Connect the connector.
    3. Install the starter wire with the nut.

      Torque: 9.8 N*m (100 kgf*cm, 87 in.*lbf) 

  12. INSTALL FRONT DRIVE SHAFT ASSEMBLY LH 
    1. Install the drive shaft (see INSTALLATION ).
  13. INSTALL FRONT DRIVE SHAFT ASSEMBLY RH 
    1. Install the drive shaft (see INSTALLATION ).
      Fig 19: Identifying Front Drive Shaft Assembly Rh
      G05539513Courtesy of © TOYOTA, LICENSE AGREEMENT TMS1002
  14. INSTALL FRONT EXHAUST PIPE ASSEMBLY 
    1. Install the exhaust pipe (See INSTALLATION ).
  15. INSTALL NO. 1 OIL COOLER OUTLET TUBE 
    1. Tighten the No. 1 oil cooler outlet tube.

      Torque: 34 N*m (347 kgf*cm, 25 ft.*lbf) 

  16. INSTALL NO. 1 OIL COOLER INLET TUBE 
    1. Tighten the No. 1 oil cooler inlet tube.

      Torque: 34 N*m (347 kgf*cm, 25 ft.*lbf) 

      Fig 20: Identifying No. 1 Oil Cooler Outlet Tube
      G05539514Courtesy of © TOYOTA, LICENSE AGREEMENT TMS1002
    2. Install the 2 oil cooler tube clamps with the 2 bolts.

      Torque: 5.5 N*m (56 kgf*cm, 49 in.*lbf) for bolt A 

      12 N*m (122 kgf*cm, 9 ft.*lbf) for bolt B 

      Fig 21: Identifying Cable Bracket To Automatic Transaxle With 2 Bolts
      G05539515Courtesy of © TOYOTA, LICENSE AGREEMENT TMS1002
  17. INSTALL NO. 1 TRANSMISSION CONTROL CABLE BRACKET 
    1. Install the cable bracket to the automatic transaxle with the 2 bolts.

      Torque: 12 N*m (122 kgf*cm, 9 ft.*lbf) 

      Fig 22: Identifying Oil Filler Tube To Automatic Transaxle With Bolt
      G05539516Courtesy of © TOYOTA, LICENSE AGREEMENT TMS1002
  18. INSTALL TRANSMISSION OIL FILLER TUBE SUB-ASSEMBLY 
    1. Coat a new O-ring with ATF, and install it to the oil filler tube.
    2. Install the oil filler tube to the automatic transaxle with the bolt.

      Torque: 5.5 N*m (56 kgf*cm, 49 in.*lbf) 

    3. Install the ATF level gauge.
      Fig 23: Identifying ATF Level Gauge
      G05539517Courtesy of © TOYOTA, LICENSE AGREEMENT TMS1002
  19. INSTALL TRANSMISSION CONTROL CABLE CLAMP 
    1. Install the transmission control cable support to the automatic transaxle with the bolt.

      Torque: 12 N*m (122 kgf*cm, 9 ft.*lbf) 

      Fig 24: Identifying Transmission Control Cable Support To Automatic Transaxle With Bolt
      G05539518Courtesy of © TOYOTA, LICENSE AGREEMENT TMS1002
  20. INSTALL BREATHER PLUG HOSE 
    1. Install the hose to the oil filler tube sub-assembly and automatic transaxle.
      Fig 25: Identifying Breather Plug Hose
      G05539519Courtesy of © TOYOTA, LICENSE AGREEMENT TMS1002
  21. CONNECT CONNECTOR 
    1. Connect the 2 clamps to the oil filler tube.
    2. Connect the transmission wire connector.
    3. Connect the park/neutral position switch connector.
    4. Connect the 2 speed sensor connectors.
      Fig 26: Identifying Connector
      G05539520Courtesy of © TOYOTA, LICENSE AGREEMENT TMS1002
  22. INSTALL WIRE HARNESS 
    1. Install the harness and wire harness bracket with the 2 bolts.

      Torque: 5.0 N*m (51 kgf*cm, 44 ft.*lbf) for bolt A 

      Torque: 8.4 N*m (86 kgf*cm, 74 in.*lbf) for bolt B 

      Fig 27: Identifying Wire Harness
      G05539521Courtesy of © TOYOTA, LICENSE AGREEMENT TMS1002
  23. INSTALL TRANSMISSION CONTROL CABLE ASSEMBLY 
    1. Install the cable and clip to the bracket.
      Fig 28: Identifying Transmission Control Cable Assembly
      G05539522Courtesy of © TOYOTA, LICENSE AGREEMENT TMS1002
    2. Temporarily install the cable to the control shaft lever with the nut.
  24. INSTALL AIR CLEANER ASSEMBLY 

    Torque: 5.0 N*m (51 kgf*cm, 44 in.*lbf) 

    Fig 29: Identifying Air Cleaner Assembly
    G05539523Courtesy of © TOYOTA, LICENSE AGREEMENT TMS1002
  25. INSTALL BATTERY CARRIER 
    1. Install the carrier to the body with the 4 bolts.

      Torque: 13 N*m (132 kgf*cm, 10 ft.*lbf) 

    Fig 30: Identifying Carrier To Body With 4 Bolts
    G05539524Courtesy of © TOYOTA, LICENSE AGREEMENT TMS1002
  26. INSTALL BATTERY 
  27. INSTALL NO. 1 ENGINE COVER SUB-ASSEMBLY 

    Torque: 7.0 N*m (71 kgf*cm, 62 in.*lbf) 

  28. INSTALL HOOD SUB-ASSEMBLY 

    Torque: 13 N*m (132 kgf*cm, 10 ft.*lbf) 

  29. INSPECT HOOD SUB-ASSEMBLY 
    1. Inspect the food (See ADJUSTMENT ).
  30. ADJUST HOOD SUB-ASSEMBLY 
    1. Adjust the food (See ADJUSTMENT ).
  31. ADD AUTOMATIC TRANSAXLE FLUID 

    Fluid type: Toyota Genuine ATF WS 

    Standard capacity: 3.5 liters (3.7 US qts, 3.1 lmp.qts) 

  32. ADJUST SHIFT LEVER POSITION 
    1. Adjust the lever position (see ADJUSTMENT  ).
  33. INSPECT SHIFT LEVER POSITION 
    1. Inspect the lever position (see ADJUSTMENT  ).
  34. INSPECT AUTOMATIC TRANSAXLE FLUID 
    1. Inspect the fluid (see ON-VEHICLE INSPECTION  ).
  35. INSPECT AND ADJUST FRONT WHEEL ALIGNMENT 
    1. Inspect and adjust the wheel alignment (see ADJUSTMENT ).
  36. CHECK ABS SPEED SENSOR SIGNAL 
    1. Check the sensor signal (see DTC C0200/31 RIGHT FRONT WHEEL SPEED SENSOR SIGNAL MALFUNCTION; DTC C0205/32 LEFT FRONT WHEEL SPEED SENSOR SIGNAL MALFUNCTION; DTC C1235/35 FOREIGN OBJECT IS ATTACHED ON TIP OF FRONT SPEED SENSOR RH; DTC C1236/36 FOREIGN OBJECT IS ATTACHED ON TIP OF FRONT SPEED SENSOR LH; DTC C1271/71 LOW OUTPUT SIGNAL OF FRONT SPEED SENSOR RH (TEST MODE DTC); DTC C1272/72 LOW OUTPUT SIGNAL OF FRONT SPEED SENSOR LH (TEST MODE DTC); DTC C1275/75 ABNORMAL CHANGE IN OUTPUT SIGNAL OF FRONT SPEED SENSOR RH (TEST MODE DTC); DTC C1276/76 ABNORMAL CHANGE IN OUTPUT SIGNAL OF FRONT SPEED SENSOR LH (TEST MODE DTC) .
  37. RESET MEMORY 
    1. Reset memory (AT initialization) (see INITIALIZATION  ).
  38. PERFORM INITIALIZATION 
    1. Perform initialization (see INITIALIZATION ).
      NOTE: Certain systems need to be initialized after disconnecting and reconnecting the cable from the negative (-) battery terminal.
  39. INSTALL ENGINE UNDER COVER LH 
  40. INSTALL ENGINE UNDER COVER RH 
  41. INSTALL FRONT WHEEL 

    Torque: 103 N*m (1050 kgf*cm, 76 ft.*lbf)