lemon-mirror:
Home >> Scion >> 2008 >> xB Automatic >> Repair and Diagnosis >> Transmission >> Automatic Trans >> U241E Automatic Transaxle >> Automatic Transaxle Unit >> Disassembly

Automatic Transaxle Unit: Disassembly

  1. REMOVE PARK/NEUTRAL POSITION SWITCH ASSEMBLY 
    1. Remove the nut and remove the control shaft lever.
      Fig 1: Locating Nut And Control Shaft Lever
      G05388256Courtesy of © TOYOTA, LICENSE AGREEMENT TMS1002
    2. Using a screwdriver, pry out the lock plate. Then remove the manual valve shaft nut and lock plate.
      Fig 2: Prying Out Lock Plate
      G05388257Courtesy of © TOYOTA, LICENSE AGREEMENT TMS1002
    3. Remove the 2 bolts and pull out the park/neutral position switch assembly from the manual valve lever shaft.
    Fig 3: Locating Bolts And Park/Neutral Position Switch Assembly
    G05388258Courtesy of © TOYOTA, LICENSE AGREEMENT TMS1002
  2. REMOVE BREATHER PLUG HOSE 
    1. Remove the breather plug hose from the breather plug.
  3. REMOVE OUTLET OIL COOLER TUBE UNION 
    1. Remove the outlet oil cooler tube union.
    2. Remove the O-ring from the outlet oil cooler tube union.
      Fig 4: Identifying O-Ring And Outlet Oil Cooler Tube Union
      G05388259Courtesy of © TOYOTA, LICENSE AGREEMENT TMS1002
  4. REMOVE INLET OIL COOLER TUBE UNION 
    1. Remove the inlet oil cooler tube union.
    2. Remove the O-ring from the inlet oil cooler tube union.
      Fig 5: Identifying O-Ring And Inlet Oil Cooler Tube Union
      G05388260Courtesy of © TOYOTA, LICENSE AGREEMENT TMS1002
  5. REMOVE SPEED SENSOR NT 
    1. Remove the bolt and remove the speed sensor NT.
    2. Remove the O-ring from the speed sensor NT.
  6. REMOVE SPEED SENSOR NC 
    1. Remove the bolt and remove the speed sensor NC.
    2. Remove the O-ring from the speed sensor NT.
      Fig 6: Identifying Speed Sensor NC And Speed Sensor NT
      G05388261Courtesy of © TOYOTA, LICENSE AGREEMENT TMS1002
  7. REMOVE NO. 1 TRANSAXLE CASE PLUG 
    1. Remove the 4 No. 1 transaxle case plugs from the transaxle case.
      Fig 7: Identifying No. 1 Transaxle Case Plugs
      G05388262Courtesy of © TOYOTA, LICENSE AGREEMENT TMS1002
    2. Remove the 2 No. 1 transaxle case plugs from the transaxle housing.
      Fig 8: Identifying No. 1 Transaxle Case Plugs
      G05388263Courtesy of © TOYOTA, LICENSE AGREEMENT TMS1002
    3. Remove the 2 No. 1 transaxle case plugs from the transaxle rear cover.
      Fig 9: Identifying No. 1 Transaxle Case Plugs
      G05388264Courtesy of © TOYOTA, LICENSE AGREEMENT TMS1002
    4. Remove the 8 O-rings from the 8 No. 1 transaxle case plugs.
  8. FIX AUTOMATIC TRANSAXLE ASSEMBLY 
  9. REMOVE AUTOMATIC TRANSAXLE OIL PAN SUB-ASSEMBLY 
    1. Remove the 18 bolts and remove the automatic transaxle oil pan sub-assembly and oil pan gasket.
      Fig 10: Locating Bolts And Automatic Transaxle Oil Pan Sub-Assembly
      G05388265Courtesy of © TOYOTA, LICENSE AGREEMENT TMS1002
    2. Remove the 2 oil cleaner magnets from the automatic transaxle oil pan sub-assembly.
  10. INSPECT AUTOMATIC TRANSAXLE OIL PAN SUB-ASSEMBLY  (See INSPECTION  )
    Fig 11: Locating Oil Cleaner Magnets
    G05388050Courtesy of © TOYOTA, LICENSE AGREEMENT TMS1002
  11. REMOVE VALVE BODY OIL STRAINER ASSEMBLY 
    1. Remove the 3 bolts and remove the valve body oil strainer assembly.
      Fig 12: Locating Bolts And Valve Body Oil Strainer Assembly
      G05388267Courtesy of © TOYOTA, LICENSE AGREEMENT TMS1002
    2. Remove the O-ring from the valve body oil strainer assembly
      Fig 13: Locating O-Ring
      G05388268Courtesy of © TOYOTA, LICENSE AGREEMENT TMS1002
  12. REMOVE TRANSMISSION WIRE 
    1. Disconnect the 5 shift solenoid valve connectors.
    2. Remove the bolt and lock plate and separate the ATF temperature sensor.
      Fig 14: Locating Bolt And Lock Plate
      G05388269Courtesy of © TOYOTA, LICENSE AGREEMENT TMS1002
    3. Remove the bolt and transaxle solenoid wire from the transaxle.
      Fig 15: Locating Bolt And Transaxle Solenoid Wire
      G05388270Courtesy of © TOYOTA, LICENSE AGREEMENT TMS1002
    4. Remove the O-ring from the transaxle solenoid wire.
      Fig 16: Locating O-Ring
      G05245952Courtesy of © TOYOTA, LICENSE AGREEMENT TMS1002
  13. REMOVE TRANSMISSION VALVE BODY ASSEMBLY 
    1. Support the valve body assembly and remove the 17 bolts and the transmission valve body assembly.
      Fig 17: Locating Transmission Valve Body Assembly Bolts
      G05388272Courtesy of © TOYOTA, LICENSE AGREEMENT TMS1002
  14. REMOVE NO. 1 GOVERNOR APPLY GASKET 
    1. Remove the governor apply gasket from the transaxle.
      Fig 18: Locating Governor Apply Gasket
      G05388273Courtesy of © TOYOTA, LICENSE AGREEMENT TMS1002
  15. REMOVE TRANSAXLE CASE 2ND BRAKE GASKET 
    1. Remove the 2nd brake gasket from the transaxle.
      Fig 19: Locating 2nd Brake Gasket
      G05388274Courtesy of © TOYOTA, LICENSE AGREEMENT TMS1002
  16. REMOVE BRAKE DRUM GASKET 
    1. Remove the brake drum gasket from the transaxle.
      Fig 20: Locating Brake Drum Gasket
      G05388275Courtesy of © TOYOTA, LICENSE AGREEMENT TMS1002
  17. REMOVE CHECK BALL BODY 
    1. Remove the check ball body and spring from the transaxle.
      Fig 21: Identifying Check Ball Body And Spring
      G05388276Courtesy of © TOYOTA, LICENSE AGREEMENT TMS1002
  18. REMOVE C-3 ACCUMULATOR PISTON 
    1. Remove the compression spring from the C-3 accumulator piston.
      Fig 22: Identifying Compression Spring
      G05388277Courtesy of © TOYOTA, LICENSE AGREEMENT TMS1002
    2. Apply compressed air (392 kPa, 4.0 kgf/cm2 , 57 psi) to the oil hole and remove the C-3 accumulator piston.
      NOTE:
      • Applying the air may cause the piston to jump out. When removing the piston, hold it using a piece of cloth.
      • Do not splash ATF with the compressed air.
        Fig 23: Applying Compressed Air To Oil Hole
        G05388278Courtesy of © TOYOTA, LICENSE AGREEMENT TMS1002
    3. Remove the O-ring from the C-3 accumulator piston.
      Fig 24: Locating O-Ring And C-3 Accumulator Piston
      G05388279Courtesy of © TOYOTA, LICENSE AGREEMENT TMS1002
  19. REMOVE C-1 ACCUMULATOR PISTON 
    1. Apply compressed air (392 kPa, 4.0 kgf/cm2 , 57 psi) to the oil hole and remove the C-1 accumulator piston and compression spring.
      Fig 25: Removing C-1 Accumulator Piston And Compression Spring
      G05388280Courtesy of © TOYOTA, LICENSE AGREEMENT TMS1002
      NOTE:
      • Applying the air may cause the piston to jump out. When removing the piston, hold it using a piece of cloth.
      • Do not splash ATF with the compressed air.
    2. Remove the 2 O-rings from the C-1 accumulator piston.
      Fig 26: Locating O-Rings
      G05388281Courtesy of © TOYOTA, LICENSE AGREEMENT TMS1002
  20. REMOVE B-3 ACCUMULATOR PISTON 
    1. Apply compressed air (392 kPa, 4.0 kgf/cm2 , 57 psi) to the oil hole and remove the B-3 accumulator piston and 2 compression springs.
      NOTE:
      • Applying the air may cause the piston to jump out. When removing the piston, hold it using a piece of cloth.
      • Do not splash ATF with the compressed air.
        Fig 27: Applying Compressed Air To Oil Hole
        G05388282Courtesy of © TOYOTA, LICENSE AGREEMENT TMS1002
    2. Remove the O-ring from the B-3 accumulator piston.
      Fig 28: Identifying O-Ring And B-3 Accumulator Piston
      G05388283Courtesy of © TOYOTA, LICENSE AGREEMENT TMS1002
  21. REMOVE MANUAL DETENT SPRING SUB-ASSEMBLY 
    1. Remove the 2 bolts, manual detent spring and cover.
      Fig 29: Locating Bolts, Manual Detent Spring And Cover
      G05388284Courtesy of © TOYOTA, LICENSE AGREEMENT TMS1002
  22. REMOVE PARKING LOCK PAWL BRACKET 
    1. Remove the 2 bolts and parking lock pawl bracket.
      Fig 30: Locating Bolts And Parking Lock Pawl Bracket
      G05388285Courtesy of © TOYOTA, LICENSE AGREEMENT TMS1002
  23. REMOVE MANUAL VALVE LEVER SHAFT RETAINER SPRING 
    1. Using needle-nose pliers, remove the retainer spring.
      Fig 31: Removing Retainer Spring
      G05388286Courtesy of © TOYOTA, LICENSE AGREEMENT TMS1002
  24. REMOVE MANUAL VALVE LEVER SUB-ASSEMBLY 
    1. Using a chisel and hammer, unstake and remove the manual valve lever spacer.
      Fig 32: Unstaking Manual Valve Lever Spacer
      G05388287Courtesy of © TOYOTA, LICENSE AGREEMENT TMS1002
    2. Using a pin punch and hammer, tap out the manual valve lever shaft spring pin.

      HINT:

      Drive the pin out slowly so that it will not fall into the transaxle.

      Fig 33: Tapping Out Manual Valve Lever Shaft Spring Pin
      G05388288Courtesy of © TOYOTA, LICENSE AGREEMENT TMS1002
    3. Remove the manual valve lever shaft and manual valve lever.
      Fig 34: Removing Manual Valve Lever Shaft And Manual Valve Lever
      G05388289Courtesy of © TOYOTA, LICENSE AGREEMENT TMS1002
  25. REMOVE PARKING LOCK ROD SUB-ASSEMBLY 
    1. Remove the parking lock rod from the manual valve lever.
      Fig 35: Removing Parking Lock Rod From Manual Valve Lever
      G05388290Courtesy of © TOYOTA, LICENSE AGREEMENT TMS1002
  26. REMOVE MANUAL VALVE LEVER SHAFT OIL SEAL 
    1. Using a screwdriver, pry the oil seal out from the transaxle.
      Fig 36: Prying Oil Seal Out From Transaxle
      G05388291Courtesy of © TOYOTA, LICENSE AGREEMENT TMS1002
  27. INSPECT INPUT SHAFT END PLAY  (See INSPECTION  )
  28. REMOVE TRANSAXLE HOUSING 
    1. Remove the 18 bolts.
    2. Tap on the circumference of the transaxle housing with a plastic-faced hammer to remove the transaxle housing from the transaxle.
      NOTE: Differential may be accidentally removed when the transaxle housing is removed.
      Fig 37: Locating Transaxle Housing Bolts
      G05388292Courtesy of © TOYOTA, LICENSE AGREEMENT TMS1002
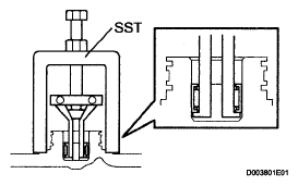
  29. REMOVE UNDERDRIVE CYLINDRICAL ROLLER BEARING 
    1. Using SST, remove the cylindrical roller bearing from the transaxle.

      SST 09514-35011 

      Fig 38: Removing Cylindrical Roller Bearing From Transaxle
      G05240709Courtesy of © TOYOTA, LICENSE AGREEMENT TMS1002
  30. REMOVE UNDERDRIVE OUTPUT SHAFT OIL SEAL RING 
    1. Remove the oil seal ring from the transaxle housing.
      Fig 39: Identifying Oil Seal Ring
      G05388294Courtesy of © TOYOTA, LICENSE AGREEMENT TMS1002
  31. REMOVE OIL PUMP ASSEMBLY 
    1. Remove the 7 bolts and oil pump assembly from the transaxle.
      Fig 40: Locating Bolts And Oil Pump Assembly
      G04976123Courtesy of © TOYOTA, LICENSE AGREEMENT TMS1002
  32. REMOVE THRUST NEEDLE ROLLER BEARING 
    1. Remove thrust needle roller bearing from the underdrive planetary gear.
      Fig 41: Identifying Thrust Needle Roller Bearing
      G05388296Courtesy of © TOYOTA, LICENSE AGREEMENT TMS1002
  33. REMOVE NO. 2 THRUST BEARING UNDERDRIVE RACE 
    1. Remove the thrust bearing race from the underdrive planetary gear.
      Fig 42: Identifying Thrust Bearing Race
      G05388297Courtesy of © TOYOTA, LICENSE AGREEMENT TMS1002
  34. REMOVE FRONT DIFFERENTIAL ASSEMBLY 
    1. Remove the front differential from the transaxle.
      Fig 43: Removing Front Differential From Transaxle
      G05388298Courtesy of © TOYOTA, LICENSE AGREEMENT TMS1002
  35. REMOVE OVERDRIVE BRAKE GASKET 
    1. Remove the 2 overdrive brake gaskets from the transaxle.
      Fig 44: Removing Overdrive Brake Gaskets From Transaxle
      G05388299Courtesy of © TOYOTA, LICENSE AGREEMENT TMS1002
  36. REMOVE FORWARD CLUTCH ASSEMBLY 
    1. Remove the forward clutch from the transaxle.
      Fig 45: Identifying Forward Clutch
      G05388300Courtesy of © TOYOTA, LICENSE AGREEMENT TMS1002
    2. Remove the thrust bearing from the forward clutch.
      Fig 46: Identifying Thrust Bearing
      G05388301Courtesy of © TOYOTA, LICENSE AGREEMENT TMS1002
  37. REMOVE MULTIPLE DISC CLUTCH HUB 
    1. Remove the thrust bearing, multiple clutch hub, needle roller bearing and bearing race from the transaxle.
      Fig 47: Identifying Thrust Bearing, Multiple Clutch Hub, Needle Roller Bearing And Bearing Race
      G05388302Courtesy of © TOYOTA, LICENSE AGREEMENT TMS1002
  38. REMOVE UNDERDRIVE PLANETARY GEAR ASSEMBLY 
    1. Remove the bolt and parking pawl shaft damp.
      Fig 48: Identifying Bolt And Parking Pawl Shaft Damp
      G05388303Courtesy of © TOYOTA, LICENSE AGREEMENT TMS1002
    2. Remove the parking lock pawl shaft.
      Fig 49: Locating Parking Lock Pawl Shaft
      G05388304Courtesy of © TOYOTA, LICENSE AGREEMENT TMS1002
    3. Push the parking lock pawl.

      HINT:

      Failure to do so will cause interference when the underdrive planetary gear is removed.

      Fig 50: Locating Parking Lock Pawl
      G05388305Courtesy of © TOYOTA, LICENSE AGREEMENT TMS1002
    4. Remove the underdrive planetary gear from the transaxle.
      NOTE: Be careful so that the underdrive planetary gear assembly will not fall out.
      Fig 51: Removing Underdrive Planetary Gear From Transaxle
      G05388306Courtesy of © TOYOTA, LICENSE AGREEMENT TMS1002
    5. Remove the spring, pawl pin and parking lock pawl.
      Fig 52: Identifying Spring, Pawl Pin And Parking Lock Pawl
      G05388307Courtesy of © TOYOTA, LICENSE AGREEMENT TMS1002
  39. REMOVE UNDERDRIVE CLUTCH ASSEMBLY 
    1. Remove the underdrive clutch assembly, needle roller bearing, and thrust bearing underdrive race from the transaxle.
      Fig 53: Identifying Underdrive Clutch Assembly, Needle Roller Bearing, And Thrust Bearing Underdrive Race
      G05388308Courtesy of © TOYOTA, LICENSE AGREEMENT TMS1002
  40. REMOVE UNDERDRIVE 1-WAY CLUTCH ASSEMBLY 
    1. Using a screwdriver, pry the snap ring out from the transaxle.
      Fig 54: Prying Snap Ring Out From Transaxle
      G05388309Courtesy of © TOYOTA, LICENSE AGREEMENT TMS1002
    2. Remove the 1-way clutch from the transaxle.
      Fig 55: Identifying 1-Way Clutch
      G05388310Courtesy of © TOYOTA, LICENSE AGREEMENT TMS1002
    3. Remove the outer race retainer from the 1-way clutch.
      Fig 56: Identifying Outer Race Retainer
      G05388311Courtesy of © TOYOTA, LICENSE AGREEMENT TMS1002
  41. REMOVE NO. 2 UNDERDRIVE CLUTCH DISC 
    1. Using a screwdriver, pry the snap ring out from the transaxle.
      Fig 57: Prying Snap Ring Out From Transaxle
      G05388312Courtesy of © TOYOTA, LICENSE AGREEMENT TMS1002
    2. Remove the flange, 3 discs and 3 plates from the transaxle.
      Fig 58: Identifying Flange, Discs And Plates
      G05388313Courtesy of © TOYOTA, LICENSE AGREEMENT TMS1002
  42. REMOVE UNDERDRIVE BRAKE RETURN SPRING SUB-ASSEMBLY 
    1. Using SST, a snap ring expander and press, remove the snap ring from the transaxle.

      SST 09387-00020 

      Fig 59: Removing Snap Ring From Transaxle
      G05246137Courtesy of © TOYOTA, LICENSE AGREEMENT TMS1002
    2. Remove the underdrive brake return spring from the underdrive brake piston.
      Fig 60: Removing Underdrive Brake Return Spring
      G05388315Courtesy of © TOYOTA, LICENSE AGREEMENT TMS1002
  43. REMOVE UNDERDRIVE CLUTCH DRUM OIL SEAL RING 
    1. Remove the 2 oil seal rings from the transaxle.
      Fig 61: Identifying Oil Seal Rings From Transaxle
      G05388316Courtesy of © TOYOTA, LICENSE AGREEMENT TMS1002
  44. REMOVE REAR TRANSAXLE COVER SUB-ASSEMBLY 
    1. Remove the 11 bolts.
    2. Tap the circumference of the rear cover with a plastic-faced hammer to remove the transaxle rear cover from the transaxle.
      Fig 62: Identifying Transaxle Rear Cover Bolts
      G05388317Courtesy of © TOYOTA, LICENSE AGREEMENT TMS1002
    3. Remove the 2 outer rear clutch oil seal rings from the transaxle rear cover.
      Fig 63: Identifying Outer Rear Clutch Oil Seal Rings
      G05388318Courtesy of © TOYOTA, LICENSE AGREEMENT TMS1002
    4. Using a T30 "TORX" socket wrench, remove the 2 bolts and transaxle rear cover plate.
      Fig 64: Identifying Bolts And Transaxle Rear Cover Plate
      G05388319Courtesy of © TOYOTA, LICENSE AGREEMENT TMS1002
    5. Using SST, remove the needle-roller bearing from the transaxle rear cover.

      SST 09387-00041 (09387-01010, 09387-01030, 09387-01040) 

      Fig 65: Identifying Needle-Roller Bearing From Transaxle Rear Cover
      G05246143Courtesy of © TOYOTA, LICENSE AGREEMENT TMS1002
  45. REMOVE UNDERDRIVE BRAKE PISTON 
    1. Apply compressed air (392 kPa, 4.0 kgf/cm2 , 57 psi) to the transaxle case to remove the underdrive brake piston.
      NOTE:
      • Applying the air may cause the piston to jump out. When removing the piston, hold it using a piece of cloth.
      • Do not splash ATF with the compressed air.
        Fig 66: Applying Compressed Air To Transaxle Case
        G05388321Courtesy of © TOYOTA, LICENSE AGREEMENT TMS1002
    2. Remove the 2 O-rings from the underdrive brake piston.
      Fig 67: Locating O-Rings
      G05388322Courtesy of © TOYOTA, LICENSE AGREEMENT TMS1002
  46. REMOVE BRAKE APPLY TUBE 
    1. Remove the bolt, clamp and 2 brake apply tubes.
    2. Remove the brake apply tube from the clamp.
    Fig 68: Identifying Brake Apply Tube
    G05388323Courtesy of © TOYOTA, LICENSE AGREEMENT TMS1002
  47. REMOVE FRONT CLUTCH APPLY TUBE 
  48. REMOVE NO. 1 GOVERNOR APPLY GASKET 
    1. Using a screwdriver, remove the 2 governor apply gaskets.
      Fig 69: Locating Governor Apply Gaskets
      G05246145Courtesy of © TOYOTA, LICENSE AGREEMENT TMS1002
  49. REMOVE DIRECT CLUTCH ASSEMBLY 
    1. Remove the thrust bearing and direct clutch from the transaxle.
      Fig 70: Identifying Thrust Bearing And Direct Clutch
      G05388325Courtesy of © TOYOTA, LICENSE AGREEMENT TMS1002
    2. Remove the bearing race from the direct clutch.
      Fig 71: Identifying Bearing Race
      G05388326Courtesy of © TOYOTA, LICENSE AGREEMENT TMS1002
  50. REMOVE REAR PLANETARY SUN GEAR ASSEMBLY 
    1. Remove the rear planetary sun gear from the transaxle.
      Fig 72: Identifying Rear Planetary Sun Gear
      G05388327Courtesy of © TOYOTA, LICENSE AGREEMENT TMS1002
    2. Remove the rear planetary sun gear thrust bearing from the rear planetary sun gear.
      Fig 73: Identifying Rear Planetary Sun Gear Thrust Bearing
      G05388328Courtesy of © TOYOTA, LICENSE AGREEMENT TMS1002
    3. Remove the No. 1 thrust washer and 1-way clutch thrust bearing from the rear planetary sun gear.
      Fig 74: Identifying No. 1 Thrust Washer And 1-Way Clutch Thrust Bearing
      G05388329Courtesy of © TOYOTA, LICENSE AGREEMENT TMS1002
  51. REMOVE 1-WAY CLUTCH ASSEMBLY 
    1. Remove the 1-way clutch from the transaxle.
      Fig 75: Identifying 1-Way Clutch
      G05388330Courtesy of © TOYOTA, LICENSE AGREEMENT TMS1002
    2. Remove the 1-way clutch inner race from the 1-way clutch.
      Fig 76: Identifying 1-Way Clutch Inner Race
      G05388331Courtesy of © TOYOTA, LICENSE AGREEMENT TMS1002
  52. REMOVE 1-WAY CLUTCH SLEEVE OUTER 
  53. REMOVE 2ND BRAKE CLUTCH DISC 
    1. Using a screwdriver, remove the 2nd brake hole snap ring.
      Fig 77: Identifying 2nd Brake Hole Snap Ring
      G05388332Courtesy of © TOYOTA, LICENSE AGREEMENT TMS1002
    2. Remove the flange, 3 discs and 3 plates from the transaxle.
      Fig 78: Identifying Flange, Discs And Plates
      G05388333Courtesy of © TOYOTA, LICENSE AGREEMENT TMS1002
  54. REMOVE 2ND BRAKE PISTON ASSEMBLY 
    1. Using a screwdriver, pry out the snap ring.
      Fig 79: Prying Out Snap Ring
      G05388334Courtesy of © TOYOTA, LICENSE AGREEMENT TMS1002
    2. Remove the 2nd brake piston from the transaxle.
      Fig 80: Removing 2nd Brake Piston From Transaxle
      G05388335Courtesy of © TOYOTA, LICENSE AGREEMENT TMS1002
  55. REMOVE 1ST AND REVERSE BRAKE CLUTCH DISC 
    1. Remove the flange, 5 discs and 5 plates from the transaxle.
      Fig 81: Identifying Flange, Discs And Plates
      G05388336Courtesy of © TOYOTA, LICENSE AGREEMENT TMS1002
  56. REMOVE REAR PLANETARY GEAR ASSEMBLY 
    1. Using a screwdriver, pry the snap ring out from the brake hub.
      Fig 82: Prying Snap Ring Out From Brake Hub
      G05388337Courtesy of © TOYOTA, LICENSE AGREEMENT TMS1002
    2. Remove the rear planetary gear from the transaxle.
      Fig 83: Identifying Rear Planetary Gear
      G05388338Courtesy of © TOYOTA, LICENSE AGREEMENT TMS1002
    3. Remove the thrust washer from the rear planetary gear.
      Fig 84: Identifying Thrust Washer And Rear Planetary Gear
      G05388339Courtesy of © TOYOTA, LICENSE AGREEMENT TMS1002
    4. Remove the thrust bearing race from the rear planetary gear.
      Fig 85: Identifying Thrust Bearing Race And Rear Planetary Gear
      G05388340Courtesy of © TOYOTA, LICENSE AGREEMENT TMS1002
  57. REMOVE INPUT SUN GEAR 
    1. Remove the 2 thrust bearings, bearing race and input sun gear from the transaxle.
      Fig 86: Identifying Thrust Bearings, Bearing Race And Input Sun Gear
      G05388341Courtesy of © TOYOTA, LICENSE AGREEMENT TMS1002
  58. REMOVE FRONT PLANETARY GEAR ASSEMBLY 
    1. Using a chisel and hammer, unstake the lock washer.
      NOTE: Push down all claws of the washer. Otherwise SST cannot be fully pressed against the nut and cannot loosen the nut.
      Fig 87: Unstaking Lock Washer
      G05388342Courtesy of © TOYOTA, LICENSE AGREEMENT TMS1002
    2. Using SST, remove the nut.

      SST 09387-00030,09387-00080 

      Fig 88: Removing Nut
      G05388343Courtesy of © TOYOTA, LICENSE AGREEMENT TMS1002
    3. Using SST and a press, remove the front planetary gear from the counter drive gear.

      SST 09950-60010 (09951-00450) 

      Fig 89: Removing Front Planetary Gear From Counter Drive Gear
      G05246164Courtesy of © TOYOTA, LICENSE AGREEMENT TMS1002
    4. Remove the front planetary gear from the brake hub.
      Fig 90: Removing Front Planetary Gear From Brake Hub
      G05388345Courtesy of © TOYOTA, LICENSE AGREEMENT TMS1002
  59. REMOVE FRONT PLANETARY RING GEAR 
    1. Using a screwdriver, pry out the brake hub snap ring and front planetary ring gear from the brake hub.
      Fig 91: Identifying Brake Hub Snap Ring And Front Planetary Ring Gear
      G05388346Courtesy of © TOYOTA, LICENSE AGREEMENT TMS1002
  60. REMOVE 1ST AND REVERSE BRAKE PISTON 
    1. Using SST, a press and ring expander, remove the snap ring and piston return spring.

      SST 09387-00070 

      NOTE:
      • Stop the press when the spring sheet is lowered 1 to 2 mm (0.039 to 0.078 in.) from the snap ring groove, to prevent the spring sheet from deforming.
      • Do not expand the snap ring excessively.
        Fig 92: Removing Snap Ring And Piston Return Spring
        G04976182Courtesy of © TOYOTA, LICENSE AGREEMENT TMS1002
    2. Remove the 1st and reverse brake return spring from the 1st and reverse brake piston.
      Fig 93: Removing 1st And Reverse Brake Return Spring
      G05388348Courtesy of © TOYOTA, LICENSE AGREEMENT TMS1002
    3. Apply compressed air (392 kPa, 4.0 kgf/cm2 , 57 psi) to the transaxle to remove the 1st and reverse brake piston.
      NOTE:
      • Applying the air may cause the piston to jump out. When removing the piston, hold it using a piece of cloth.
      • Do not splash ATF with the compressed air.
        Fig 94: Applying Compressed Air To Transaxle
        G05388349Courtesy of © TOYOTA, LICENSE AGREEMENT TMS1002
    4. Remove the 2 O-rings from the 1st and reverse brake piston.
      Fig 95: Locating O-Rings
      G05388350Courtesy of © TOYOTA, LICENSE AGREEMENT TMS1002
  61. REMOVE COUNTER DRIVE GEAR 
    1. Using SST and a press, press the counter drive gear out from the transaxle.

      SST 09950-60010 (09951-00600), 09950-70010 (09951-07100) 

      Fig 96: Pressing Counter Drive Gear
      G05246171Courtesy of © TOYOTA, LICENSE AGREEMENT TMS1002
    2. As shown in the illustration, tighten the 2 bolts evenly and leave a clearance of approximately. 20.0 mm (0.797 in.) between the counter drive gear and the inner race.
      Fig 97: Tightening Bolts
      G04976186Courtesy of © TOYOTA, LICENSE AGREEMENT TMS1002
    3. Using SST, remove the tapered roller bearing.

      SST 09950-60010 (09951-00600), 09950-40011 (09951-04010, 09952-04010, 09953-04020, 09954-04010, 09955-04011, 09958-04011) 

      Fig 98: Removing Tapered Roller Bearing
      G05246173Courtesy of © TOYOTA, LICENSE AGREEMENT TMS1002
    4. Using a brass bar and hammer, tap the 2 counter drive gear bearing outer races out from the transaxle.
      Fig 99: Tapping Counter Drive Gear Bearing Outer Races Out From Transaxle
      G05388354Courtesy of © TOYOTA, LICENSE AGREEMENT TMS1002
  62. REMOVE COUNTER DRIVE GEAR HOLE SNAP RING 
    1. Using a screwdriver, pry the snap ring out from the transaxle.
    Fig 100: Prying Snap Ring Out From Transaxle
    G05388355Courtesy of © TOYOTA, LICENSE AGREEMENT TMS1002
  63. REMOVE NO. 2 BREATHER PLUG 
  64. REMOVE DIFFERENTIAL GEAR LUBE APPLY TUBE 
    1. Remove the bolt, the transaxle apply tube clamp and the differential gear lube apply tube from the transaxle.
      Fig 101: Identifying Transaxle Apply Tube Clamp And Differential gear Lube Apply Tube
      G05388356Courtesy of © TOYOTA, LICENSE AGREEMENT TMS1002