lemon-mirror:
Home >> Scion >> 2008 >> xB Automatic >> Repair and Diagnosis >> Transmission >> Automatic Trans >> U241E Automatic Transaxle >> Automatic Transaxle Unit >> Reassembly

Automatic Transaxle Unit: Reassembly

  1. BEARING POSITION 
    Fig 1: Identifying Bearing Position
    G05388365Courtesy of © TOYOTA, LICENSE AGREEMENT TMS1002

    Standard bearing position 

    STANDARD BEARING POSITION CHART

    Mark Front Race Diameter Inside / Outside Thrust Bearing Diameter Inside / Outside Rear Race Diameter Inside / Outside
    A - 53.0 mm (2.087 in.) / 78.2 mm (3.079 in.) 52.1 mm (2.051 in.) / 75.5 mm (2.972 in.)
    B - 37.73 mm (1.4854 in.) / 58.0 mm (2.283 in.) 29.9 mm (1.177 in.) / 55.5 mm (2.185 in.)
    C - 33.85 mm (1.3327 in.) / 52.2 mm (2.055 in.) -
    D - 23.5 mm (0.925 in.) / 44.0 mm (1.732 in.) -
    E - 36.3 mm (1.492 in.) / 52.2 mm (2.055 in.) 34.5 mm (1.358 in.) / 48.5 mm (1.909 in.)
    F - 34.6 mm (1.362 in.) / 52.2 mm (2.055 in.) -
    G 40.3 mm (1.587 in.) / 58.0 mm (2.283 in.) 38.6 mm (1.520 in.) / 60.0 mm (2.362 in.) 38.6 mm (1.520 in.) / 58.0 mm (2.283 in.)
    H - 53.6 mm (2.110 in.) / 69.6 mm (2.740 in.) -
    I - 33.7 mm (1.327 in.) / 48.2 mm (1.898 in.) 30.3 mm (1.193 in.) / 46.0 mm (1.811 in.)
    J - 53.6 mm (2.110 in.) / 70.18 mm (2.763 in.) or 69.6 mm (2.740 in.) -
  2. INSTALL DIFFERENTIAL GEAR LUBE APPLY TUBE 
    1. Install the apply tube and apply tube clamp onto the transaxle housing with the bolt.

      Torque: 5.4 N*m (55 kgf*cm, 48 in.*lbf) 

      NOTE: Make sure to insert the tube to the stopper.
      Fig 2: Identifying Bolt And Apply Tube Clamp
      G05388356Courtesy of © TOYOTA, LICENSE AGREEMENT TMS1002
  3. INSTALL NO. 2 BREATHER PLUG 
  4. INSTALL COUNTER DRIVE GEAR HOLE SNAP RING 
    1. Using a screwdriver, install the hole snap ring into the transaxle.
      Fig 3: Installing Hole Snap Ring Into Transaxle
      G05388355Courtesy of © TOYOTA, LICENSE AGREEMENT TMS1002
  5. INSTALL COUNTER DRIVE GEAR 
    1. Using SST and a press, press the 2 counter drive gear bearings outer races into the transaxle.
      NOTE:
      • Press-fit the bearing race until it contacts the snap ring.
      • Do not apply excessive pressure.

      SST 09950-60020 (09951-00890, 09951 -07150), 09950-70010 (09951-07150) 

      Fig 4: Pressing Counter Drive Gear Bearings Outer Races Into Transaxle
      G05388368Courtesy of © TOYOTA, LICENSE AGREEMENT TMS1002
    2. Using SST and a press, press the tapered roller bearing onto the counter drive gear.

      SST 09649-17010 

      NOTE:
      • Press-fit the bearing inner race until it contacts the counter drive gear.
      • Do not apply excessive pressure.
        Fig 5: Pressing Tapered Roller Bearing Onto Counter Drive Gear
        G05246203Courtesy of © TOYOTA, LICENSE AGREEMENT TMS1002
    3. Using SST and a press, press the counter drive gear and bearing into the transaxle.

      SST 09950-60020 (09951-00890), 09950-70010 (09951-07150) 

      NOTE: Do not apply excessive pressure.
      Fig 6: Pressing Counter Drive Gear And Bearing Into Transaxle
      G05246204Courtesy of © TOYOTA, LICENSE AGREEMENT TMS1002
  6. INSTALL 1ST AND REVERSE BRAKE PISTON 
    1. Coat 2 new O-rings with ATF.
    2. Install the 2 O-ring onto the 1st and reverse brake piston.
      Fig 7: Locating O-Rings
      G05388350Courtesy of © TOYOTA, LICENSE AGREEMENT TMS1002
    3. Coat the 1st and reverse brake piston with ATF, and install it into the transaxle.
      Fig 8: Identifying 1st And Reverse Brake Piston
      G05388372Courtesy of © TOYOTA, LICENSE AGREEMENT TMS1002
    4. Install the 1st and reverse brake return spring onto the 1st and reverse brake piston.
      Fig 9: Installing 1st And Reverse Brake Return Spring
      G05388373Courtesy of © TOYOTA, LICENSE AGREEMENT TMS1002
    5. Using SST, a press and snap ring expander, press the piston return spring and snap ring onto the transaxle.

      SST 09387-00070 

      NOTE:
      • Stop the press when the spring sheet is lowered to the place 1 to 2 mm (0.039 to 0.078 in.) from the snap ring groove, preventing the spring sheet from being deform.
      • Do not expand the snap ring excessively.
        Fig 10: Pressing Piston Return Spring And Snap Ring Onto Transaxle
        G04976182Courtesy of © TOYOTA, LICENSE AGREEMENT TMS1002
  7. INSTALL FRONT PLANETARY RING GEAR 
    1. Using a screwdriver, install the front planetary ring gear and brake hub snap ring into the brake hub.
      Fig 11: Identifying Brake Hub Snap Ring And Front Planetary Ring Gear
      G05388346Courtesy of © TOYOTA, LICENSE AGREEMENT TMS1002
  8. INSTALL FRONT PLANETARY GEAR ASSEMBLY 
    1. install the front planetary gear into the brake hub.
      Fig 12: Installing Front Planetary Gear Into Brake Hub
      G05388345Courtesy of © TOYOTA, LICENSE AGREEMENT TMS1002
    2. Using SST and a press, press-fit the front planetary gear.

      SST 09950-60010 (09951-00400), 09950-70010 (09951-07100) 

      NOTE: Do not apply excessive pressure to it.
      Fig 13: Pressing-Fit Front Planetary Gear
      G05246895Courtesy of © TOYOTA, LICENSE AGREEMENT TMS1002
    3. Install the front planetary gear lock washer, as shown in the illustration.
      Fig 14: Identifying Front Planetary Gear Lock Washer
      G05388378Courtesy of © TOYOTA, LICENSE AGREEMENT TMS1002
    4. Using SST, install the nut.

      SST 09387-00030, 09387-00080 

      Torque: 280 N*m (2855 kgf*cm, 207 ft.*lbf) 

      Fig 15: Tightening Nut
      G05388343Courtesy of © TOYOTA, LICENSE AGREEMENT TMS1002
    5. Using SST and a torque wrench, measure the turning torque of the bearing while rotating SST at 60 rpm. When the measured value is not within the specified value, gradually tighten the nut until it reaches the specified value.

      SST 09387-00080 

      Torque: Standard turning torque at 60 rpm 

      0.5 to 1.0 N*m (5.1 to 10.0 kgf*cm, 4.4 to 8.7 in.*lbf) for new 

      0.3 to 0.5 N*m (3.1 to 5.1 kgf*cm, 2.7 to 4.4 in.*lbf) for used 

      Fig 16: Measuring Turning Torque Of Bearing
      G04976247Courtesy of © TOYOTA, LICENSE AGREEMENT TMS1002
    6. Using a chisel and hammer, stake the front planetary gear lock washer.
      Fig 17: Staking Front Planetary Gear Lock Washer
      G05388381Courtesy of © TOYOTA, LICENSE AGREEMENT TMS1002
  9. INSTALL INPUT SUN GEAR 
    1. Install the 2 thrust bearings, bearing race and front planetary sun gear into the planetary gear.

      Standard bearing race diameter 

      STANDARD BEARING RACE DIAMETER

      Item Inside Outside
      Bearing 34.6 mm (1.362 in.) 52.2 mm (2.055 in.)
      Race 40.3 mm (1.587 in.) 58.0 mm (2.283 in.)
      Bearing 38.6 mm (1.520 in.) 60.0 mm (2.362 in.)
      Fig 18: Identifying Thrust Bearings, Bearing Race And Input Sun Gear
      G05388341Courtesy of © TOYOTA, LICENSE AGREEMENT TMS1002
  10. INSTALL REAR PLANETARY GEAR ASSEMBLY 
    1. Coat the bearing race with ATF, and install it onto the rear planetary gear.

      Standard bearing race diameter 

      STANDARD BEARING RACE DIAMETER

      Item Inside Outside
      Race 38.6 mm (1.520 in.) 58.0 mm (2.283 in.)
      Fig 19: Identifying Thrust Bearing Race And Rear Planetary Gear
      G05388340Courtesy of © TOYOTA, LICENSE AGREEMENT TMS1002
    2. Install the planetary carrier thrust washer onto the planetary gear.
      Fig 20: Identifying Planetary Carrier Thrust Washer
      G05388339Courtesy of © TOYOTA, LICENSE AGREEMENT TMS1002
    3. Install the rear planetary gear onto the rear planetary ring gear.
      Fig 21: Identifying Rear Planetary Gear
      G05388385Courtesy of © TOYOTA, LICENSE AGREEMENT TMS1002
    4. Using screwdrivers, install the snap ring onto the brake hub.
      Fig 22: Installing Snap Ring Onto Brake Hub
      G05388337Courtesy of © TOYOTA, LICENSE AGREEMENT TMS1002
  11. INSTALL 1ST AND REVERSE BRAKE CLUTCH DISC 
    1. Install the 5 plates and 5 discs.

      Install in order: 

      P-D-P-D-P-D-P-D-P-D 

      HINT:

      P = Plate

      D = Disc

      Fig 23: Identifying Plates And Discs
      G05388387Courtesy of © TOYOTA, LICENSE AGREEMENT TMS1002
    2. Using vernier calipers, measure the distance between the disc surface and the contact surface of the 2nd brake cylinder and transaxle (Dimension A).
    3. Select an appropriate flange so that the piston stroke will meet the specified value.

      Pack clearance: 

      1.02 to 1.21 mm (0.0402 to 0.0476 in.) 

      HINT:

      Piston stroke = Dimension A - Flange thickness

      Standard flange thickness 

      Fig 24: Measuring Distance Between Disc Surface And Contact Surface Of 2nd Brake Cylinder
      G05246221Courtesy of © TOYOTA, LICENSE AGREEMENT TMS1002
      STANDARD FLANGE THICKNESS

      Mark Thickness Mark Thickness
      1 1.8 mm (0.071 in.) 5 2.2 mm (0.087 in.)
      2 1.9 mm (0.075 in.) 6 2.3 mm (0.091 in.)
      3 2.0 mm (0.079 in.) 7 2.4 mm (0.094 in.)
      4 2.1 mm (0.083 in.) 8 2.5 mm (0.098 in.)
    4. Install the flange.
    5. Fig 25: Identifying Flange
      G05388389Courtesy of © TOYOTA, LICENSE AGREEMENT TMS1002
  12. INSPECT PACK CLEARANCE OF 1ST AND REVERSE BRAKE 
  13. INSTALL 1-WAY CLUTCH SLEEVE OUTER 
    1. Install the 1-way clutch outer sleeve into the 2nd brake cylinder.
      NOTE: Check the positioning direction of the outer sleeve.
      Fig 26: Identifying 1-Way Clutch Outer Sleeve
      G05388390Courtesy of © TOYOTA, LICENSE AGREEMENT TMS1002
  14. INSTALL 1-WAY CLUTCH ASSEMBLY 
    1. Install the inner race into the 1-way clutch.
      NOTE: Check the direction of the inner race.
      Fig 27: Identifying 1-Way Clutch Inner Race
      G05388331Courtesy of © TOYOTA, LICENSE AGREEMENT TMS1002
    2. Check the rotating direction of the 1-way clutch for the lock or free operation, as shown in illustration.
      Fig 28: Identifying Rotating Direction Of 1-Way Clutch
      G05240755Courtesy of © TOYOTA, LICENSE AGREEMENT TMS1002
    3. Install the 1-way clutch and bearing onto the 1-way clutch outer race sleeve.

      Standard bearing diameter 

      STANDARD BEARING DIAMETER

      Item Inside Outside
      Bearing 53.6 mm (2.110 in.) 69.6 mm (2.740 in.)
      NOTE: Install the thrust bearing properly so that no colored race will be visible.
      Fig 29: Identifying 1-Way Clutch And Bearing
      G05388393Courtesy of © TOYOTA, LICENSE AGREEMENT TMS1002
  15. INSTALL REAR PLANETARY SUN GEAR ASSEMBLY 
    1. Coat the No. 1 planetary carrier thrust washer with petroleum jelly, and install it onto the rear planetary sun gear.
      Fig 30: Identifying No. 1 Planetary Carrier Thrust Washer
      G05388394Courtesy of © TOYOTA, LICENSE AGREEMENT TMS1002
    2. Coat the bearing with petroleum jelly, and install it onto the rear planetary sun gear.

      Standard bearing diameter 

      STANDARD BEARING DIAMETER

      Item Inside Outside
      Bearing 33.8 mm (1.331 in.) 48.2 mm (1.898 in.)
      Fig 31: Identifying Rear Planetary Sun Gear Thrust Bearing
      G05388328Courtesy of © TOYOTA, LICENSE AGREEMENT TMS1002
    3. Install the rear planetary sun gear onto the rear planetary gear.
      Fig 32: Identifying Rear Planetary Sun Gear
      G05388327Courtesy of © TOYOTA, LICENSE AGREEMENT TMS1002
  16. INSTALL 2ND BRAKE CLUTCH DISC 
    1. Install the 3 discs and 3 plates onto the transaxle.

      Install in order: 

      P-D-P-D-P-D 

      HINT:

      P = Plate

      D = Disc

      Fig 33: Identifying Discs And Plates
      G05388397Courtesy of © TOYOTA, LICENSE AGREEMENT TMS1002
    2. Temporarily install the snap ring.
    3. Using vernier calipers, measure the distance between the disc surface and snap ring surface.
    4. Fig 34: Measuring Distance Between Disc Surface And Snap Ring Surface
      G05388398Courtesy of © TOYOTA, LICENSE AGREEMENT TMS1002
    5. Select an appropriate flange so that the piston stroke will meet the specified value.

      Standard pack clearance: 

      0.62 to 0.91 mm (0.0244 to 0.0358 in.) 

      HINT:

      Piston stroke = Clearance - Flange thickness - Snap ring thickness 1.6 mm (0.063 in.)

      Standard flange thickness 

      STANDARD FLANGE THICKNESS

      Mark Thickness Mark Thickness
      0 2.9 mm (0.114 in.) 5 3.4 mm (0.134 in.)
      1 3.0 mm (0.118 in.) 6 3.5 mm (0.138 in.)
      2 3.1 mm (0.122 in.) 7 3.6 mm (0.142 in.)
      3 3.2 mm (0.126 in.) 8 3.7 mm (0.146 in.)
      4 3.3 mm (0.130 in.) - -
    6. Temporarily remove the snap ring, attach the selected flange and restore the snap ring.
      NOTE: Secure the snap ring so that the gap is visible through the groove of the transaxle case.
      Fig 35: Identifying Snap Ring
      G05388399Courtesy of © TOYOTA, LICENSE AGREEMENT TMS1002
  17. INSTALL DIRECT CLUTCH 
    1. Install the bearing race onto the direct clutch.

      Standard bearing diameter 

      STANDARD BEARING DIAMETER

      Item Inside Outside
      Bearing race 30.3 mm (1.193 in.) 46.0 mm (1.811 in.)
      Fig 36: Identifying Bearing Race And Direct Clutch
      G05388400Courtesy of © TOYOTA, LICENSE AGREEMENT TMS1002
    2. Install the direct clutch and thrust needle roller bearing onto the rear planetary sun gear.
      NOTE: The disc in the direct clutch should completely align with the hub attached outside the rear planetary sun gear. Otherwise, the rear cover cannot be installed.
      Fig 37: Identifying Direct Clutch And Thrust Needle Roller Bearing
      G05388325Courtesy of © TOYOTA, LICENSE AGREEMENT TMS1002
    3. Clean the connector part of the transaxle case and rear cover.
    4. As shown in the illustration, place a straightedge on the direct clutch drum and measure the distance between the transaxle case and the straightedge using vernier calipers (Dimension B).
      Fig 38: Measuring Distance Between Transaxle Case
      G05246236Courtesy of © TOYOTA, LICENSE AGREEMENT TMS1002
    5. Measure the 2 places on the rear cover as shown in the illustration and calculate dimension C using the following formula.

      HINT:

      Dimension C = Dimension (1) - Dimension (2)

      Fig 39: Measuring Places On Rear Cover
      G05246237Courtesy of © TOYOTA, LICENSE AGREEMENT TMS1002
    6. Calculate the end play value using the following formula. Select a thrust bearing which satisfies the end play value and install it.

      End play: 

      0.198 to 0.936 mm (0.00800 to 0.03685 in.) 

      NOTE: Make sure that the colored race side is facing the direct clutch assembly.

      HINT:

      End play = Dimension C - Dimension B

      Standard bearing thickness and diameter 

      STANDARD BEARING THICKNESS AND DIAMETER

      Thickness Inside Outside
      3.58 mm (0.1409 in.) 53.6 mm (2.110 in.) 69.6 mm (2.740 in.)
      3.88 mm (0.1528 in.) 53.6 mm (2.110 in.) 70.18 mm (2.763 in.)
  18. INSTALL NO. 1 GOVERNOR APPLY GASKET 
    1. Install 2 new apply gaskets onto the transaxle.
      Fig 40: Locating Apply Gaskets
      G05246145Courtesy of © TOYOTA, LICENSE AGREEMENT TMS1002
  19. INSTALL FRONT CLUTCH APPLY TUBE 
    1. Install the clamp onto the front clutch apply tube.
      NOTE: Make sure to install the clamp to the apply pipe before installing the apply pipe to the transaxle case. This prevents the apply pipe from being deformed or damaged.
      Fig 41: Identifying Clamp Onto Front Clutch Apply Tube
      G05388405Courtesy of © TOYOTA, LICENSE AGREEMENT TMS1002
  20. INSTALL BRAKE APPLY TUBE 
    1. Install the clamp onto the brake apply tube.
      NOTE: Make sure to install the clamp to the apply pipe before installing the apply pipe to the transaxle case. This prevents the apply pipe from being deformed or damaged.
      Fig 42: Identifying Clamp Onto Brake Apply Tube
      G05388405Courtesy of © TOYOTA, LICENSE AGREEMENT TMS1002
    2. Install the 2 apply tubes into the transaxle with the bolt.

      Torque: 5.4 N*m (55 kgf*cm, 48 in.*lbf) 

      NOTE: Each pipe should be securely inserted until it reaches the stopper.
      Fig 43: Identifying Apply Tubes Into Transaxle
      G05388323Courtesy of © TOYOTA, LICENSE AGREEMENT TMS1002
  21. INSTALL REAR TRANSAXLE COVER SUB-ASSEMBLY 
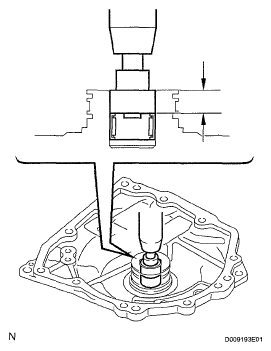
    1. Using SST and a press, press in the bearing.

      SST 09950-60010 (09951-00230, 09951-00350) 

      Standard depth: 

      12.05 to 12.75 mm (0.4744 to 0.5020 in.) 

      Fig 44: Pressing Bearing
      G05388408Courtesy of © TOYOTA, LICENSE AGREEMENT TMS1002
      NOTE:
      • Face the inscribed mark side of the bearing race up.
      • Repeat the press-fit until the specified value is obtained.
    2. Apply adhesive to the 2 screws.

      Adhesive: 

      Toyota Genuine Adhesive 1344, Three Bond 1344 or Equivalent 

    3. Using a T30 "TORX" socket, install the transaxle rear cover plate with the 2 bolts.

      Torque: 7.5 N*m (76 kgf*cm, 66 in.*lbf) 

      Fig 45: Identifying Bolts And Transaxle Rear Cover Plate
      G05388319Courtesy of © TOYOTA, LICENSE AGREEMENT TMS1002
    4. Coat 2 new oil seal rings with ATF, and install them onto the transaxle rear cover.
      Fig 46: Identifying Oil Seal Rings
      G05388410Courtesy of © TOYOTA, LICENSE AGREEMENT TMS1002
    5. Remove any packing material and be careful not to get oil on the contacting surfaces of the transaxle rear cover or the transaxle.
    6. Apply seal packing to the cover.

      Seal packing: 

      Toyota Genuine Seal Packing 1281, Three Bond 1281 or Equivalent 

    7. Coat the needle roller bearing with ATF.
      Fig 47: Applying Seal Packing To Cover
      G05388411Courtesy of © TOYOTA, LICENSE AGREEMENT TMS1002
    8. Apply adhesive to the threads of the bolts labeled A.

      Adhesive: 

      Toyota Genuine Adhesive 1344, Three Bond 1344 or Equivalent 

    9. Install the 11 bolts.

      Torque: 

      19 N*m (194 kgf*cm, 14 ft.*lbf) for bolt A 

      25 N*m (255 kgf*cm, 18 ft.*lbf) for other bolt 

      Fig 48: Identifying Bolts
      G05246247Courtesy of © TOYOTA, LICENSE AGREEMENT TMS1002
  22. INSTALL UNDERDRIVE CLUTCH DRUM OIL SEAL RING 
    1. Install 2 new oil seals onto the transaxle.
      Fig 49: Identifying Oil Seals Onto Transaxle
      G05388316Courtesy of © TOYOTA, LICENSE AGREEMENT TMS1002
  23. INSTALL UNDERDRIVE BRAKE PISTON 
    1. Wind vinyl tape around SST 4.0 mm (0.157 in.) above the bottom end until the thickness of the wound tape is about 5.0 mm (0.197 in.).

      SST 09550-60010 (09951-00320) 

      NOTE: Clean SST to remove any oil deposits before winding a vinyl tape.
      Fig 50: Identifying Vinyl Tape Around SST
      G05000843Courtesy of © TOYOTA, LICENSE AGREEMENT TMS1002
    2. Using SST and a press, press the needle-roller bearing into the transaxle until the wound vinyl tape contacts the transaxle case.

      SST 09550-60010 (09951-00320), 09950-70010 (09951-07100), 09387-00020 

      Fig 51: Pressing Needle-Roller Bearing
      G04976230Courtesy of © TOYOTA, LICENSE AGREEMENT TMS1002
    3. Coat 2 new O-rings with ATF, and install them onto the underdrive brake piston.
      Fig 52: Locating O-Rings
      G05388322Courtesy of © TOYOTA, LICENSE AGREEMENT TMS1002
    4. Install the underdrive brake piston into the transaxle.
      Fig 53: Identifying Underdrive Brake Piston Into Transaxle
      G05388417Courtesy of © TOYOTA, LICENSE AGREEMENT TMS1002
  24. INSTALL UNDERDRIVE BRAKE RETURN SPRING SUB-ASSEMBLY 
    1. Install the underdrive brake return spring into the underdrive brake piston.
      Fig 54: Installing Underdrive Brake Return Spring Into Underdrive Brake Piston
      G05388418Courtesy of © TOYOTA, LICENSE AGREEMENT TMS1002
    2. Using SST, a snap ring expander and press, press the return spring and install the snap ring into the transaxle.

      SST 09387-00020 

      NOTE: Do not apply excessive pressure.
      Fig 55: Pressing Return Spring
      G05246137Courtesy of © TOYOTA, LICENSE AGREEMENT TMS1002
  25. INSTALL NO. 2 UNDERDRIVE CLUTCH DISC 
    1. Install the 3 discs and 3 plates into the transaxle.

      Install in order: 

      P-D-P-D-P-D 

      HINT:

      D = Disc

      P = Plate

      Fig 56: Identifying Discs And Plates
      G05388420Courtesy of © TOYOTA, LICENSE AGREEMENT TMS1002
    2. Using a screwdriver, install the snap ring.
      Fig 57: Installing Snap Ring
      G05388312Courtesy of © TOYOTA, LICENSE AGREEMENT TMS1002
    3. Using a dial indicator, measure the underdrive brake piston stroke while applying and releasing compressed air (392 kPa, 4.0 kgf/cm2 , 57 psi).

      Standard piston stroke: 

      1.81 to 2.20 mm (0.0713 to 0.0866 in.) 

      HINT:

      Select an appropriate flange from the table below so that it will meet the specified value.

      Fig 58: Measuring Underdrive Brake Piston Stroke
      G05388422Courtesy of © TOYOTA, LICENSE AGREEMENT TMS1002

      Standard flange thickness 

      STANDARD FLANGE THICKNESS

      Mark Thickness Mark Thickness
      Y 2.8 mm (0.110 in.) C 3.4 mm (0.134 in.)
      A 3.0 mm (0.118 in.) D 3.6 mm (0.142 in.)
      B 3.2 mm (0.126 in.) - -
    4. Temporarily remove the snap ring and attach the flange. Restore the snap ring.
  26. INSTALL UNDERDRIVE 1-WAY CLUTCH ASSEMBLY 
    1. Install the outer race retainer onto the 1-way clutch.
      Fig 59: Identifying Outer Race Retainer
      G05388423Courtesy of © TOYOTA, LICENSE AGREEMENT TMS1002
    2. Install the underdrive clutch assembly onto the 1-way clutch. Rotate the underdrive clutch to check the rotating direction for the lock or free operation.
      Fig 60: Rotating Underdrive Clutch
      G05240719Courtesy of © TOYOTA, LICENSE AGREEMENT TMS1002
    3. Install the 1-way clutch into the transaxle.
      NOTE: Make sure that the mark on the 1-way clutch outer race is visible.
      Fig 61: Identifying 1-Way Clutch Into Transaxle
      G05388425Courtesy of © TOYOTA, LICENSE AGREEMENT TMS1002
    4. Using a screwdriver, install the snap ring into the transaxle.
      Fig 62: Installing Snap Ring Into Transaxle
      G05388309Courtesy of © TOYOTA, LICENSE AGREEMENT TMS1002
  27. INSTALL UNDERDRIVE CLUTCH 
    1. Coat the bearing and bearing race with petroleum jelly, and install them onto the underdrive clutch.

      Standard race diameter 

      STANDARD RACE DIAMETER

      Item Inside Outside
      Bearing 37.73 mm (1.4854 in.) 58.0 mm (2.283 in.)
      Race 29.9 mm (1.177 in.) 55.5 mm (2.185 in.)
      Fig 63: Identifying Underdrive Clutch
      G05388308Courtesy of © TOYOTA, LICENSE AGREEMENT TMS1002
    2. Install the underdrive clutch assembly into the transaxle.
  28. INSTALL UNDERDRIVE PLANETARY GEAR ASSEMBLY 
    1. Install the parking lock pawl pin and torsion spring onto the parking lock pawl.
      Fig 64: Identifying Parking Lock Pawl Pin And Torsion Spring
      G05388428Courtesy of © TOYOTA, LICENSE AGREEMENT TMS1002
    2. Temporarily install the parking lock pawl, shaft and spring into the transaxle case as shown in the illustration.
      Fig 65: Identifying Parking Lock Pawl, Shaft And Spring
      G05388429Courtesy of © TOYOTA, LICENSE AGREEMENT TMS1002
    3. Install the underdrive planetary gear assembly into the transaxle.
      NOTE: Engage all the discs of the underdrive clutch and hub splines of the underdrive planetary gear assembly firmly and assemble them securely.
      Fig 66: Installing Underdrive Planetary Gear Assembly Into Transaxle
      G05388306Courtesy of © TOYOTA, LICENSE AGREEMENT TMS1002
    4. Install the parking lock pawl shaft.
      Fig 67: Identifying Parking Lock Pawl Shaft
      G05388431Courtesy of © TOYOTA, LICENSE AGREEMENT TMS1002
    5. Install the pawl shaft clamp with the bolt.

      Torque: 9.8 N*m (100 kgf*cm, 87 in.*lbf) 

      Fig 68: Identifying Bolt And Parking Pawl Shaft Damp
      G05388303Courtesy of © TOYOTA, LICENSE AGREEMENT TMS1002
    6. Using a straightedge and vernier calipers as shown in the illustration, measure the gap between the top of the differential drive pinion in the underdrive planetary gear and contact surface of the transaxle and housing (Dimension D).
      NOTE: Note down the dimension D as it is necessary for the following process.
      Fig 69: Measuring Gap Between Top Of Differential Drive Pinion
      G05246259Courtesy of © TOYOTA, LICENSE AGREEMENT TMS1002
    7. As shown in the illustration, measure the 2 places of the transaxle housing. Calculate dimension E using the formula.
      NOTE: Note down dimension E as it is necessary for the following process.

      HINT:

      Dimension E = Dimension (1) - Dimension (2)

      Fig 70: Measuring Places Of Transaxle Housing
      G05000907Courtesy of © TOYOTA, LICENSE AGREEMENT TMS1002
  29. INSTALL MULTIPLE DISC CLUTCH HUB 
    1. Install the bearing race into the transaxle while checking its direction.

      Standard bearing diameter 

      STANDARD BEARING DIAMETER

      Item Inside Outside
      Bearing race 34.5 mm (1.358 in.) 48.5 mm (1.909 in.)
      Fig 71: Identifying Bearing Race
      G05388435Courtesy of © TOYOTA, LICENSE AGREEMENT TMS1002
    2. Coat the thrust needle roller bearing and race with petroleum jelly, and install them onto the multiple disc clutch hub.

      Standard thrust bearing and race diameter 

      STANDARD THRUST BEARING AND RACE DIAMETER

      Item Inside Outside
      Bearing 36.3 mm (1.429 in.) 52.25 mm (2.055 in.)
      Fig 72: Identifying Thrust Needle Roller Bearing And Race
      G05388436Courtesy of © TOYOTA, LICENSE AGREEMENT TMS1002
    3. Install the input shaft thrust bearing onto the multiple clutch hub.

      Standard bearing diameter 

      STANDARD BEARING DIAMETER

      Item Inside Outside
      Bearing 23.5 mm (0.925 in.) 44.0 mm (1.732 in.)
    4. Install the forward clutch hub into the transaxle.
      Fig 73: Identifying Input Shaft Thrust Bearing
      G05388437Courtesy of © TOYOTA, LICENSE AGREEMENT TMS1002
  30. INSTALL FORWARD CLUTCH ASSEMBLY 
    1. Install the input shaft thrust bearing onto the forward clutch.

      Standard bearing diameter 

      STANDARD BEARING DIAMETER

      Item Inside Outside
      Bearing 33.85 mm (1.3327 in.) 52.2 mm (2.055 in.)
      NOTE: Install the thrust bearing properly so that the race "B" will be visible.
      Fig 74: Identifying Input Shaft Thrust Bearing
      G05246264Courtesy of © TOYOTA, LICENSE AGREEMENT TMS1002
    2. Install the forward clutch onto the multiple clutch hub.
      NOTE: Align the splines of all discs in the forward clutch with those of multiple clutch hub to assemble them securely.
      Fig 75: Identifying Forward Clutch
      G05388300Courtesy of © TOYOTA, LICENSE AGREEMENT TMS1002
  31. INSTALL OVERDRIVE BRAKE GASKET 
    1. Install 2 new overdrive brake gaskets into the transaxle.
      Fig 76: Installing Overdrive Brake Gaskets Into Transaxle
      G05388299Courtesy of © TOYOTA, LICENSE AGREEMENT TMS1002
  32. INSTALL FRONT DIFFERENTIAL ASSEMBLY 
    1. Install the differential assembly into the transaxle.
      Fig 77: Installing Differential Assembly Into Transaxle
      G05388441Courtesy of © TOYOTA, LICENSE AGREEMENT TMS1002
  33. INSTALL NO. 2 THRUST BEARING UNDERDRIVE RACE 
    1. Install the thrust bearing race onto the underdrive planetary gear.
      Fig 78: Identifying Thrust Bearing Race
      G05388297Courtesy of © TOYOTA, LICENSE AGREEMENT TMS1002
  34. INSTALL THRUST NEEDLE ROLLER BEARING 
    1. Calculate the end play value using the following formula and value of Dimensions D and E that were measured when installing the cylindrical roller bearing and underdrive planetary gear. Select an appropriate underdrive planetary gear thrust bearing race No. 2 which satisfies the specified end play value, and install it.
      Fig 79: Identifying Thrust Needle Roller Bearing
      G05388296Courtesy of © TOYOTA, LICENSE AGREEMENT TMS1002

      Standard end play: 

      0.498 to 0.993 mm (0.0194 to 0.0390 in.) 

      HINT:

      End play = Dimension E - Dimension D - thrust bearing thickness 3.28 mm (0.1291 in.) - underdrive thrust bearing race thickness.

      Standard race thickness 

      STANDARD RACE THICKNESS

      E-D Thickness
      Less then 7.34 mm (0.2890 in.) 3.5 mm (0.138 in.)
      7.34 mm (0.2890 in.) 3.8 mm (0.150 in.)

      Standard bearing and bearing race diameter 

      STANDARD BEARING AND BEARING RACE DIAMETER

      Item Inside Outside
      Bearing 53.0 mm (2.087 in.) 78.2 mm (3.079 in.)
      Bearing race 52.1 mm (2.051 in.) 75.5 mm (2.972 in.)
  35. INSTALL OIL PUMP ASSEMBLY 
    1. Install the oil pump into the transaxle with the 7 bolts.

      Torque: 22 N*m (225 kgf*cm, 16 ft.*lbf) 

      Fig 80: Identifying Oil Pump Bolts
      G05388444Courtesy of © TOYOTA, LICENSE AGREEMENT TMS1002
  36. INSTALL UNDERDRIVE OUTPUT SHAFT OIL SEAL RING 
    1. Install a new oil seal ring onto the transaxle housing.
      Fig 81: Identifying Oil Seal Ring
      G05388294Courtesy of © TOYOTA, LICENSE AGREEMENT TMS1002
  37. INSTALL UNDERDRIVE CYLINDRICAL ROLLER BEARING 
    1. Using SST and a press, press in the underdrive cylindrical roller bearing.

      SST 09950-60020, 09950-70010 (09951 -07100, 09951-07100) 

      NOTE: Do not apply excessive pressure to it.
      Fig 82: Pressing Underdrive Cylindrical Roller Bearing
      G04976227Courtesy of © TOYOTA, LICENSE AGREEMENT TMS1002
  38. INSTALL TRANSAXLE HOUSING 
    1. Remove any packing material and be careful not to get oil on the contacting surfaces of the transaxle case or transaxle housing.
    2. Apply seal packing to the transaxle case.

      Seal packing: 

      Toyota Genuine Seal Packing 1281, Three Bond 1281 or equivalent 

      Fig 83: Applying Seal Packing To Transaxle Case
      G05388447Courtesy of © TOYOTA, LICENSE AGREEMENT TMS1002
    3. Install the transaxle housing onto the transaxle with the 18 bolts.

      Torque: 

      22 N*m (220 kgf*cm, 16 ft.*lbf) for bolt A 

      29 N*m (300 kgf*cm, 21 ft.*lbf) for bolt B and C 

      10 N*m (102 kgf*cm, 7.4 ft.*lbf) for bolt D 

      Each bolt length is indicated below. 

      BOLT LENGTH CHART

      Bolt Length Head
      A 50 mm (1.969 in.) 12 mm (0.47 in.)
      B 50 mm (1.969 in.) 12 mm (0.47 in.)
      C 42 mm (1.654 in.) 12 mm (0.47 in.)
      D 50 mm (1.969 in.) 10 mm (0.39 in.)
      Fig 84: Identifying Transaxle Bolts
      G05388448Courtesy of © TOYOTA, LICENSE AGREEMENT TMS1002
      NOTE: Because the bolt A and D is a seal bolt, apply the seal packing to new bolts and tighten them within 10 minutes after application.

      Seal packing: 

      Toyota Genuine Seal Packing 1281, Three Bond 1281 or Equivalent 

  39. INSPECT INPUT SHAFT END PLAY  (See INSPECTION  )
  40. FIX AUTOMATIC TRANSAXLE ASSEMBLY 
    Fig 85: Identifying Automatic Transaxle Assembly On Wooden Block
    G05388449Courtesy of © TOYOTA, LICENSE AGREEMENT TMS1002
  41. INSTALL MANUAL VALVE LEVER SHAFT OIL SEAL 
    1. Coat a new oil seal with ATF, and install it into the transaxle.
      Fig 86: Identifying Oil Seal
      G05388450Courtesy of © TOYOTA, LICENSE AGREEMENT TMS1002
  42. INSTALL PARKING LOCK ROD SUB-ASSEMBLY 
    1. Install the parking lock rod onto the manual valve lever.
      Fig 87: Installing Parking Lock Rod Onto Manual Valve Lever
      G05388290Courtesy of © TOYOTA, LICENSE AGREEMENT TMS1002
  43. INSTALL MANUAL VALVE LEVER SUB-ASSEMBLY 
    1. Install a new spacer and manual valve lever shaft into the transaxle.
      Fig 88: Installing Spacer And Manual Valve Lever Shaft Into Transaxle
      G05388289Courtesy of © TOYOTA, LICENSE AGREEMENT TMS1002
    2. Using a pin punch and hammer, tap in a new pin.
      Fig 89: Tapping Pin
      G05388288Courtesy of © TOYOTA, LICENSE AGREEMENT TMS1002
    3. Turn the spacer and lever shaft to align the small hole for locating the staking position in the spacer with the staking position mark on the lever shaft.
    4. Using a pin punch, stake the spacer through the small hole.
    5. Check that the spacer does not turn.
      Fig 90: Aligning Hole With Staking Position Mark
      G05388454Courtesy of © TOYOTA, LICENSE AGREEMENT TMS1002
  44. INSTALL MANUAL VALVE LEVER SHAFT RETAINER SPRING 
    1. Using needle-nose pliers, install the retainer spring.
      Fig 91: Installing Retainer Spring
      G05388286Courtesy of © TOYOTA, LICENSE AGREEMENT TMS1002
  45. INSTALL PARKING LOCK PAWL BRACKET 
    1. Install the parking lock pawl bracket with the 2 bolts.

      Torque: 20 N*m (204 kgf*cm, 15 ft.*lbf) 

      Bolt length: 

      25 mm (0.984 in.) 

      Fig 92: Identifying Parking Lock Pawl Bracket
      G05388456Courtesy of © TOYOTA, LICENSE AGREEMENT TMS1002
  46. INSTALL MANUAL DETENT SPRING SUB-ASSEMBLY 
    1. Install the manual detent spring with the 2 bolts.
      NOTE: Make sure to install the manual detent spring and cover in this order.

      Torque: 

      20 N*m (204 kgf*cm, 15 ft.*lbf) for bolt A 

      12 N*m (122 kgf*cm, 9 ft.*lbf) for bolt B 

      Fig 93: Locating Manual Detent Spring And Bolts
      G05000930Courtesy of © TOYOTA, LICENSE AGREEMENT TMS1002

      HINT:

      Each bolt length is indicated below.

      Bolt length: 

      27 mm (1.063 in.) for bolt A 

      16 mm (0.630 in.) for bolt B 

  47. INSTALL B-3 ACCUMULATOR PISTON 
    1. Coat a new O-ring with ATF, and install it onto the B-3 accumulator piston.
      Fig 94: Locating O-Ring
      G05388283Courtesy of © TOYOTA, LICENSE AGREEMENT TMS1002
    2. Coat the accumulator B-3 piston and spring with ATF, and install them to the transaxle.

      Standard accumulator spring 

      STANDARD ACCUMULATOR SPRING

      Spring Free length Outer diameter Color
      B-3 Inner 60.24 mm (2.3716 in.) 15.9 mm (0.626) Yellowish green
      B-3 Outer 74.61 mm (2.9374 in.) 21.7 mm (0.854 in.) Blue
      Fig 95: Identifying Accumulator B-3 Piston And Spring
      G05388459Courtesy of © TOYOTA, LICENSE AGREEMENT TMS1002
  48. INSTALL C-1 ACCUMULATOR PISTON 
    1. Coat 2 new O-rings with ATF, and install them onto the C-1 accumulator piston.
      Fig 96: Locating O-Rings
      G05388281Courtesy of © TOYOTA, LICENSE AGREEMENT TMS1002
    2. Coat the accumulator C-1 piston with ATF, and install it into the transaxle.

      Standard accumulator spring 

      STANDARD ACCUMULATOR SPRING

      Spring Free length Outer diameter Color
      C-1 81.53 mm (3.2098 in.) 18.5 mm (0.728 in.) Pink
      Fig 97: Installing Accumulator C-1 Piston Into Transaxle
      G05388280Courtesy of © TOYOTA, LICENSE AGREEMENT TMS1002
  49. INSTALL C-3 ACCUMULATOR PISTON 
    1. Coat a new O-ring with ATF, and install it onto the C-3 accumulator piston.
      Fig 98: Locating O-Ring
      G05388279Courtesy of © TOYOTA, LICENSE AGREEMENT TMS1002
    2. Coat the C-3 accumulator piston with ATF, and install it into the transaxle.
      Fig 99: Installing C-3 Accumulator Piston Into Transaxle
      G05388463Courtesy of © TOYOTA, LICENSE AGREEMENT TMS1002
    3. Install the compression spring from the C-3 accumulator piston.
      Fig 100: Identifying Compression Spring
      G05388464Courtesy of © TOYOTA, LICENSE AGREEMENT TMS1002
  50. INSTALL CHECK BALL BODY 
    1. Install the check ball body and spring.
      Fig 101: Identifying Check Ball Body And Spring
      G05388276Courtesy of © TOYOTA, LICENSE AGREEMENT TMS1002
  51. INSTALL BRAKE DRUM GASKET 
    1. Coat a new brake drum gasket with ATF, and install it into the transaxle.
      Fig 102: Locating Brake Drum Gasket
      G05388275Courtesy of © TOYOTA, LICENSE AGREEMENT TMS1002
  52. INSTALL TRANSAXLE CASE 2ND BRAKE GASKET 
    1. Coat a new transaxle case 2nd brake gasket with ATF, and install it into the transaxle.
      Fig 103: Locating 2nd Brake Gasket
      G05388274Courtesy of © TOYOTA, LICENSE AGREEMENT TMS1002
  53. INSTALL NO. 1 GOVERNOR APPLY GASKET 
    1. Coat a new No. 1 governor apply gasket with ATF, and install it into the transaxle.
      Fig 104: Locating Governor Apply Gasket
      G05388273Courtesy of © TOYOTA, LICENSE AGREEMENT TMS1002
  54. INSTALL TRANSMISSION WIRE 
    1. Coat a new O-ring with ATF and install it onto the transmission wire.
    2. Pass the transmission wire through the transaxle case.
      Fig 105: Locating O-Ring
      G05388469Courtesy of © TOYOTA, LICENSE AGREEMENT TMS1002
    3. Install the transmission wire with the bolt.

      Torque: 5.4 N*m (55 kgf*cm, 48 in.*lbf) 

      Fig 106: Locating Transmission Wire And Bolt
      G05388470Courtesy of © TOYOTA, LICENSE AGREEMENT TMS1002
  55. INSTALL TRANSMISSION VALVE BODY ASSEMBLY 
    1. Align the groove of the manual valve with the pin of the lever.
    2. Install the transmission valve body assembly with the 17 bolts.

      Torque: 11 N*m (110 kgf*cm, 8 ft.*lbf) 

      NOTE:
      • Push the valve body against the accumulator piston springs and check ball body to install the valve body.
      • First, temporarily tighten the bolts marked with (1) in the illustration because they are positioning bolts.

      Bolt length: 

      25 mm (0.984 in.) for Bolt A 

      41 mm (1.614 in.) for Bolt B 

      45 mm (1.771 in.) for Bolt C 

      Fig 107: Identifying Transmission Valve Body Bolts
      G05388083Courtesy of © TOYOTA, LICENSE AGREEMENT TMS1002
    3. Coat the O-ring on the ATF temperature sensor with ATF.
    4. Install the ATF temperature sensor with the lock plate and bolt.

      Torque: 6.6 N*m (67 kgf*cm, 58 in.*lbf) 

      Fig 108: Locating Bolt And Lock Plate
      G05388269Courtesy of © TOYOTA, LICENSE AGREEMENT TMS1002
    5. Connect the 5 shift solenoid valve connectors.
  56. INSTALL VALVE BODY OIL STRAINER ASSEMBLY 
    1. Coat a new O-ring with ATF, and install it into the valve body oil strainer assembly.
      Fig 109: Locating O-Ring
      G05388268Courtesy of © TOYOTA, LICENSE AGREEMENT TMS1002
    2. Install the valve body oil strainer assembly with the 3 bolts.

      Torque: 11 N*m (110 kgf*cm, 8 ft.*lbf) 

      Fig 110: Locating Bolts And Valve Body Oil Strainer Assembly
      G05388267Courtesy of © TOYOTA, LICENSE AGREEMENT TMS1002
  57. INSTALL AUTOMATIC TRANSAXLE OIL PAN SUB-ASSEMBLY 
    1. Install the 2 oil cleaner magnets onto the automatic transaxle oil pan sub-assembly, as shown in the illustration.
      Fig 111: Locating Oil Cleaner Magnets
      G05388050Courtesy of © TOYOTA, LICENSE AGREEMENT TMS1002
    2. Install the automatic transaxle oil pan sub-assembly and a new oil pan gasket with the 18 bolts.

      Torque: 7.8 N*m (80 kgf*cm, 69 in.*lbf) 

  58. INSTALL NO. 1 TRANSAXLE CASE PLUG 
    1. Coat 8 new O-rings with ATF, and install them into the 8 No. 1 transaxle case plugs.
      Fig 112: Locating Bolts And Automatic Transaxle Oil Pan Sub-Assembly
      G05388049Courtesy of © TOYOTA, LICENSE AGREEMENT TMS1002
    2. Install the 4 No. 1 transaxle case plugs onto the transaxle case.

      Torque: 7.4 N*m (75 kgf*cm, 65 in.*lbf) 

      Fig 113: Identifying No. 1 Transaxle Case Plugs
      G05388262Courtesy of © TOYOTA, LICENSE AGREEMENT TMS1002
    3. Install the 2 No. 1 transaxle case plugs onto the transaxle housing.

      Torque: 7.4 N*m (75 kgf*cm, 65 in.*lbf) 

      Fig 114: Identifying No. 1 Transaxle Case Plugs
      G05388263Courtesy of © TOYOTA, LICENSE AGREEMENT TMS1002
    4. Install the 2 No. 1 transaxle case plugs onto the transaxle rear cover.

      Torque: 7.4 N*m (75 kgf*cm, 65 in.*lbf) 

      Fig 115: Identifying O-Rings And No. 1 Transaxle Case Plugs
      G05388264Courtesy of © TOYOTA, LICENSE AGREEMENT TMS1002
  59. INSTALL SPEED SENSOR NT 
    1. Coat a new O-ring with ATF, and install it into the speed sensor NT.
    2. Install the speed sensor NT with the bolt.

      Torque: 11 N*m (110 kgf*cm, 8 ft.*lbf) 

      Fig 116: Identifying Speed Sensor NT And Speed Sensor NC
      G05388261Courtesy of © TOYOTA, LICENSE AGREEMENT TMS1002
  60. INSTALL SPEED SENSOR NC 
    1. Coat a new O-ring with ATF, and install it into the speed sensor NC.
    2. Install the speed sensor NC with the bolt.

      Torque: 8.8 N*m (90 kgf*cm, 78 in.*lbf) 

  61. INSTALL INLET OIL COOLER TUBE UNION 
    1. Coat a new O-ring with ATF, and install it into the inlet oil cooler tube union.
    2. Install the inlet oil cooler tube union into the transaxle case.

      Torque: 27 N*m (275 kgf*cm, 20 ft.*lbf) 

      Fig 117: Identifying O-Ring And Inlet Oil Cooler Tube Union
      G05388260Courtesy of © TOYOTA, LICENSE AGREEMENT TMS1002
  62. INSTALL OUTLET OIL COOLER TUBE UNION 
    1. Coat a new O-ring with ATF, and install it into the outlet oil cooler tube union.
    2. Install the outlet oil cooler tube union into the transaxle case.

      Torque: 27 N*m (275 kgf*cm, 20 ft.*lbf) 

    3. Fig 118: Identifying O-Ring And Outlet Oil Cooler Tube Union
      G05388259Courtesy of © TOYOTA, LICENSE AGREEMENT TMS1002
  63. INSTALL BREATHER PLUG HOSE 
    1. Install the breather plug hose to the breather plug.
  64. INSTALL PARK/NEUTRAL POSITION SWITCH ASSEMBLY 
    1. Install the park/neutral position switch assembly onto the manual valve lever shaft.
    2. Provisionally install the 2 bolts.
    3. Replace the lock plate with a new one and tighten the manual valve shaft nut.

      Torque: 6.9 N*m (70 kgf*cm, 61 in.*lbf) 

      Fig 119: Locating Bolts
      G05388483Courtesy of © TOYOTA, LICENSE AGREEMENT TMS1002
    4. Provisionally install the control shaft lever.
      Fig 120: Identifying Control Shaft Lever
      G05388484Courtesy of © TOYOTA, LICENSE AGREEMENT TMS1002
    5. Turn the control shaft lever counterclockwise until it stops, then turn it clockwise 2 notches.
    6. Remove the control shaft lever.
      Fig 121: Turning Control Shaft Lever Counterclockwise
      G05388485Courtesy of © TOYOTA, LICENSE AGREEMENT TMS1002
    7. Align the groove with the neutral basic line.
    8. Hold the switch in this position and tighten the 2 bolts.

      Torque: 5.4 N*m (55 kgf*cm, 48 in.*lbf) 

      Fig 122: Aligning Groove With Neutral Basic Line
      G05388486Courtesy of © TOYOTA, LICENSE AGREEMENT TMS1002
    9. Using a screwdriver, stake the nut with the lock plate.
      Fig 123: Staking Nut With Lock Plate
      G05388257Courtesy of © TOYOTA, LICENSE AGREEMENT TMS1002
    10. Install the control shaft lever with the nut.

      Torque: 13 N*m (133 kgf*cm, 10 ft.*lbf) 

      Fig 124: Locating Nut And Control Shaft Lever
      G05388256Courtesy of © TOYOTA, LICENSE AGREEMENT TMS1002