lemon-mirror:
Home >> Scion >> 2008 >> xD Automatic >> Repair and Diagnosis >> Body & Frame >> Windows >> Windshield/WINDOWGLASS >> Windshield Glass >> Installation

Windshield Glass: Installation

  1. CLEAN WINDSHIELD GLASS 
    1. Using a scraper, remove the damaged stoppers, dam and adhesive from the windshield glass.
      NOTE: Be careful not to damage the windshield glass.
      Fig 1: Cleaning Outer Circumference Of Back Door Glass
      G04833882Courtesy of © TOYOTA, LICENSE AGREEMENT TMS1002
    2. Clean the outer edge of the windshield glass with a non-residue solvent.
      NOTE:
      • Do not touch the windshield glass surface after cleaning it.
      • Even if using a new windshield glass, clean the windshield glass with a non-residue solvent.
  2. CLEAN VEHICLE BODY 
    1. Clean and shape the contact surface of the vehicle body.
      1. Using a knife, cut away any rough adhesive on the contact surface of the vehicle body to ensure the appropriate surface shape.
        NOTE: Do not damage the vehicle body.

        HINT:

        Leave as much adhesive on the vehicle body as possible.

        Fig 2: Identifying Adhesive On Vehicle Body Contact Surface
        G04833862Courtesy of © TOYOTA, LICENSE AGREEMENT TMS1002
      2. Clean the contact surface of the vehicle body with a shop rag or piece of cloth saturated with cleaner.

        HINT:

        Clean the vehicle body even if all the adhesive has been removed.

  3. INSTALL NO. 2 WINDSHIELD GLASS STOPPER 
    1. Using a brush or sponge, coat the application area of the No. 2 stoppers with Primer G.
      NOTE:
      • Do not apply too much primer.
      • Allow the primer coating to dry for 3 minutes or more.
      • Throw away any leftover primer.

      HINT:

      If an area other than that specified is coated by accident, wipe off the primer with a clean piece of cloth before it dries.

    2. Install 2 new No. 2 stoppers onto the windshield glass, as shown in the illustration.
      Fig 3: Installing No. 2 Stoppers Onto Windshield Glass
      G05403073Courtesy of © TOYOTA, LICENSE AGREEMENT TMS1002

      Standard dimension 

      STANDARD DIMENSION

      Area Dimension
      a 9.0 mm (0.354 in.)
      b 40 mm (1.575 in.)

      HINT:

      Only 2-piece type No. 2 stoppers are supplied. Use the 2-piece type stoppers even if a 1-piece type was used.

  4. INSTALL NO. 1 WINDSHIELD GLASS STOPPER 
    1. Install 2 new No. 1 stoppers to the vehicle body, as shown in the illustration.

      HINT:

      Only 2-piece type No. 1 stoppers are supplied. Use the 2-piece type stoppers even if a 1-piece type was used.

      Fig 4: Installing No. 1 Stoppers To Vehicle Body
      G05403074Courtesy of © TOYOTA, LICENSE AGREEMENT TMS1002
  5. INSTALL WINDSHIELD OUTSIDE MOULDING 
    1. Using a brush or sponge, coat the application area of the moulding with Primer G.
      NOTE:
      • Do not apply too much primer.
      • Allow the primer coating to dry for 3 minutes or more.
      • Throw away any leftover primer.

      HINT:

      If an area other than that specified is coated by accident, wipe off the primer with a clean piece of cloth before it dries.

    2. Install a new moulding onto the windshield glass, as shown in the illustration.
      Fig 5: Installing Moulding Onto Windshield Glass
      G05403075Courtesy of © TOYOTA, LICENSE AGREEMENT TMS1002
  6. INSTALL WINDOW GLASS ADHESIVE DAM 
    1. Using a brush or sponge, coat the application area of adhesive dam with Primer G.
      NOTE:
      • Do not apply too much primer.
      • Allow the primer coating to dry for 3 minutes or more.
      • Throw away any leftover primer.

      HINT:

      If an area other than that specified is coated by accident, wipe off the primer with a clean piece of cloth before it dries.

    2. Install a new adhesive dam onto the windshield glass, as shown in the illustration.
      Fig 6: Installing Adhesive Dam Onto Windshield Glass
      G05403076Courtesy of © TOYOTA, LICENSE AGREEMENT TMS1002

      Standard dimension 

      STANDARD DIMENSION

      Area Dimension
      a 10.6 mm (0.417 in.)
      b 9.6 mm (0.378 in.)
      c 32.3 mm (1.272 in.)
      NOTE: Install the new adhesive dam along the ceramic notches.
  7. INSTALL WINDSHIELD GLASS 
    1. Position the windshield glass.
      1. Using suction cups, place the windshield glass in the correct position.
      2. Check that the whole contact surface of the windshield glass rim is perfectly even.
      3. Align the matchmarks on the windshield glass and vehicle body.
        NOTE: Check that the windshield glass stoppers are attached to the vehicle body correctly.
        Fig 7: Identifying Matchmarks On Windshield Glass And Vehicle Body
        G05403077Courtesy of © TOYOTA, LICENSE AGREEMENT TMS1002
    2. Using a brush, coat the installation surface on the vehicle body with Primer M.
      NOTE:
      • Do not coat the adhesive with Primer M.
      • Do not apply too much primer.
      • Allow the primer coating to dry for 3 minutes or more.
      • Throw away any leftover primer.

      HINT:

      If an area other than that specified is coated by accident, wipe off the primer with a clean piece of cloth before it dries

      Fig 8: Coating Installation Surface On Vehicle Body With Primer M
      G05391306Courtesy of © TOYOTA, LICENSE AGREEMENT TMS1002
    3. Using a brush or sponge, coat the application areas that still have adhesive attached with Primer G.
      Fig 9: Identifying Coating Application Areas
      G05403079Courtesy of © TOYOTA, LICENSE AGREEMENT TMS1002

      Standard dimension 

      STANDARD DIMENSION

      Area Dimension
      a 8 mm or more (0.315 in. or more)
      b 8 mm or more (0.315 in. or more)
      c 19 mm or more (0.748 in. or more)
      NOTE:
      • Do not apply too much primer.
      • Allow the primer coating to dry for 3 minutes or more.
      • Throw away any leftover primer.

      HINT:

      • Apply Primer G onto the ceramic notches.
      • If an area other than that specified is coated by accident, wipe off the primer with a clean piece of cloth before it dries.
    4. Apply adhesive to the glass.

      Adhesive: Toyota Genuine Windshield Glass Adhesive or equivalent 

      1. Cut off the tip of the cartridge nozzle, as shown in the illustration.
        Fig 10: Identifying Cartridge Nozzle Cutting Dimensions
        G04833869Courtesy of © TOYOTA, LICENSE AGREEMENT TMS1002

        HINT:

        After cutting off the tip, use all adhesive within the time limit described in the table below.

        Usage time frame 

        TEMPERATURE SPECIFICATIONS

        Temperature Tack-free Time
        35°C (95°F) 15 minutes
        20°C (68°F) 1 hour and 40 minutes
        5°C (41°F) 8 hours
      2. Load the sealer gun with a cartridge.
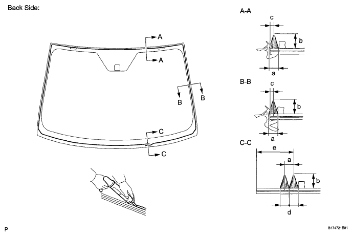
      3. Apply adhesive to the windshield glass, as shown in the illustration.
        Fig 11: Applying Adhesive To Windshield Glass
        G05403081Courtesy of © TOYOTA, LICENSE AGREEMENT TMS1002

        Standard dimension 

        STANDARD DIMENSION

        Area Dimension
        a 8.0 mm (0.315 in.)
        b 12.0 mm (0.472 in.)
        c 3.0 mm (0.118 in.)
        d 16.0 mm (0.630 in.)
        e 25.5 mm (1.004 in.)
    5. Install the windshield glass.
      1. Using suction cups, position the windshield glass so that the matchmarks are aligned, and press it in gently along the rim.
        NOTE:
        • Check that the windshield glass stoppers are attached to the vehicle body correctly.
        • Check the clearance between the vehicle body and windshield glass.
        • Fig 12: Identifying Matchmarks
          G05403082Courtesy of © TOYOTA, LICENSE AGREEMENT TMS1002
      2. Lightly press the front surface of the windshield glass to ensure a close fit.

        HINT:

        Press the glass with force of 98 N (10 kgf, 22 lb) or more.

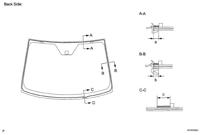
      3. If necessary, use a scraper to correct the level or position of adhesive that has been applied.

        HINT:

        Apply adhesive onto the windshield glass rim.

        Fig 13: Applying Adhesive Onto Windshield Glass Rim
        G05014950Courtesy of © TOYOTA, LICENSE AGREEMENT TMS1002
      4. Hold the windshield glass using protective tape until applied adhesive hardens.
        NOTE: Do not drive the vehicle within the time limits described in the table below.

        Minimum time 

        TEMPERATURE SPECIFICATIONS

        Temperature Minimum time prior to driving vehicle
        35°C (95°F) 1 hour and 30 minutes
        20°C (68°F) 5 hours
        5°C (41°F) 24 hours
  8. CHECK FOR LEAKAGE AND REPAIR 
    1. After the adhesive has hardened, apply water from the outside of the vehicle. Check that no water leaks into the cabin.
    2. If water leaks into the cabin, allow the water to dry and add adhesive.
    3. Remove the protective tape.
  9. INSTALL INNER REAR VIEW MIRROR ASSEMBLY  (See INSTALLATION )
  10. INSTALL ROOF HEADLINING ASSEMBLY 

    HINT:

    Return the front section of the roof headlining assembly to the original position.

  11. INSTALL ROOM LIGHT ASSEMBLY  (See INSTALLATION )
  12. INSTALL PERSONAL LIGHT ASSEMBLY  (See INSTALLATION )
  13. INSTALL VISOR HOLDER  (See INSTALLATION )
  14. INSTALL VISOR ASSEMBLY RH  (See INSTALLATION )
  15. INSTALL VISOR ASSEMBLY LH  (See INSTALLATION )
  16. INSTALL ASSIST GRIP  (See INSTALLATION )
  17. INSTALL FRONT PILLAR GARNISH RH  (See INSTALLATION )
  18. INSTALL FRONT PILLAR GARNISH LH  (See INSTALLATION )
  19. INSTALL FRONT DOOR OPENING TRIM WEATHERSTRIP RH  (See INSTALLATION )
  20. INSTALL FRONT DOOR OPENING TRIM WEATHERSTRIP LH  (See INSTALLATION )
  21. INSTALL COWL SIDE TRIM BOARD RH  (See INSTALLATION )
  22. INSTALL COWL SIDE TRIM BOARD LH  (See INSTALLATION )
  23. INSTALL NO. 1 INSTRUMENT PANEL UNDER COVER SUB-ASSEMBLY  (See INSTALLATION )
  24. INSTALL NO. 2 INSTRUMENT PANEL UNDER COVER SUB-ASSEMBLY  (See INSTALLATION )
  25. INSTALL FRONT DOOR SCUFF PLATE RH  (See INSTALLATION )
  26. INSTALL FRONT DOOR SCUFF PLATE LH  (See INSTALLATION )
  27. INSTALL COWL TOP VENTILATOR LOUVER LH  (See INSTALLATION )
  28. INSTALL COWL TOP VENTILATOR LOUVER SUB-ASSEMBLY  (See INSTALLATION )
  29. INSTALL HOOD TO COWL TOP SEAL  (See INSTALLATION )
  30. INSTALL FRONT WIPER ARM AND BLADE ASSEMBLY LH  (See INSTALLATION )
  31. INSTALL FRONT WIPER ARM AND BLADE ASSEMBLY RH  (See INSTALLATION )
  32. INSTALL FRONT WIPER ARM HEAD CAP  (See INSTALLATION )
  33. CONNECT CABLE TO NEGATIVE BATTERY TERMINAL 

    Torque: 5.4 N*m (55 kgf*cm, 48 in.*lbf) 

  34. INSPECT SRS WARNING LIGHT 

    (See DIAGNOSIS SYSTEM ).