lemon-mirror:
Home >> Scion >> 2008 >> xD Automatic >> Repair and Diagnosis >> Electrical >> Charging Systems >> 2ZR-FE Charging >> Generator >> Reassembly

2ZR-FE Charging: Generator: Reassembly

  1. INSTALL GENERATOR DRIVE END FRAME BEARING 
    1. Using SST and a press, press in a new generator drive end frame bearing.

      SST 09950-60010 (09951-00470), 09950-70010 (09951-07100) 

      Fig 1: Pressing Generator Drive End Frame Bearing
      G05399870Courtesy of © TOYOTA, LICENSE AGREEMENT TMS1002
    2. Fit the tabs on the retainer plate into the cutouts on the drive end frame to install the retainer plate.
    3. Fig 2: Identifying Retainer Plate Into Cutouts On Drive End Frame
      G05399871Courtesy of © TOYOTA, LICENSE AGREEMENT TMS1002
    4. Install the 4 screws.

      Torque: 2.3 N*m (23 kgf*cm, 20 in.*lbf) 

  2. INSTALL GENERATOR ROTOR ASSEMBLY 
    1. Place the drive end frame on the clutch pulley.
    2. Install the generator rotor assembly onto the drive end frame.
      Fig 3: Locating Generator Rotor Assembly Onto Drive End Frame
      G05399860Courtesy of © TOYOTA, LICENSE AGREEMENT TMS1002
    3. Place the generator washer on the generator rotor.
      Fig 4: Identifying Generator Washer On Generator Rotor
      G05287973Courtesy of © TOYOTA, LICENSE AGREEMENT TMS1002
  3. INSTALL GENERATOR COIL ASSEMBLY 
    1. Using SST and a press, slowly press in the generator coil assembly.

      SST 09612-70100 (09612-07240) 

      Fig 5: Pressing Generator Coil Assembly
      G05399874Courtesy of © TOYOTA, LICENSE AGREEMENT TMS1002
    2. Install the 4 bolts.

      Torque: 5.9 N*m (60 kgf*cm, 52 in.*lbf) 

      Fig 6: Locating Generator Coil Bolts
      G05399857Courtesy of © TOYOTA, LICENSE AGREEMENT TMS1002
  4. INSTALL GENERATOR BRUSH HOLDER ASSEMBLY 
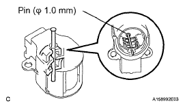
    1. While pushing the 2 brushes into the generator brush holder assembly, insert a ø 1.0 mm (0.039 in.) pin into the brush holder hole.
      Fig 7: Pushing Brushes Into Generator Brush Holder Assembly
      G05399876Courtesy of © TOYOTA, LICENSE AGREEMENT TMS1002
    2. Install the brush holder assembly onto the generator coil with the 2 screws.

      Torque: 1.8 N*m (18 kgf*cm, 16 in.*lbf) 

      Fig 8: Locating Generator Coil With Screws
      G05399877Courtesy of © TOYOTA, LICENSE AGREEMENT TMS1002
    3. Pull out the pin from the generator brush holder.
      Fig 9: Pulling Pin From Generator Brush Holder
      G05399878Courtesy of © TOYOTA, LICENSE AGREEMENT TMS1002
  5. INSTALL GENERATOR TERMINAL INSULATOR 
    1. Install the terminal insulator onto the generator coil.
      NOTE: Pay attention to installation direction of the terminal insulator.
      Fig 10: Locating Terminal Insulator Onto Generator Coil
      G05399879Courtesy of © TOYOTA, LICENSE AGREEMENT TMS1002
  6. INSTALL GENERATOR REAR END COVER 
    1. Install the generator rear end cover onto the generator coil with the 3 nuts.

      Torque: 4.6 N*m (47 kgf*cm, 41 in.*lbf) 

      Fig 11: Locating Generator Rear End Cover Onto Generator Coil With Nuts
      G05399854Courtesy of © TOYOTA, LICENSE AGREEMENT TMS1002
  7. INSTALL GENERATOR CLUTCH PULLEY 
    1. Temporarily install the clutch pulley onto the rotor shaft.
    2. Set SST (A) and (B).

      SST 09820-63020 (09821-63020) 

      Fig 12: Identifying SST
      G04975758Courtesy of © TOYOTA, LICENSE AGREEMENT TMS1002
    3. Clamp SST (A) in a vise.
    4. Place the rotor shaft end into SST (A).
      Fig 13: Identifying Rotor Shaft End And SST
      G05399850Courtesy of © TOYOTA, LICENSE AGREEMENT TMS1002
    5. Fit SST (B) to the clutch pulley.
      Fig 14: Identifying Clutch Pulley With SST
      G05399851Courtesy of © TOYOTA, LICENSE AGREEMENT TMS1002
    6. Tighten the pulley by turning SST (B) in the direction shown in the illustration.

      Torque: without SST 

      111 N*m (1127 kgf*cm, 82 ft.*lbf) 

      with SST 

      84 N*m (857 kgf*cm, 62 ft.*lbf) 

      NOTE:
      • Use a torque wrench with a fulcrum length of 318 mm (12.52 in.).
      • This torque value is effective when SST is parallel to the torque wrench.
        Fig 15: Tightening Pulley With Turning SST
        G05399884Courtesy of © TOYOTA, LICENSE AGREEMENT TMS1002
    7. Remove the generator assembly from SST.
    8. Check that the clutch pulley rotates smoothly.
    9. Install a new clutch pulley cap onto the clutch pulley.