lemon-mirror:
Home >> Scion >> 2008 >> xD Automatic >> Repair and Diagnosis >> Transmission >> Automatic Trans >> U341E Automatic Transaxle >> Automatic Transaxle Unit >> Reassembly

Automatic Transaxle Unit: Reassembly

  1. BEARING POSITION 
    1. Check bearing position and installation direction.
    Fig 1: Identifying Bearings Position And Installation Direction
    G05400184Courtesy of © TOYOTA, LICENSE AGREEMENT TMS1002
  2. INSPECT DIFFERENTIAL CASE TAPERED ROLLER BEARING PRELOAD 
    1. Coat the front differential case and bearing with ATF and install them to the transaxle case.
    2. Install the transaxle housing with the 14 bolts.

      Torque: Bolt A 

      29 N*m (296 kgf*cm, 21 ft.*lbf) 

      Bolt B 

      22 N*m (224 kgf*cm, 16 ft.*lbf) 

      Fig 2: Identifying Transaxle Housing Bolts
      G05400185Courtesy of © TOYOTA, LICENSE AGREEMENT TMS1002
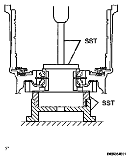
    3. Using SST and a small torque wrench, measure the preload of the differential gear.

    Preload 

    PRELOAD SPECIFICATION

    Bearing Standard
    New 0.98 to 1.57 N*m (10.0 to 16.0 kgf*cm, 8.7 to 13.9 in.*lbf)
    Used 0.49 to 0.78 N*m (5.0 to 8.0 kgf*cm, 4.3 to 6.9 in.*lbf)

    If the preload is not within the specifications, remove the differential from the transaxle case.

    Select a new transaxle case side adjusting shim in accordance with the following table.

    Fig 3: Measuring Preload Of Differential Gear
    G04831349Courtesy of © TOYOTA, LICENSE AGREEMENT TMS1002

    Adjusting shim thickness 

    ADJUSTING SHIM THICKNESS SPECIFICATION

    Mark Thickness mm (in.) Mark Thickness mm (in.)
    01 1.90 (0.0748) 11 2.40 (0.0945)
    02 1.95 (0.0768) 12 2.45 (0.0965)
    03 2.00 (0.0787) 13 2.50 (0.0984)
    04 2.05 (0.0807) 14 2.55 (0.1004)
    05 2.10 (0.0827) 15 2.60 (0.1024)
    06 2.15 (0.0846) 16 2.65 (0.1043)
    07 2.20 (0.0866) 17 2.70 (0.1063)
    08 2.25 (0.0885) 18 2.75 (0.1082)
    09 2.30 (0.0906) 19 2.80 (0.1102)
    10 2.35 (0.0925)    
  3. INSTALL FRONT TRANSAXLE CASE OIL SEAL 
    1. Coat the lip of a new oil seal with MP grease.
    2. Using SST and a hammer, drive in a new oil seal.

      SST 09387-00010, 09950-70010 (09951-07100) 

      Oil seal drive in depth: 

      -0.5 to 0.5 mm (-0.020 to 0.020 in.) 

      Fig 4: Installing Front Transaxle Case Oil Seal
      G04831350Courtesy of © TOYOTA, LICENSE AGREEMENT TMS1002
  4. INSTALL TRANSAXLE CASE OIL SEAL 
    1. Coat the lip of a new oil seal with MP grease.
    2. Using SST and a hammer, drive in a new oil seal.

      SST 09726-27012 (09726-02041), 09950-70010 (09951-07150) 

      Oil seal drive in depth: 

      2.2 to 3.2 mm (0.087 to 0.126 in.) 

      Fig 5: Installing Transaxle Case Oil Seal
      G04831351Courtesy of © TOYOTA, LICENSE AGREEMENT TMS1002
  5. INSTALL FRONT DRIVE PINION REAR TAPERED ROLLER BEARING 
    1. Install the No. 1 transaxle case plate onto the transaxle case.
      Fig 6: Installing Transaxle Case Plate
      G04831352Courtesy of © TOYOTA, LICENSE AGREEMENT TMS1002
    2. Using SST and a hammer, install the front drive pinion rear tapered roller bearing to the transaxle case.

      SST 09950-60010 (09951-00610), 09950-70010 (09951-07150) 

    3. Fig 7: Installing Front Drive Pinion Rear Tapered Roller Bearing
      G04831353Courtesy of © TOYOTA, LICENSE AGREEMENT TMS1002
  6. INSTALL FRONT DRIVE PINION FRONT TAPERED ROLLER BEARING 
    1. Install the thrust bearing to the transaxle housing.
    2. Using SST and a press, install a new front drive pinion front tapered roller bearing to the transaxle housing.

      SST 09950-60010 (09951-00650), 09950-70010 (09951-07150) 

      Fig 8: Installing Front Drive Pinion Front Tapered Roller Bearing
      G04831354Courtesy of © TOYOTA, LICENSE AGREEMENT TMS1002
  7. INSTALL DIFFERENTIAL GEAR LUBE APPLY TUBE 
    1. Install the differential gear lube apply tube to the transaxle housing.
      Fig 9: Locating Differential Gear Lube Apply Tube
      G04831334Courtesy of © TOYOTA, LICENSE AGREEMENT TMS1002
  8. INSTALL BEARING LOCK PLATE 
    1. Install the bearing lock plate to the transaxle housing with the bolt.

      Torque: 11 N*m (110 kgf*cm, 8 ft.*lbf) 

      Fig 10: Locating Bearing Lock Plate Bolt
      G04831333Courtesy of © TOYOTA, LICENSE AGREEMENT TMS1002
  9. INSTALL COUNTER DRIVE GEAR HOLE SNAP RING 
    1. Using a screwdriver, install the counter drive gear hole snap ring to the transaxle case.
      Fig 11: Identifying Counter Drive Gear Hole Snap Ring
      G04831339Courtesy of © TOYOTA, LICENSE AGREEMENT TMS1002
  10. INSTALL COUNTER DRIVE GEAR BEARING LH 
    1. Using SST and a hammer, install the counter drive gear bearing outer race LH to the transaxle case.

      SST 09950-60020 (09951-00890), 09950-70010 (09951-07150) 

      Fig 12: Installing Counter Drive Gear Bearing Outer Race LH
      G04831358Courtesy of © TOYOTA, LICENSE AGREEMENT TMS1002
    2. Install the counter drive gear bearing LH to the transaxle case.
  11. REMOVE COUNTER DRIVE GEAR BEARING RH 
    1. Using SST and a hammer, install the counter drive gear bearing outer race RH to the transaxle case.

      SST 09950-60020 (09951-00890), 09950-70010 (09951-07150) 

      Fig 13: Identifying Counter Drive Gear Bearing Outer Race RH
      G04831359Courtesy of © TOYOTA, LICENSE AGREEMENT TMS1002
    2. Install the counter drive gear bearing RH to the transaxle case.
  12. INSTALL MANUAL VALVE LEVER SHAFT OIL SEAL 
    1. Coat the lip of a new oil seal with MP grease.
    2. Using SST and a hammer, install a new manual valve lever shaft oil seal.

      SST 09950-60010 (09951-00220), 09950-70010 (09951-07100) 

      Oil seal drive in depth: 

      -0.5 to 0.5 mm (-0.020 to 0.020 in.) 

      Fig 14: Installing Manual Valve Lever Shaft Oil Seal
      G04831360Courtesy of © TOYOTA, LICENSE AGREEMENT TMS1002
  13. INSTALL DIFFERENTIAL DRIVE PINION 
    1. Using SST and a press, install the differential drive pinion to the counter driven gear.

      SST 09950-60010 (09951-00350), 09950-70010 (09951-07150) 

      NOTE: When replacing the counter driven gear, replace the counter drive gear in the transaxle case as well.
      Press in the differential drive pinion until it comes into contact with the counter driven gear.
      Fig 15: Installing Differential Drive Pinion
      G04831361Courtesy of © TOYOTA, LICENSE AGREEMENT TMS1002
  14. INSTALL DIFFERENTIAL DRIVE PINION PLUG 
    1. Using SST and a plastic hammer, install a new differential drive pinion plug to the differential drive pinion.

      SST 09221-25026 (09221-00071) 

      Standard clearance: 

      2.5 to 3.5 mm (0.0984 to 0.1378 in.) 

      Fig 16: Installing Differential Drive Pinion Plug
      G04831362Courtesy of © TOYOTA, LICENSE AGREEMENT TMS1002
  15. INSTALL COUNTER DRIVEN GEAR 
    1. Install the counter driven gear and drive pinion thrust bearing to the transaxle case.
    2. Fig 17: Identifying Counter Driven Gear And Drive Pinion Thrust Bearing
      G04831363Courtesy of © TOYOTA, LICENSE AGREEMENT TMS1002
  16. INSTALL PARKING LOCK PAWL 
    1. Coat the parking lock pawl shaft with ATF.
    2. Install the parking lock pawl, parking lock pawl shaft torsion spring and parking lock pawl shaft to the transaxle case.
      NOTE: Check that the parking lock pawl moves smoothly.
      Fig 18: Locating Parking Lock Pawl Torsion Spring
      G04831329Courtesy of © TOYOTA, LICENSE AGREEMENT TMS1002
  17. INSTALL MANUAL VALVE LEVER SHAFT 
    1. Install the manual valve lever shaft to the transaxle case.
      NOTE: Do not damage the oil seal lip.
      Fig 19: Identifying Manual Valve Lever Shaft
      G04831328Courtesy of © TOYOTA, LICENSE AGREEMENT TMS1002
  18. INSTALL PARKING LOCK ROD SUB-ASSEMBLY 
    1. Install the parking lock rod to the manual valve lever.
    2. Fig 20: Identifying Parking Lock Rod
      G04831327Courtesy of © TOYOTA, LICENSE AGREEMENT TMS1002
  19. INSTALL MANUAL VALVE LEVER SUB-ASSEMBLY 
    1. Coat the manual valve lever sub-assembly with ATF.
    2. Install the manual valve lever and a new manual valve lever spacer to the manual valve lever shaft.
    3. Using a pin punch and hammer, drive in the pin.
      Fig 21: Installing Manual Valve Lever Shaft Spring Pin
      G04831326Courtesy of © TOYOTA, LICENSE AGREEMENT TMS1002
    4. Turn the spacer and lever shaft to align the small hole for locating the staking position mark on the lever shaft.
    5. Fig 22: Turning Spacer And Lever Shaft
      G04831368Courtesy of © TOYOTA, LICENSE AGREEMENT TMS1002
    6. Using a pin punch, stake the spacer through the small hole.
    7. Check that the spacer does not turn.
  20. INSTALL MANUAL VALVE LEVER SHAFT RETAINER SPRING 
    1. Install the manual valve lever shaft retainer spring to the manual valve lever shaft.
      Fig 23: Identifying Manual Valve Lever Shaft Retainer Spring
      G04831324Courtesy of © TOYOTA, LICENSE AGREEMENT TMS1002
  21. INSTALL PARKING LOCK PAWL BRACKET 
    1. Install the parking lock pawl bracket, parking lock rod and cam guide sleeve to the transaxle case with the 3 bolts.

      Torque: 20 N*m (204 kgf*cm, 15 ft.*lbf) 

      Fig 24: Identifying Parking Lock Pawl Bracket Bolts
      G04831323Courtesy of © TOYOTA, LICENSE AGREEMENT TMS1002
  22. INSTALL COUNTER DRIVE GEAR 
    1. Using SST and a press, install the counter drive gear to the transaxle case.

      SST 09223-15030, 09527-17011, 09950-60010 (09951-00650), 09950-70010 (09951-07150) 

      Fig 25: Installing Counter Drive Gear To Transaxle Case
      G04831371Courtesy of © TOYOTA, LICENSE AGREEMENT TMS1002
  23. INSTALL PLANETARY GEAR ASSEMBLY 
    1. Using SST and a press, install the planetary gear assembly to the transaxle case.

      SST 09950-60010 (09951-00480), 09223-15030, 09527-17011, 09950-70010 (09951-07150) 

      Fig 26: Installing Planetary Gear Assembly
      G04831372Courtesy of © TOYOTA, LICENSE AGREEMENT TMS1002
  24. INSTALL COUNTER DRIVE GEAR NUT 
    1. Fix the counter driven gear with the parking lock pawl.
      Fig 27: Identifying Parking Lock Pawl
      G04831318Courtesy of © TOYOTA, LICENSE AGREEMENT TMS1002
    2. Using SST, install a new lock washer and nut.

      SST 09387-00120 

      Torque: 280 N*m (2855 kgf*cm, 207 ft.*lbf) 

      Fig 28: Installing Lock Washer
      G05400211Courtesy of © TOYOTA, LICENSE AGREEMENT TMS1002
    3. Using SST and a small torque wrench, measure the rotating torque while turning the counter drive gear at 60 turns per minute.

      SST 09387-00120 

      Rotating torque: 

      0.20 to 0.49 N*m (2.0 to 5.0 kgf*cm, 1.8 to 4.3 in.*lbf) 

      Fig 29: Measuring Rotating Torque
      G04831375Courtesy of © TOYOTA, LICENSE AGREEMENT TMS1002
    4. Using SST and a hammer, stake the lock nut washer.

      SST 09930-00010 

      Fig 30: Staking Lock Nut Washer
      G04831376Courtesy of © TOYOTA, LICENSE AGREEMENT TMS1002
  25. INSTALL NO. 2 1ST AND REVERSE BRAKE PISTON O-RING 
    1. Coat 2 new O-rings with ATF, and install them to the No. 2 brake piston.
      Fig 31: Locating 1st And Reverse Brake Piston O-Rings
      G04831317Courtesy of © TOYOTA, LICENSE AGREEMENT TMS1002
  26. INSTALL NO. 2 1ST AND REVERSE BRAKE PISTON 
    1. Coat the No. 2 1st and reverse brake piston with ATF, and install it to the transaxle case.
      NOTE: Do not damage the oil seal lip.
      Fig 32: Identifying 1st And Reverse Brake Piston
      G04831378Courtesy of © TOYOTA, LICENSE AGREEMENT TMS1002
  27. INSTALL 1ST AND REVERSE BRAKE RETURN SPRING SUB-ASSEMBLY 
    1. Install the 1st and reverse brake return spring sub-assembly to the transaxle case.
    2. Using SST, a press and a screwdriver, install the snap ring.

      SST 09387-00070 

      Fig 33: Installing Snap Ring
      G04831315Courtesy of © TOYOTA, LICENSE AGREEMENT TMS1002
  28. INSTALL 1ST AND REVERSE BRAKE DISC 
    1. Install the 4 plates, 4 discs and flange to the transaxle case.
    2. Fig 34: Identifying Plates, Discs And Flange
      G05400217Courtesy of © TOYOTA, LICENSE AGREEMENT TMS1002
    3. Using a screwdriver, install the snap ring.
  29. INSPECT PACK CLEARANCE OF FIRST AND REVERSE BRAKE 
    1. Using SST and a dial indicator, measure the first and reverse brake clearance while pressing the disc and plate from the rear side.

      SST 09350-36010 (09350-06110) 

      Pack clearance: 

      0.806 to 1.206 mm (0.0317 to 0.0475 in.) 

      NOTE: If the clearance is not within the specified range, select a new brake flange.
      Fig 35: Measuring First And Reverse Brake Clearance
      G04831381Courtesy of © TOYOTA, LICENSE AGREEMENT TMS1002

      HINT:

      There are 4 different flange thicknesses.

      Flange thickness 

      FLANGE THICKNESS SPECIFICATION

      Mark Thickness mm (in.) Mark Thickness mm (in.)
      - 3.4 (0.134) 2 3.8 (0.150)
      1 3.6 (0.142) 3 4.0 (0.157)
    2. Check that the 1st and reverse brake piston moves when compressed air is applied (392 kPa, 4.0 kgf/cm2 , 57 psi) to the oil hole.
  30. INSTALL FRONT PLANETARY SUN GEAR 
    1. Install the planetary sun gear and needle roller bearing to the planetary gear assembly.
      Fig 36: Identifying Planetary Sun Gear And Needle Roller Bearing
      G04831382Courtesy of © TOYOTA, LICENSE AGREEMENT TMS1002
  31. INSTALL OUTER RACE RETAINER 
    1. Install the outer retainer to the No. 2 one-way clutch.
      Fig 37: Locating One-Way Clutch Outer Retainer
      G04831312Courtesy of © TOYOTA, LICENSE AGREEMENT TMS1002
  32. INSTALL NO. 2 ONE-WAY CLUTCH 
    1. Install the one-way clutch and 2nd brake piston assembly to the rear planetary gear assembly.
      Fig 38: Identifying One-Way Clutch And 2nd Brake Piston Assembly
      G05400221Courtesy of © TOYOTA, LICENSE AGREEMENT TMS1002
  33. INSTALL REAR PLANETARY GEAR THRUST NEEDLE ROLLER BEARING 
    1. Install the No. 2 thrust bearing race, the planetary gear thrust needle roller bearing and thrust bearing race to the rear planetary gear assembly.
      Fig 39: Identifying Thrust Bearing Race And Planetary Gear Thrust Needle Roller Bearing
      G04831385Courtesy of © TOYOTA, LICENSE AGREEMENT TMS1002
  34. INSTALL REAR PLANETARY GEAR ASSEMBLY 
    1. Install the rear planetary gear assembly to the transaxle case.
    2. Fig 40: Identifying Snap Ring And Rear Planetary Gear Assembly
      G04831386Courtesy of © TOYOTA, LICENSE AGREEMENT TMS1002
    3. Using a screwdriver, install the snap ring.
  35. INSPECT NO. 2 ONE-WAY CLUTCH 
    1. Check that the rear planetary gear assembly turns freely counterclockwise and locks when turned clockwise.
      Fig 41: Checking Rear Planetary Gear Assembly
      G05400145Courtesy of © TOYOTA, LICENSE AGREEMENT TMS1002
  36. INSTALL 2ND BRAKE PISTON SLEEVE 
    1. Install the 2nd brake piston sleeve to the transaxle case.
      Fig 42: Identifying 2nd Brake Piston Sleeve
      G04831307Courtesy of © TOYOTA, LICENSE AGREEMENT TMS1002
  37. INSTALL 2ND BRAKE DISC 
    1. Install the 4 discs, 2 flanges and 3 No. 1 flanges to the transaxle case.
    2. Fig 43: Identifying Discs, Flanges And Flanges
      G05400226Courtesy of © TOYOTA, LICENSE AGREEMENT TMS1002
    3. Using a screwdriver, install a snap ring to the transaxle case.
  38. INSPECT PACK CLEARANCE OF 2ND BRAKE 
    1. Using a dial indicator, measure the 2nd brake pack clearance while applying and releasing compressed air (392 to 785 kPa, 4 to 8 kgf/cm2 , 57 to 114 psi).

      Pack clearance: 

      0.847 to 1.247 mm (0.0333 to 0.0491 in.) 

      NOTE: If the clearance is not within the specified range, select a new brake flange.

      HINT:

      There are 4 different flange thicknesses.

      Fig 44: Measuring 2nd Brake Pack Clearance
      G05400227Courtesy of © TOYOTA, LICENSE AGREEMENT TMS1002

      Flange thickness 

      FLANGE THICKNESS SPECIFICATION

      Mark Thickness mm (in.) Mark Thickness mm (in.)
      - 3.0 (0.118) 2 3.4 (0.134)
      1 3.2 (0.126) 3 3.6 (0.142)
  39. INSTALL 2ND COAST AND OVERDRIVE BRAKE FLANGE HOLE SNAP RING 
    1. Using a screwdriver, install a snap ring to the transaxle case.
      Fig 45: Identifying 2nd Coast And Overdrive Brake Flange Hole Snap Ring
      G04831305Courtesy of © TOYOTA, LICENSE AGREEMENT TMS1002
  40. INSTALL ONE-WAY CLUTCH ASSEMBLY 
    1. Install the No. 2 thrust washer to the rear planetary gear assembly.
    2. Install the one-way clutch assembly to the rear planetary sun gear assembly.
      Fig 46: Identifying One-Way Clutch Assembly And Rear Planetary Sun Gear Assembly
      G04831304Courtesy of © TOYOTA, LICENSE AGREEMENT TMS1002
  41. INSPECT ONE-WAY CLUTCH ASSEMBLY 
    1. Hold the rear planetary sun gear, turn the one-way clutch and check that the one-way clutch turns freely counterclockwise and locks when turned clockwise.
      Fig 47: Inspecting One-Way Clutch Assembly
      G05400140Courtesy of © TOYOTA, LICENSE AGREEMENT TMS1002
  42. INSTALL REAR PLANETARY SUN GEAR THRUST NEEDLE ROLLER BEARING 
    1. Install the thrust bearing and a washer to the rear planetary sun gear.
      Fig 48: Identifying Rear Planetary Sun Gear Thrust Needle Roller Bearing
      G04831394Courtesy of © TOYOTA, LICENSE AGREEMENT TMS1002
  43. INSTALL REAR PLANETARY SUN GEAR ASSEMBLY 
    1. Install the rear planetary sun gear assembly.
      Fig 49: Identifying Rear Planetary Sun Gear Assembly
      G04831301Courtesy of © TOYOTA, LICENSE AGREEMENT TMS1002
  44. INSTALL REAR NO. 2 PLANETARY SUN GEAR THRUST NEEDLE ROLLER BEARING 
    1. Install the thrust bearing to the rear planetary sun gear.
      Fig 50: Identifying Rear Planetary Sun Gear Thrust Needle Roller Bearing
      G04831396Courtesy of © TOYOTA, LICENSE AGREEMENT TMS1002
  45. INSTALL DIRECT CLUTCH HUB 
    1. Install the direct clutch hub.
      Fig 51: Identifying Direct Clutch Hub
      G04831299Courtesy of © TOYOTA, LICENSE AGREEMENT TMS1002
  46. INSTALL THRUST NEEDLE ROLLER BEARING 
    1. Install the No. 3 thrust bearing race, the thrust needle roller bearing and the C-2 hub thrust bearing race to the direct clutch hub.
      Fig 52: Identifying Thrust Bearing Race And Thrust Needle Roller Bearing
      G04831398Courtesy of © TOYOTA, LICENSE AGREEMENT TMS1002
  47. INSTALL 2ND COAST AND OVERDRIVE BRAKE DISC 
    1. Install the 2 discs, No. 2 flanges and flange to the transaxle case.
      Fig 53: Identifying Discs, Flanges And Flange
      G05400236Courtesy of © TOYOTA, LICENSE AGREEMENT TMS1002
  48. INSTALL INTERMEDIATE SHAFT ASSEMBLY 
    1. Install the intermediate shaft assembly to the transaxle case.
      Fig 54: Identifying Intermediate Shaft Assembly
      G04831296Courtesy of © TOYOTA, LICENSE AGREEMENT TMS1002
  49. INSPECT 2ND COAST AND OVERDRIVE BRAKE CLEARANCE 
    1. As shown in the illustration, place a straight edge on the transaxle case and measure the distance between the 2nd coast and O/D brake flange and straight edge using vernier calipers. (Dimension A)
      Fig 55: Measuring Distance Between 2nd Coast And O/D Brake Flange And Straight Edge
      G05400238Courtesy of © TOYOTA, LICENSE AGREEMENT TMS1002
    2. As shown in the illustration, place a straight edge on the O/D brake piston and measure the distance between the transaxle rear cover and straight edge using vernier calipers. (Dimension B) Calculate the piston stroke value using the following formula. Select a flange which meets the piston stroke value and install it.

      Pack clearance: 

      2.091 to 2.491 mm (0.0823 to 0.0981 in.) 

      NOTE: If the clearance is not within the specified range, select a new brake flange.
      Fig 56: Measuring Distance Between Transaxle Rear Cover And Straight Edge
      G05400239Courtesy of © TOYOTA, LICENSE AGREEMENT TMS1002

      HINT:

      There are 4 different flange thicknesses.

      Flange thickness 

      FLANGE THICKNESS SPECIFICATION

      Mark Thickness mm (in.) Mark Thickness mm (in.)
      4 4.0 (0.1575) 6 4.4 (0.1732)
      5 4.2 (0.1654) 7 4.6 (0.1811)
  50. INSTALL REAR CLUTCH DRUM THRUST NEEDLE ROLLER BEARING 
    1. Install the bearing to the intermediate shaft.
      Fig 57: Identifying Rear Clutch Drum Thrust Needle Roller Bearing
      G04831403Courtesy of © TOYOTA, LICENSE AGREEMENT TMS1002
  51. INSPECT INTERMEDIATE SHAFT ASSEMBLY 
    1. Install the transaxle rear cover with the 11 bolts.

      Torque: 25 N*m (255 kgf*cm, 18 ft.*lbf) 

      Fig 58: Identifying Rear Transaxle Cover Bolts
      G05400130Courtesy of © TOYOTA, LICENSE AGREEMENT TMS1002
    2. Using a dial indicator, measure the intermediate shaft end play.

      Standard clearance: 

      0.204 to 0.966 mm (0.008 to 0.038 in.) 

      If the end play is not as specified, select and replace the rear clutch drum thrust needle roller bearing.

      HINT:

      There are 2 different trust needle roller bearing thicknesses.

      BEARING THICKNESS SPECIFICATION

      Color Thickness mm (in.)
      Brown 0.785 (0.0309)
      Black 1.1 (0.0433)
      Fig 59: Measuring Intermediate Shaft End Play
      G04831291Courtesy of © TOYOTA, LICENSE AGREEMENT TMS1002
    3. Remove the 11 bolts and the transaxle rear cover.
  52. INSTALL TRANSAXLE CASE GASKET 
    1. Install 4 new gaskets to the transaxle case.
      Fig 60: Identifying Transaxle Case Gaskets
      G04831294Courtesy of © TOYOTA, LICENSE AGREEMENT TMS1002
  53. INSTALL REAR TRANSAXLE COVER ASSEMBLY 
    1. Apply seal packing to the transaxle case.

      Seal packing: 

      Toyota Genuine Seal Packing 1281, Three Bond 1281 or equivalent 

      Fig 61: Identifying Seal Packing Applying Area Of Transaxle Case
      G04831407Courtesy of © TOYOTA, LICENSE AGREEMENT TMS1002
    2. Install the rear transaxle cover with the 11 bolts.

      Torque: 25 N*m (255 kgf*cm, 18 ft.*lbf) 

      Fig 62: Identifying Rear Transaxle Cover Bolts
      G05400130Courtesy of © TOYOTA, LICENSE AGREEMENT TMS1002
  54. INSTALL FORWARD CLUTCH HUB SUB-ASSEMBLY 
    1. Install the forward clutch hub sub-assembly onto the transaxle case.
      Fig 63: Identifying Forward Clutch Hub Sub-Assembly
      G05400246Courtesy of © TOYOTA, LICENSE AGREEMENT TMS1002
  55. INSTALL FORWARD CLUTCH HUB THRUST NEEDLE ROLLER BEARING 
    1. Install the bearing to the forward clutch hub.
      Fig 64: Identifying Forward Clutch Hub Thrust Needle Roller Bearing
      G04831410Courtesy of © TOYOTA, LICENSE AGREEMENT TMS1002
  56. INSTALL STATOR SHAFT THRUST NEEDLE ROLLER BEARING 
    1. Install the bearing to the input shaft assembly.
      Fig 65: Identifying Stator Shaft Thrust Needle Roller Bearing
      G04831411Courtesy of © TOYOTA, LICENSE AGREEMENT TMS1002
  57. INSTALL INPUT SHAFT ASSEMBLY 
    1. Install the input shaft assembly to the transaxle case.
      Fig 66: Identifying Input Shaft Assembly
      G04831288Courtesy of © TOYOTA, LICENSE AGREEMENT TMS1002
  58. INSTALL OVERDRIVE BRAKE GASKET 
    1. Install 2 new gaskets to the transaxle case.
      Fig 67: Locating Overdrive Brake Gaskets
      G04831287Courtesy of © TOYOTA, LICENSE AGREEMENT TMS1002
  59. INSTALL DIFFERENTIAL GEAR ASSEMBLY 
    1. Install the differential gear assembly to the transaxle case.
      Fig 68: Identifying Differential Gear Assembly
      G05400123Courtesy of © TOYOTA, LICENSE AGREEMENT TMS1002
  60. INSTALL OIL PUMP ASSEMBLY 
    1. Install the oil pump with the 7 bolts.

      Torque: 22 N*m (224 kgf*cm, 16 ft.*lbf) 

      Fig 69: Identifying Oil Pump Assembly Bolts
      G04831285Courtesy of © TOYOTA, LICENSE AGREEMENT TMS1002
  61. INSPECT INPUT SHAFT ASSEMBLY 
    1. Make sure that the input shaft turns smoothly.
      Fig 70: Inspecting Input Shaft Assembly
      G05400253Courtesy of © TOYOTA, LICENSE AGREEMENT TMS1002
  62. INSPECT INPUT SHAFT END PLAY 
    1. Measure the end play in the axial direction.

      End play: 

      0.374 to 1.292 mm (0.0147 to 0.0509 in.) 

      If the end play is not as specified, replace the forward clutch hub thrust needle roller bearing and the stator shaft thrust needle bearing.

      Fig 71: Measuring Input Shaft End Play
      G04831284Courtesy of © TOYOTA, LICENSE AGREEMENT TMS1002
  63. INSTALL TRANSAXLE HOUSING 
    1. Apply seal packing to the transaxle case.

      Seal packing: 

      Toyota Genuine Seal Packing 1281, Three Bond 1281 or equivalent 

      Fig 72: Identifying Seal Packing Applying Area Of Transaxle Housing
      G04831418Courtesy of © TOYOTA, LICENSE AGREEMENT TMS1002
    2. Install the transaxle housing with the 14 bolts.

      Torque: Bolt A 

      29 N*m (296 kgf*cm, 21 ft.*lbf) 

      Bolt B 

      22 N*m (224 kgf*cm, 16 ft.*lbf) 

      Fig 73: Identifying Transaxle Housing Bolts
      G05400185Courtesy of © TOYOTA, LICENSE AGREEMENT TMS1002
  64. INSTALL C-2 ACCUMULATOR PISTON 
    1. Coat 2 new O-rings with ATF and install them to the C-2 accumulator piston.
      NOTE: Do not damage the O-rings.
      Fig 74: Locating C-2 Accumulator Piston O-Rings
      G04831282Courtesy of © TOYOTA, LICENSE AGREEMENT TMS1002
    2. Install the spring and C-2 accumulator piston.

      Accumulator spring 

      ACCUMULATOR SPRING LENGTH SPECIFICATION

      Spring Free length/ Outer diameter mm (in.) Color
      C-2 66.2 to 67.6 (2.606 to 2.661) 17.20 (0.6772) -
      Fig 75: Identifying Spring And C-2 Accumulator Piston
      G04831421Courtesy of © TOYOTA, LICENSE AGREEMENT TMS1002
  65. INSTALL C-3 ACCUMULATOR PISTON 
    1. Coat 2 new O-rings with ATF and install them to the C-3 accumulator piston.
      NOTE: Do not damage the O-rings.
      Fig 76: Locating C-3 Accumulator Piston O-Rings
      G04831280Courtesy of © TOYOTA, LICENSE AGREEMENT TMS1002
    2. Install the spring and C-3 accumulator piston.

      Accumulator spring 

      ACCUMULATOR SPRING LENGTH SPECIFICATION

      Spring Free length/ Outer diameter mm (in.) Color
      C-3 87.30 (3.4370) 18.70 (0.7362) Orange
      Fig 77: Identifying Spring And C-3 Accumulator Piston
      G04831423Courtesy of © TOYOTA, LICENSE AGREEMENT TMS1002
  66. INSTALL B-2 ACCUMULATOR PISTON 
    1. Coat 2 new O-rings with ATF and install them to the B-2 accumulator piston.
      NOTE: Do not damage the O-rings.
      Fig 78: Locating B-2 Accumulator Piston O-Rings
      G04831278Courtesy of © TOYOTA, LICENSE AGREEMENT TMS1002
    2. Install the spring and B-2 accumulator piston.

      Accumulator spring 

      ACCUMULATOR SPRING LENGTH SPECIFICATION

      Spring Free length/ Outer diameter mm (in.) Color
      B-2 66.90 (2.6339) 15.50 (0.6102) White
      Fig 79: Identifying Spring And B-2 Accumulator Piston
      G04831425Courtesy of © TOYOTA, LICENSE AGREEMENT TMS1002
  67. INSTALL CHECK BALL BODY 
    1. Install the spring and check ball body.
      Fig 80: Identifying Spring And Check Ball Body
      G04831426Courtesy of © TOYOTA, LICENSE AGREEMENT TMS1002
  68. INSTALL BRAKE DRUM GASKET 
    1. Install a new brake drum gasket.
      Fig 81: Identifying Brake Drum Gasket
      G04831275Courtesy of © TOYOTA, LICENSE AGREEMENT TMS1002
  69. INSTALL TRANSAXLE CASE GASKET 
    1. Coat a new transaxle case gasket with ATF, and install it to the transaxle case.
      Fig 82: Locating Transaxle Case Gasket
      G04831274Courtesy of © TOYOTA, LICENSE AGREEMENT TMS1002
  70. INSTALL TRANSAXLE CASE 2ND BRAKE GASKET 
    1. Coat a new transaxle case 2nd brake gasket with ATF, and install it to the transaxle case.
      Fig 83: Locating Transaxle Case 2nd Brake Gasket
      G04831273Courtesy of © TOYOTA, LICENSE AGREEMENT TMS1002
  71. INSTALL TRANSMISSION WIRE 
    1. Coat a new O-ring with ATF, and install it to the transmission wire.
      Fig 84: Locating Transmission Wire O-Ring
      G04831109Courtesy of © TOYOTA, LICENSE AGREEMENT TMS1002
    2. Insert the transmission wire to the transaxle.
      Fig 85: Identifying Transmission Wire
      G04831112Courtesy of © TOYOTA, LICENSE AGREEMENT TMS1002
    3. Install the transmission wire with the bolt.

      Torque: 5.4 N*m (55 kgf*cm, 48 in.*lbf) 

      Fig 86: Locating Transmission Wire Bolt
      G04831108Courtesy of © TOYOTA, LICENSE AGREEMENT TMS1002
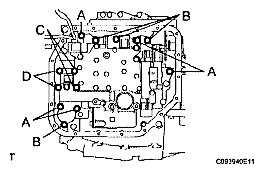
  72. INSTALL TRANSMISSION VALVE BODY ASSEMBLY 
    1. Align the groove of the manual valve with the pin of the manual valve lever.
    2. Temporarily install the valve body with the 13 bolts.

      Bolt length: 

      Bolt A: 32 mm (1.26 in.) 

      Bolt B: 22 mm (0.87 in.) 

      Bolt C: 55 mm (2.17 in.) 

      Bolt D: 45 mm (1.77 in.) 

      Fig 87: Identifying Transmission Valve Body Assembly Bolts
      G04831127Courtesy of © TOYOTA, LICENSE AGREEMENT TMS1002
    3. Temporarily install the detent spring and detent spring cover with the 2 bolts.

      Bolt length: 

      Bolt A: 14 mm (0.55 in.) 

      Bolt B: 45 mm (1.77 in.) 

      Fig 88: Identifying Detent Spring Cover Bolts
      G05400271Courtesy of © TOYOTA, LICENSE AGREEMENT TMS1002
    4. Check that the manual valve lever is in contact with the center of the roller at the tip of the detent spring.
    5. Tighten the 15 bolts.

      Torque: 11 N*m (110 kgf*cm, 8 ft.*lbf) 

    6. Connect the 5 solenoid connectors.
    7. Fig 89: Locating Solenoid Connectors
      G05400105Courtesy of © TOYOTA, LICENSE AGREEMENT TMS1002
    8. Install the ATF temperature sensor with the lock plate and bolt.

      Torque: 11 N*m (110 kgf*cm, 8 ft.*lbf) 

      Bolt length: 

      55 mm (2.17 in.) 

  73. INSTALL VALVE BODY OIL STRAINER ASSEMBLY 
    1. Coat a new O-ring with ATF, and install it to the oil strainer.
      Fig 90: Identifying Valve Body Oil Strainer Gasket
      G04831119Courtesy of © TOYOTA, LICENSE AGREEMENT TMS1002
    2. Install the valve body oil strainer assembly to the automatic transaxle with the 3 bolts.

      Torque: 11 N*m (110 kgf*cm, 8 ft.*lbf) 

      Fig 91: Locating Oil Strainer Assembly Bolts
      G05400103Courtesy of © TOYOTA, LICENSE AGREEMENT TMS1002
  74. INSTALL AUTOMATIC TRANSAXLE OIL PAN SUB-ASSEMBLY 
    1. Install the 2 magnets to the oil pan.
    2. Fig 92: Identifying Magnets
      G04831116Courtesy of © TOYOTA, LICENSE AGREEMENT TMS1002
    3. Install a new oil pan gasket to the oil pan.
    4. Install the oil pan with the 19 bolts.

      Torque: 7.8 N*m (80 kgf*cm, 69 in.*lbf) 

      Fig 93: Identifying Oil Pan Bolts
      G04831439Courtesy of © TOYOTA, LICENSE AGREEMENT TMS1002
  75. INSTALL BREATHER PLUG 
    1. Install the breather plug to the transaxle case.
  76. INSTALL BREATHER PLUG HOSE 
    1. Install the breather plug hose to the breather plug.
    2. Fig 94: Identifying Breather Plug Hose
      G04831263Courtesy of © TOYOTA, LICENSE AGREEMENT TMS1002
  77. INSTALL NO. 1 TRANSAXLE CASE PLUG 
    1. Coat 5 new O-rings with ATF, and install them to the No. 1 transaxle case plugs.
    2. Install the 4 No. 1 transaxle case plugs to the transaxle housing and transaxle case.

      Torque: 7.4 N*m (76 kgf*cm, 66 in.*lbf) 

      Fig 95: Locating Transaxle Case Plugs
      G04831261Courtesy of © TOYOTA, LICENSE AGREEMENT TMS1002
    3. Install the No. 1 transaxle case plug to the transaxle case.

      Torque: 7.4 N*m (76 kgf*cm, 66 in.*lbf) 

      Fig 96: Locating Transaxle Case Plug
      G04831262Courtesy of © TOYOTA, LICENSE AGREEMENT TMS1002
  78. INSTALL OIL COOLER TUBE UNION 
    1. Coat 2 new O-rings with ATF, and install them into the 2 oil cooler tube unions.
    2. Install the 2 oil cooler tube unions to the transaxle case.

      Torque: 27 N*m (275 kgf*cm, 20 ft.*lbf) 

      Fig 97: Identifying Oil Cooler Tube Union
      G04831260Courtesy of © TOYOTA, LICENSE AGREEMENT TMS1002
  79. INSTALL SPEED SENSOR 
    1. Coat a new O-ring with ATF, and install it to the speed sensor.
    2. Install the speed sensor to the transaxle case with the bolt.

      Torque: 5.4 N*m (55 kgf*cm, 48 in.*lbf) 

      Fig 98: Identifying Speed Sensor
      G04831259Courtesy of © TOYOTA, LICENSE AGREEMENT TMS1002
  80. INSTALL PARK/NEUTRAL POSITION SWITCH ASSEMBLY 
    1. Install the park/neutral position switch assembly onto the manual valve lever shaft.
    2. Provisionally install the 2 bolts.
      Fig 99: Locating Park/Neutral Position Switch Bolts
      G05400282Courtesy of © TOYOTA, LICENSE AGREEMENT TMS1002
    3. Replace the lock plate with a new one and tighten the manual valve shaft nut.

      Torque: 6.9 N*m (70 kgf*cm, 61 in.*lbf) 

      Fig 100: Locating Manual Valve Shaft Nut
      G05400283Courtesy of © TOYOTA, LICENSE AGREEMENT TMS1002
    4. Provisionally install the control shaft lever.
    5. Fig 101: Installing Control Shaft Lever
      G05400284Courtesy of © TOYOTA, LICENSE AGREEMENT TMS1002
    6. Turn the lever counterclockwise until it stops, then turn it clockwise 2 notches.
    7. Remove the control shaft lever.
    8. Align the groove with the neutral basic line.
    9. Fig 102: Aligning Groove With Neutral Basic Line
      G05400285Courtesy of © TOYOTA, LICENSE AGREEMENT TMS1002
    10. Hold the switch in this position and tighten the 2 bolts.

      Torque: 5.4 N*m (55 kgf*cm, 48 in.*lbf) 

    11. Using a screwdriver, stake the nut with the lock plate.
      Fig 103: Identifying Lock Plate
      G05400286Courtesy of © TOYOTA, LICENSE AGREEMENT TMS1002
    12. Install the control shaft lever with the nut and washer.

      Torque: 13 N*m (129 kgf*cm, 9 ft.*lbf) 

      Fig 104: Locating Control Shaft Lever Nut
      G05400287Courtesy of © TOYOTA, LICENSE AGREEMENT TMS1002
  81. INSTALL SPEEDOMETER DRIVEN HOLE COVER SUB-ASSEMBLY 
    1. Coat a new O-ring with ATF and install it to the speedometer driven hole cover sub-assembly.
    2. Install the speedometer driven hole cover sub-assembly to the transaxle housing.

      Torque: 7.0 N*m (71 kgf*cm, 62 in.*lbf) 

      Fig 105: Locating Speedometer Driven Hole Cover Bolt
      G05400288Courtesy of © TOYOTA, LICENSE AGREEMENT TMS1002