lemon-mirror:
Home >> Scion >> 2009 >> tC Automatic >> Repair and Diagnosis >> Body & Frame >> Windows >> Windshield/WINDOWGLASS >> Power Window Control System >> Power Windows do not Operate at All >> Inspection Procedure

Inspection Procedure

  1. INSPECT FUSE (AM1, GAUGE, FL DOOR) 
    1. Remove the AM1, GAUGE, FL DOOR fuses from the instrument panel junction block.
    2. Measure the resistance of the fuses.

      Standard resistance: 

      Below 1 Ω 

    NG: REPLACE FUSE 

    OK: Go to next step 

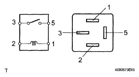
  2. INSPECT IGNITION RELAY NO. 1 (Marking: IG1) 
    1. Remove the IG1 relay from the instrument panel junction block.
    2. Measure the resistance of the relay.

      Standard resistance 

      RESISTANCE SPECIFICATION

      Tester Connection Specified Condition
      3 - 5 10 kΩ or higher
      3 - 5 Below 1 Ω (when battery voltage is applied to terminals 1 and 2)
      Fig 1: Identifying IG1 Relay Terminals
      G05009690Courtesy of © TOYOTA, LICENSE AGREEMENT TMS1002

    NG: REPLACE IGNITION RELAY NO. 1 

    OK: Go to next step 

  3. CHECK WIRE HARNESS (POWER WINDOW REGULATOR MASTER SWITCH ASSEMBLY BATTERY AND BODY GROUND) 
    1. Disconnect the P9 master switch connector.
    2. Measure the voltage and resistance of the wire harness side connector.

      Standard voltage 

      VOLTAGE SPECIFICATION

      Tester Connection Condition Specified Condition
      P9-10 (B) - Body ground Always 11 to 14 V
      P9-20 (IG) - Body ground Ignition switch OFF Below 1 V
      P9-20 (IG) - Body ground Ignition switch ON 11 to 14 V
      Fig 2: Identifying P9 Master Switch Connector Terminals
      G05541752Courtesy of © TOYOTA, LICENSE AGREEMENT TMS1002

      Standard resistance 

      RESISTANCE SPECIFICATION

      Tester Connection Specified Condition
      P9-2 (GND) - Body ground Below 1 kΩ

    NG: REPAIR OR REPLACE HARNESS AND CONNECTOR 

    OK: REPLACE POWER WINDOW REGULATOR MASTER SWITCH ASSEMBLY