lemon-mirror:
Home >> Scion >> 2009 >> tC Automatic >> Repair and Diagnosis >> Electrical >> Gauges >> Instrument Panel >> Rear Console Box >> Disassembly

Rear Console Box: Disassembly

  1. REMOVE CONSOLE COMPARTMENT DOOR SUB-ASSEMBLY (w/ Sliding Roof) 
    1. Remove the 2 screws.
      Fig 1: Identifying Console Compartment Door Sub-Assembly With Screws
      G05541907Courtesy of © TOYOTA, LICENSE AGREEMENT TMS1002
    2. Remove the console compartment door sub-assembly as shown in the illustration.
      Fig 2: Identifying Console Compartment Door Sub-Assembly
      G05541908Courtesy of © TOYOTA, LICENSE AGREEMENT TMS1002
  2. REMOVE CONSOLE COMPARTMENT DOOR SUB-ASSEMBLY (w/ Roof Window Glass) 
    1. Remove the 2 screws.
      Fig 3: Identifying Console Compartment Door Sub-Assembly With Screws
      G05541909Courtesy of © TOYOTA, LICENSE AGREEMENT TMS1002
    2. Remove the console compartment door sub-assembly as shown in the illustration.
      Fig 4: Identifying Console Compartment Door Sub-Assembly
      G05541910Courtesy of © TOYOTA, LICENSE AGREEMENT TMS1002
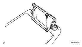
  3. REMOVE CONSOLE COMPARTMENT DOOR HINGE SUB-ASSEMBLY (w/ Sliding Roof) 
    1. Remove the 2 screws and the console compartment door hinge sub-assembly.
      Fig 5: Identifying Console Compartment Door Hinge Sub-Assembly With Screws
      G05541911Courtesy of © TOYOTA, LICENSE AGREEMENT TMS1002
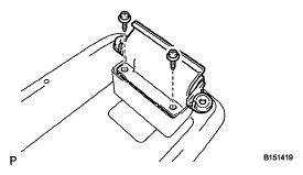
  4. REMOVE CONSOLE COMPARTMENT DOOR HINGE SUB-ASSEMBLY (w/ Roof Window Glass) 
    1. Remove the 2 screws and the console compartment door hinge sub-assembly.
      Fig 6: Identifying Console Compartment Door Hinge Sub-Assembly With Screws
      G05541912Courtesy of © TOYOTA, LICENSE AGREEMENT TMS1002
  5. REMOVE BOX BOTTOM MAT (w/ Sliding Roof) 
    1. Remove the box bottom mat.
      Fig 7: Identifying Box Bottom Mat (W/ Sliding Roof)
      G05541913Courtesy of © TOYOTA, LICENSE AGREEMENT TMS1002
  6. REMOVE OUTER CONSOLE COMPARTMENT DOOR (w/ Sliding Roof) 
    1. Remove the 2 screws and outer console compartment door.
      Fig 8: Identifying Outer Console Compartment Door With Screws
      G05541914Courtesy of © TOYOTA, LICENSE AGREEMENT TMS1002
  7. REMOVE NO. 1 CONSOLE COMPARTMENT DOOR STOPPER (w/ Sliding Roof) 
    1. Disengage the claw and remove the No. 1 console compartment door stopper.
      Fig 9: Identifying Claw On No. 1 Console Compartment Door Stopper
      G05541915Courtesy of © TOYOTA, LICENSE AGREEMENT TMS1002
  8. REMOVE NO. 2 CONSOLE COMPARTMENT DOOR STOPPER (w/ Sliding Roof) 
    1. Disengage the claw and remove the No. 2 console compartment door stopper.
      Fig 10: Identifying No. 2 Console Compartment Door Stopper Claw
      G05541916Courtesy of © TOYOTA, LICENSE AGREEMENT TMS1002
  9. REMOVE INNER CONSOLE COMPARTMENT DOOR (w/ Sliding Roof) 
    1. Remove the 4 screws and inner console compartment door.
  10. REMOVE CONSOLE COMPARTMENT DOOR LOCK PIN (w/ Sliding Roof) 
  11. REMOVE CONSOLE COMPARTMENT DOOR LOCK BASE (w/ Sliding Roof) 
    Fig 11: Identifying Inner Console Compartment Door With Screws
    G05541917Courtesy of © TOYOTA, LICENSE AGREEMENT TMS1002
  12. REMOVE CONSOLE COMPARTMENT DOOR LOCK SUB-ASSEMBLY (w/ Sliding Roof) 
    1. Remove the 2 screws and remove the console compartment door lock sub-assembly.
      Fig 12: Identifying Console Compartment Door Lock Sub-Assembly With Screws
      G05541918Courtesy of © TOYOTA, LICENSE AGREEMENT TMS1002
  13. REMOVE CONSOLE COMPARTMENT DOOR LOCK SUB-ASSEMBLY (w/ Roof Window Glass) 
    1. Remove the 2 screws and remove the console compartment door lock sub-assembly.
      Fig 13: Identifying Console Compartment Door Lock Sub-Assembly With Screws
      G05541919Courtesy of © TOYOTA, LICENSE AGREEMENT TMS1002
  14. REMOVE CONSOLE COMPARTMENT DOOR CUSHION (w/ Roof Window Glass) 
    1. Remove the 2 console compartment door cushions.
      Fig 14: Identifying Console Compartment Door Cushions
      G05541920Courtesy of © TOYOTA, LICENSE AGREEMENT TMS1002
  15. REMOVE CONSOLE BOX WIRE 
    1. Disconnect each connector and remove the console box wire.
  16. REMOVE NO. 2 STEREO JACK ADAPTER ASSEMBLY  ( REMOVAL )
    Fig 15: Identifying Console Box Wire Connector
    G05541921Courtesy of © TOYOTA, LICENSE AGREEMENT TMS1002
  17. REMOVE NO. 1 STEREO JACK ADAPTER ASSEMBLY 
    1. Remove the 2 claws and No. 1 stereo jack adapter assembly.
  18. REMOVE POWER POINT SOCKET ASSEMBLY (w/ Sliding Roof)  ( REMOVAL )
  19. REMOVE POWER OUTLET SOCKET COVER (w/ Sliding Roof) 
    1. Disengage the 2 claws and remove the power outlet socket cover.
      Fig 16: Identifying Claws And No. 1 Stereo Jack Adapter Assembly
      G05541922Courtesy of © TOYOTA, LICENSE AGREEMENT TMS1002