lemon-mirror:
Home >> Scion >> 2012 >> xB Automatic Trans >> Repair and Diagnosis >> Engine Mechanical >> Mechanical >> Engine Intake System (Service Information) >> Intake Manifold >> Installation >> Installation

Intake Manifold: Installation: Installation

  1. INSTALL INTAKE MANIFOLD 
    1. Engage the hose clamp and install the union to connector tube hose to the intake manifold.
    2. Install the vacuum hose clamp with bolt.

      Torque: 8.5 N*m (87 kgf*cm, 75 in.*lbf) 

    3. Install the No. 2 ventilation hose to the intake manifold.
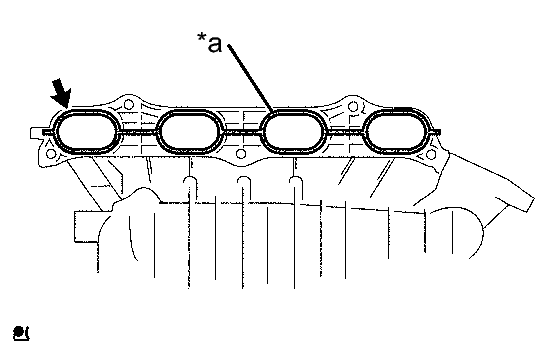
    4. Install a new No. 1 intake manifold to head gasket onto the intake manifold.
      Fig 1: Identifying Intake Manifold Gasket
      GTY312572Courtesy of © TOYOTA, LICENSE AGREEMENT TMS1002
      TEXT IN ILLUSTRATION

      *a New Gasket
    5. Install the intake manifold with the 5 bolts and the 2 nuts in the order shown in the illustration.

      Torque: 30 N*m (306 kgf*cm, 22 ft.*lbf) 

      Fig 2: Identifying Intake Manifold Bolt Tightening Sequence
      GTY314474Courtesy of © TOYOTA, LICENSE AGREEMENT TMS1002
    6. Connect the union to connector tube hose.
    7. Connect the No. 2 ventilation hose to the cylinder head.
  2. INSTALL FUEL DELIVERY PIPE SUB-ASSEMBLY WITH FUEL TUBE SUB-ASSEMBLY 
    1. Install the 4 new injector vibration insulators onto the cylinder head.
    2. Install the 2 No. 1 delivery pipe spacers onto the cylinder head.
    3. Install the fuel delivery pipe sub-assembly with the 2 bolts.

      Torque: 20 N*m (204 kgf*cm, 15 ft.*lbf) 

    4. Engage the clamp and connect the fuel tube sub-assembly.
    5. Engage the 4 wire harness clamps and install the wire harness.
    6. Connect the heated oxygen sensor connector.
    7. Connect the 4 fuel injector connectors and the oil control valve connector.
  3. CONNECT FUEL TUBE SUB-ASSEMBLY 
    1. Connect the fuel tube connector and fuel pipe.
      WARNING:

      Align the fuel tube connector with the pipe, then push the fuel tube connector in until the retainer makes a "click" sound. If the connection is tight, apply a small amount of engine oil to the tip of the pipe. After connecting, pull the pipe and connector to make sure that they are securely connected.

    2. Engage the claw and install the EFI fuel pipe clamp.
  4. INSTALL THROTTLE WITH MOTOR BODY ASSEMBLY  . Refer to INSTALLATION - Step 1
  5. INSTALL AIR CLEANER CAP SUB-ASSEMBLY WITH NO. 1 AIR CLEANER HOSE  . Refer to INSTALLATION - Step 2
  6. INSTALL OUTER COWL TOP PANEL  . Refer to INSTALLATION - Step 2
  7. INSTALL FRONT WIPER MOTOR AND LINK  . Refer to INSTALLATION - Step 2
  8. INSTALL COWL TOP VENTILATOR LOUVER LH  . Refer to INSTALLATION - Step 3
  9. INSTALL COWL TOP VENTILATOR LOUVER RH  . Refer to INSTALLATION - Step 4
  10. INSTALL HOOD TO COWL TOP SEAL  . Refer to INSTALLATION - Step 5
  11. INSTALL FRONT WIPER ARM AND BLADE ASSEMBLY LH  . Refer to INSTALLATION - Step 6
  12. INSTALL FRONT WIPER ARM AND BLADE ASSEMBLY RH  . Refer to INSTALLATION - Step 7
  13. INSTALL WINDSHIELD WIPER ARM COVER  . Refer to INSTALLATION - Step 8
  14. ADD ENGINE COOLANT  . Refer to REPLACEMENT - Step 2
  15. INSPECT FOR COOLANT LEAK  . Refer to ON-VEHICLE INSPECTION - Step 1
  16. INSPECT FOR FUEL LEAK  . Refer to ON-VEHICLE INSPECTION - Step 1
  17. INSTALL NO. 1 ENGINE COVER SUB-ASSEMBLY  . Refer to INSTALLATION - Step 5