lemon-mirror:
Home >> Scion >> 2013 >> iQ Base >> Repair and Diagnosis (Single Page) >> Engine Performance >> System >> Engine Control System (Diagnostics - Introduction) (Except Electric) >> SFI System >> Initialization >> Initialization

SFI System: Initialization: Initialization

  1. Inspection After Repair 

    Perform Learning Value Reset and idle learning after replacing or servicing parts related to engine operation. Details on procedures required are indicated by an asterisk and a number, and are explained in detail following the table.

    Part Replaced Engine Operation Learning Value Reset*1 Idle Learning*2
    • Throttle with motor body assembly*3
    • Cleaning the deposits from the throttle with motor body assembly.*3
    -
    Engine assembly -
    • Cylinder head
    • Camshaft (for intake or exhaust camshaft)
    • Camshaft timing gear assembly
    • Piston or piston ring
    • Mass air flow meter
    • Fuel injector assembly
    • Fuel pump
    • Air fuel ratio sensor
    • Heated oxygen sensor
    • Engine coolant temperature sensor
    • Spark plug
    • No. 1 ignition coil
    • Air leaks from intake system
    • Gas leaks from exhaust system
    Confirm the following:
    Perform Learning Value Reset and idle learning when one or more of the following conditions is met.
    1. A diagnostic trouble code was output before component replacement.
    2. An air fuel ratio learned value (one of A/F Learn Value Idle #1, A/F Learn Value Low #1, A/F Learn Value Mid1 #1, A/F Learn Value Mid2 #1, and A/F Learn Value High #1) displayed in the Data List was higher than +/- 15% before component replacement.
    3. Starting failure, rough idle, or engine stalls after component replacement.
    The items in the list above do not apply. - -
    Knock sensor*4 - - -
    • ◦: Necessary.
    • -: Unnecessary.
    NOTE:

    Engine learned values cannot be reset by disconnecting the battery negative (-) terminal or removing the EFI MAIN and ETCS fuses.

    • *1: Learning Value Reset
      1. Connect the Techstream to the DLC3.
      2. Turn the ignition switch to ON.
      3. Turn the Techstream on.
      4. Enter the following menus: Powertrain / Engine and ECT / Utility / Learning Value Reset.
      5. Confirm the following conditions as instructed on the screen.
        • - Ignition switch ON
        • - Engine stopped
        • - Battery voltage is higher than 9 V
      6. After confirming, select "Next" and initialize the learned value.

        HINT: 

        If a message indicating Learning Value Reset failure is displayed on the screen, confirm the execution conditions, and perform Learning Value Reset again.

      7. After the completion of Learning Value Reset, confirm the air fuel ratio learned values (A/F Learn Value Idle #1, A/F Learn Value Low #1, A/F Learn Value Mid1 #1, A/F Learn Value Mid2 #1, and A/F Learn Value High #1) in the Data List.

        Result

        If 0 is displayed for all the air fuel ratio learned values, initialization has completed correctly.

        If a value other than 0 is displayed for one of the air fuel ratio learned values, perform initialization again. After initialization, confirm the air fuel ratio learned values. If a value other than 0 is displayed, replace the ECM.

    • *2: Idle Learning
      1. Turn the ignition switch off and wait for at least 30 seconds.
      2. Start the engine and warm it up until the engine coolant temperature is 80°C (176°F) or higher.

        HINT: 

        Learning starts when the engine coolant temperature is 80°C (176°F) or higher.

      3. After the engine is warmed up, allow it to idle for 5 minutes with the air conditioning and all accessories off.
      4. Confirm that the idle speed is within the standard range.

        Standard

        Engine Idle Speed
        600 to 700 rpm

        HINT: 

        • Be sure to perform this step with all accessories off.
        • Make sure that the shift lever is in P or N.
    • *3: Perform Learning Value Reset and idle learning after replacing the throttle with motor body assembly or cleaning deposits from the throttle with motor body assembly.

      After that, check the idle speed. If the value is out of the specified range, perform the procedure below.

      WARNING:

      When performing the confirmation driving pattern, obey all speed limits and traffic laws.

      HINT: 

      History information for driving and stopping is necessary to update idle learning.

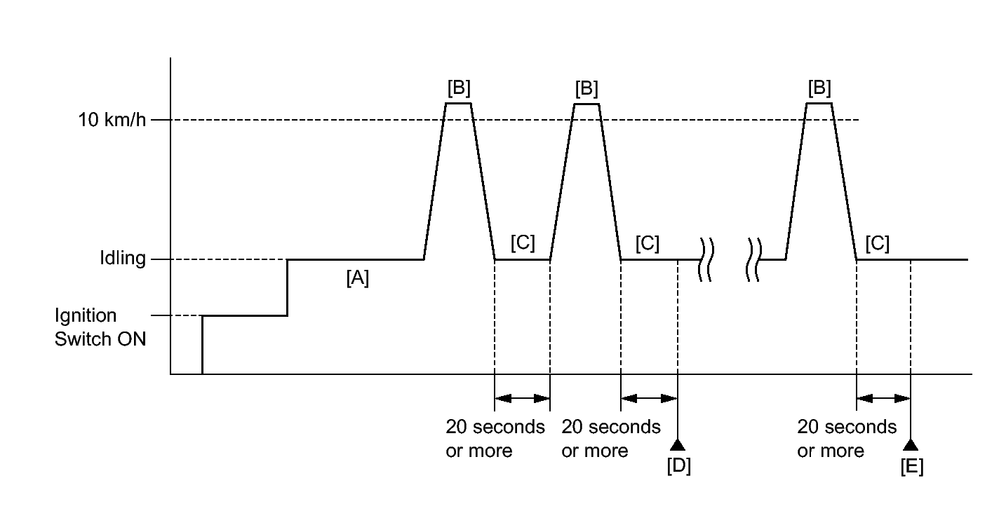
      Fig 1: Identifying Confirmation Driving Pattern Chart
      GTY318698Courtesy of © TOYOTA, LICENSE AGREEMENT TMS1002
      1. Warm up the engine (engine coolant temperature is 80°C (176°F) or higher, air conditioning and all accessories are off) [A].
      2. Drive the vehicle at 10 km/h (6 mph) or more [B].
      3. Idle the engine for 20 seconds or more [C].
      4. Repeat procedure [B] and [C], and check that the idle speed is within the specified range [D].

        Standard

        Engine Idle Speed
        600 to 700 rpm

        HINT: 

        • Be sure to perform this step with all accessories off.
        • Make sure that the shift lever is in P or N.
        • If the idle speed is still out of the specified range, repeat procedure [B] and [C] until the idle speed is within the specified range [E].
    • *4: Drive the vehicle for a short while after replacing the knock sensor, and check if knocking occurs. If knocking occurs, drive the vehicle until knocking stops.