lemon-mirror:
Home >> Subaru >> 1983 >> DL 2D Hatchback >> Repair and Diagnosis >> Engine Performance >> Ignition System >> Ignition System - HITACHI >> Description

Ignition System - HITACHI: Description

The Hitachi electronic distributor consists of a housing, shaft assembly, rotor and distributor cap. See Fig 1. A reluctor, mounted on the upper distributor shaft, combines with the stator and pick-up coil to provide ignition timing.

Fig 1: Disassembled View of Hitachi Distributor used on Subaru 1800 (Non-Turbo) 4WD Vehicles.
G28991

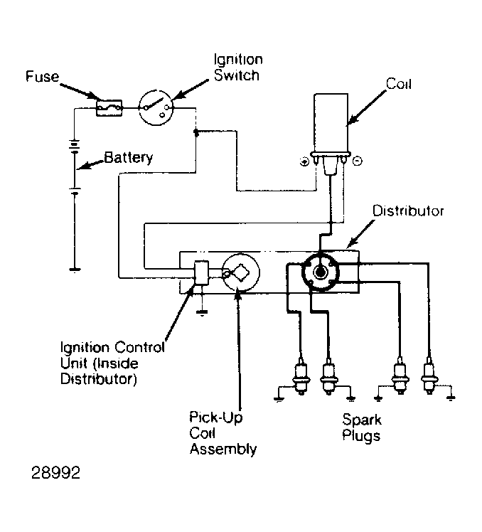
With the ignition switch "ON", the distributor reluctor rotates past the stator. As each tooth of the reluctor approaches and passes the stator, a signal is sent to the pick-up coil/control unit. In response to the signal, the control unit then turns the primary circuit in the ignition coil on and off.

This causes a build-up and collapse of a magnetic field in the coil, resulting in a high voltage surge in the coil's secondary circuit. This fires the spark plugs. See Fig 2 or Fig 3 .

Fig 2: Schematic of Subaru 1800 Non-Turbo Ignition Circuit
G28992
Fig 3: Schematic of Subaru 1800 Turbo Ignition Circuit
G28993