lemon-mirror:
Home >> Subaru >> 1984 >> Brat Automatic >> Repair and Diagnosis >> Engine Performance >> System >> Feedback Carburetor System >> Testing >> Trouble Code 42

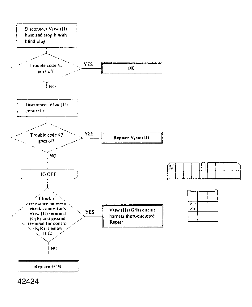
Trouble Code 42

Fig 1: Trouble Code 42
G42424