lemon-mirror:
Home >> Subaru >> 1984 >> Brat Automatic >> Repair and Diagnosis >> Engine Performance >> System >> Feedback Carburetor System >> Testing >> Trouble Code 53

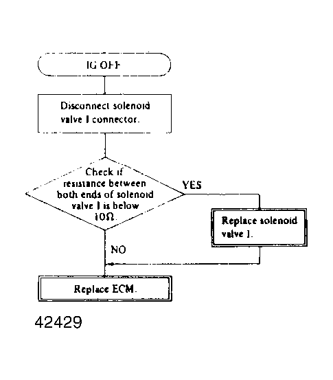
Trouble Code 53

Fig 1: TROUBLE CODE 53
G42429