lemon-mirror:
Home >> Subaru >> 1984 >> Brat Automatic >> Repair and Diagnosis >> Engine Performance >> System >> Feedback Carburetor System >> Testing >> Trouble Code 65

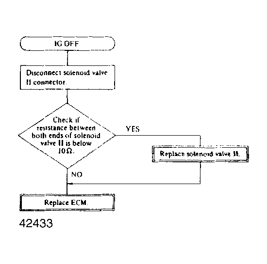
Trouble Code 65

Fig 1: Trouble Code 62
G42432


Fig 1: Trouble Code 63
G42433