lemon-mirror:
Home >> Subaru >> 1989 >> RX Automatic >> Repair and Diagnosis >> Body & Frame >> Power Windows >> Component Testing >> Main Switch & Sub Switch

Main Switch & Sub Switch

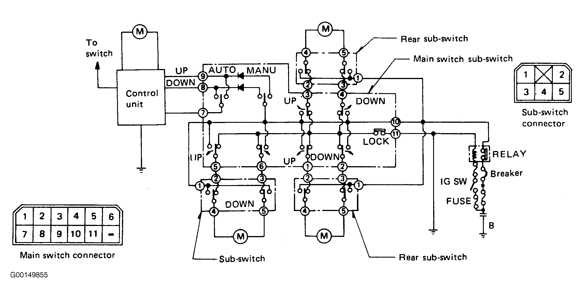
Fig 1: System Diagram & Switch Connectors Terminal Identification (1 Of 2)
G00149855Courtesy of SUBARU OF AMERICA, INC.
Fig 2: Switch Continuity Testing (2 Of 2)
G00149858Courtesy of SUBARU OF AMERICA, INC.

For wire colors, see WIRE COLOR IDENTIFICATION CHART  .

WIRE COLOR IDENTIFICATION CHART

Color Code Color
L Blue
B Black
Y Yellow
G Green
R Red
W White
Br Brown
Lg Light Green
Gr Gray
SA Sealed Wire (Inner)
SB Sealed Wire (Outer)