lemon-mirror:
Home >> Subaru >> 1989 >> RX Automatic >> Repair and Diagnosis >> Engine Performance >> System >> Tests W/Codes - MPFI >> Code Charts >> Code 15

Code 15

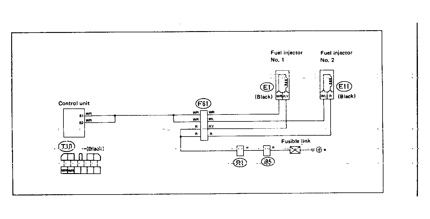
Fig 1: Trouble Code 15: Fuel Injector 1.8L Motor - Wiring Diagram
G118387Courtesy of SUBARU OF AMERICA, INC.
Fig 2: Trouble Code 15: Fuel Injector 1.8L Motor - Flow Chart
G121907Courtesy of SUBARU OF AMERICA, INC.
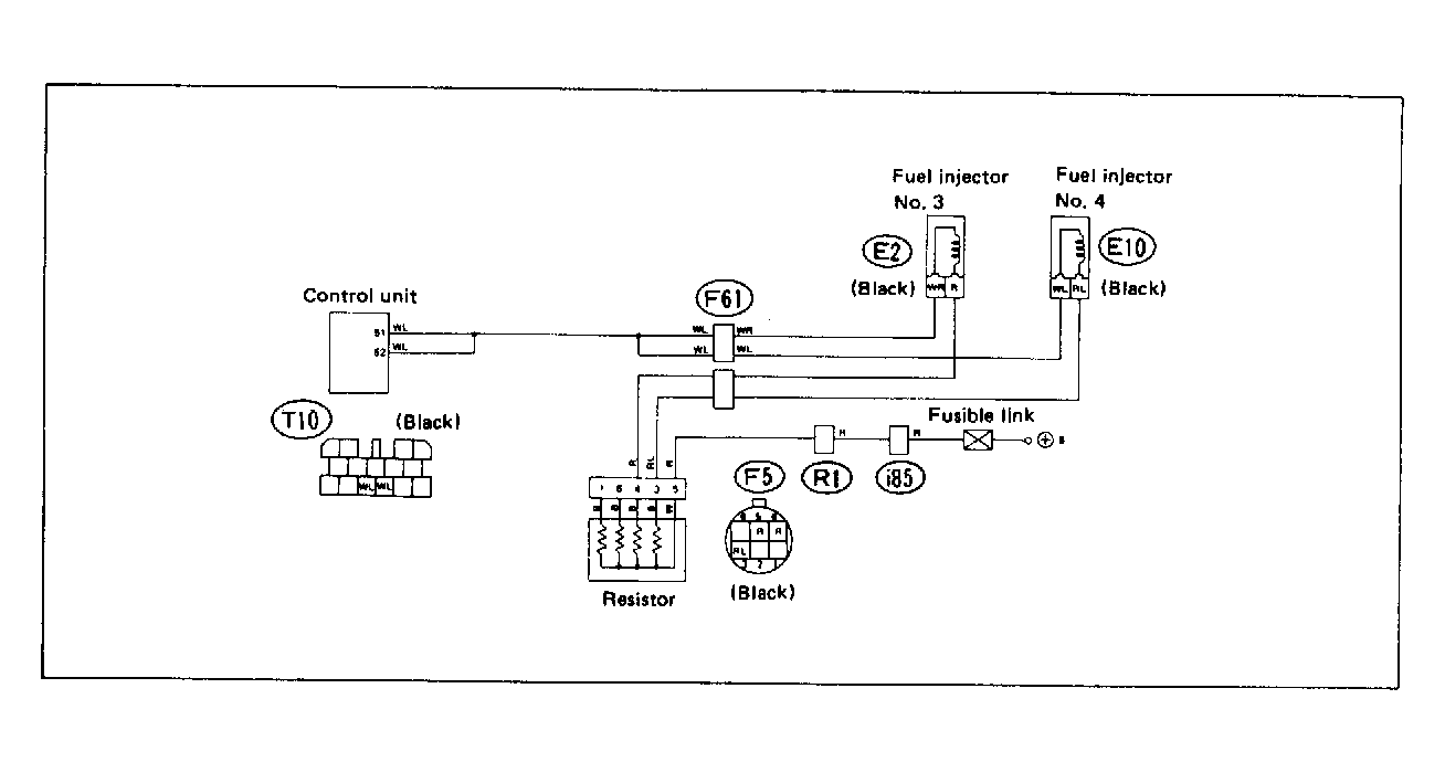
Fig 3: Trouble Code 15: Fuel Injector 2.7L Motor - Wiring Diagram
G118388Courtesy of SUBARU OF AMERICA, INC.
Fig 4: Trouble Code 15: Fuel Injector 2.7L Motor - Flow Chart
G121908Courtesy of SUBARU OF AMERICA, INC.