lemon-mirror:
Home >> Subaru >> 1989 >> RX Automatic >> Repair and Diagnosis >> Engine Performance >> System >> Tests W/Codes - SPFI >> Diagnostic Testing >> Code 11

Code 11

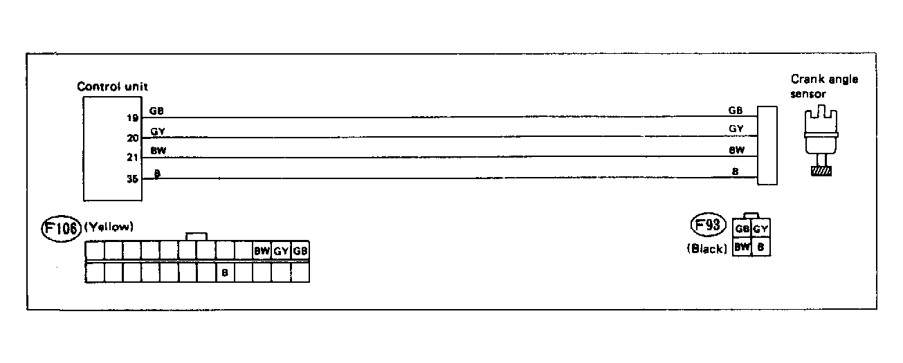
Fig 1: Trouble Code 11: Crank Angle Sensor - Wiring Diagram
G118349Courtesy of SUBARU OF AMERICA, INC
Fig 2: Trouble Code 11: Crank Angle Sensor - Flow Chart (1 of 2)
G121883Courtesy of SUBARU OF AMERICA, INC
Fig 3: Trouble Code 11: Crank Angle Sensor - Flow Chart (2 of 2)
G118350Courtesy of SUBARU OF AMERICA, INC