lemon-mirror:
Home >> Subaru >> 1989 >> RX Automatic >> Repair and Diagnosis >> Engine Performance >> System >> Tests W/Codes - SPFI >> Diagnostic Testing >> Code 14

Code 14

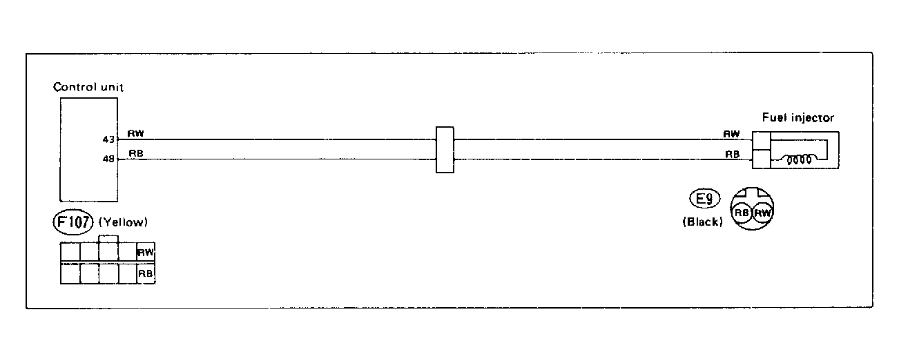
Fig 1: Trouble Code 14: Fuel Injector - Wiring Diagram
G118354Courtesy of SUBARU OF AMERICA, INC
Fig 2: Trouble Code 14: Fuel Injector - Flow Chart
G121886Courtesy of SUBARU OF AMERICA, INC