lemon-mirror:
Home >> Subaru >> 1992 >> Justy Base >> Repair and Diagnosis >> Engine Performance >> System >> Engine Controls - Tests W/Codes - PFI >> Diagnostic Code Chart >> Code 32: Oxygen (O2) Sensor

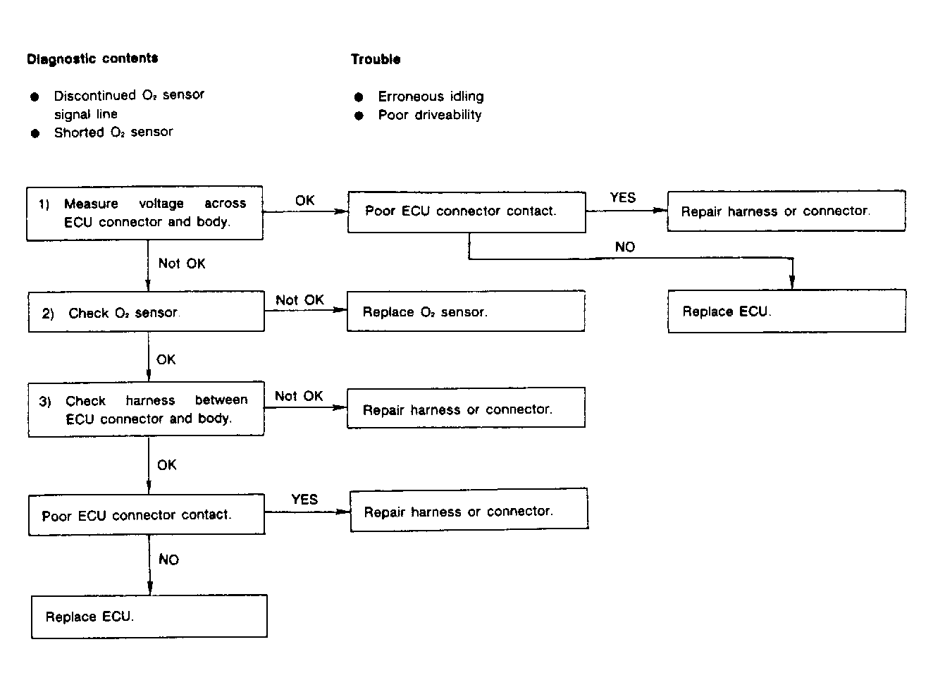
Code 32: Oxygen (O2) Sensor

Fig 1: Schematic - Code 32, Oxygen (O2) Sensor
G91F18338
Fig 2: Flow Chart - Code 32, Oxygen (O2) Sensor
G90H18777