lemon-mirror:
Home >> Subaru >> 1992 >> SVX >> Repair and Diagnosis >> Engine Performance >> System >> Engine Controls - Basic Testing >> Fuel Pump Circuit Tests

Fuel Pump Circuit Tests

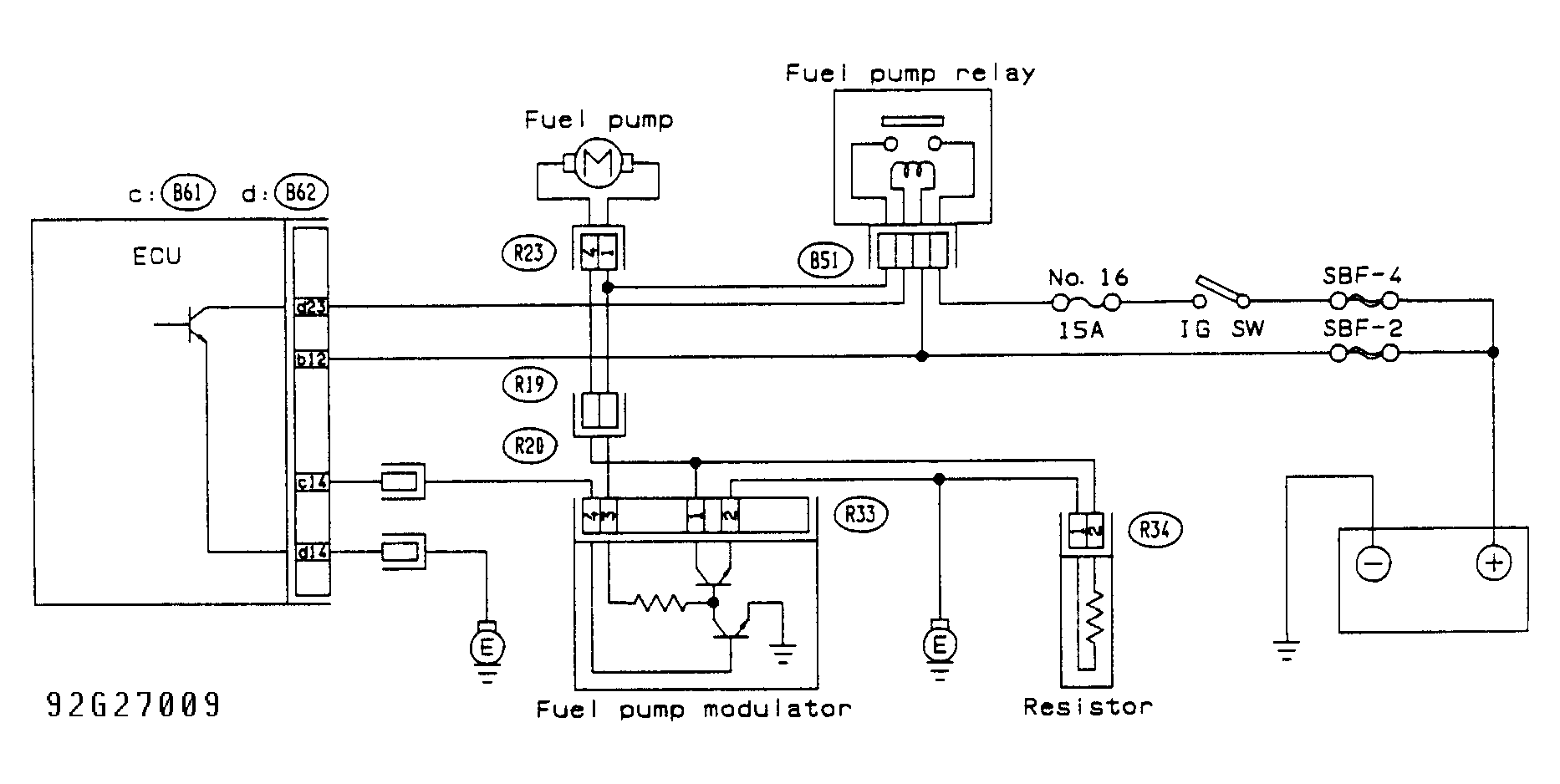
Fig 1: Fuel Pump Circuit Test, Schematic
G92G27009Courtesy of SUBARU OF AMERICA, INC.
Fig 2: Fuel Pump Circuit Test, Flow Chart
G92J27010Courtesy of SUBARU OF AMERICA, INC.