lemon-mirror:
Home >> Subaru >> 1994 >> Loyale Automatic >> Repair and Diagnosis >> Engine Performance >> System >> Engine Controls - Tests W/Codes >> Diagnostic Code Testing >> Code 13 - Crank Angle Sensor, No Position Pulse

Code 13 - Crank Angle Sensor, No Position Pulse

Fig 1: Code 13 - Wiring Schematic
G91C18392Courtesy of SUBARU OF AMERICA, INC.
Fig 2: Code 13 - Diagnostic Flowchart (1 Of 2)
G90I21863Courtesy of SUBARU OF AMERICA, INC.
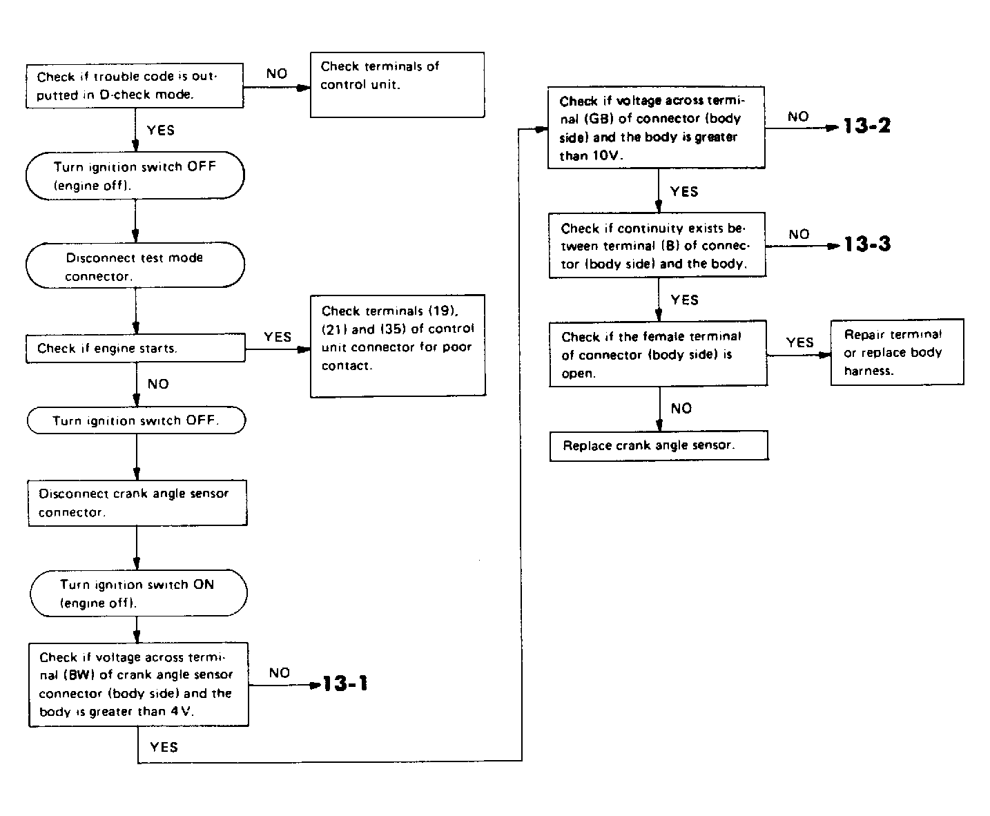
Fig 3: Code 13 - Diagnostic Flowchart (2 Of 2)
G90J21864Courtesy of SUBARU OF AMERICA, INC.