lemon-mirror:
Home >> Subaru >> 2000 >> Outback Base, Automatic >> Repair and Diagnosis >> Body & Frame >> Exterior/Interior Trim >> Instrument Panel Assembly >> Removal

Instrument Panel Assembly: Removal

Airbag system wiring harness is routed near the combination meter.

WARNING:
  • All airbag system wiring harness and connectors are colored yellow. Do not use electrical test equipment on these circuits.
  • Be careful not to damage airbag system harness when servicing the instrument panel.
  1. Disconnect GND cable from battery.
  2. Remove lower cover.
    Fig 1: Removing Lower Cover
    G02098555
  3. Remove lower column cover and disconnect harness connectors to steering column.
    Fig 2: Removing Lower Column Cover
    G02098556
  4. Remove steering column assembly (with steering wheel). See TILT STEERING COLUMN .
  5. Remove stopper (A) then remove glove box.
    Fig 3: Removing Glove Box
    G02098557
  6. Remove side panel of both sides.
    Fig 4: Removing Side Panels
    G02098558
  7. Remove passenger's airbag module. See DRIVER-SIDE AIR BAG MODULE .
  8. Remove console box. See CONSOLE BOX  .
  9. Remove front pillar upper trim of both sides.
    Fig 5: Removing Front Pillar Upper Trim
    G02098559
  10. Remove front pillar lower trim of passenger side.
    Fig 6: Removing Front Pillar Lower Trim
    G02098560
  11. Set temperature control switch (A) to "FULL HOT" and then disconnect temperature control cable from bottom of heater unit. (Manual A/C equipped model)
  12. Remove instrument panel mounting bolts.
    NOTE: Do not move the switch and link when installing.
    Fig 7: Identifying A/C Switch Position
    G02098561
    Fig 8: Identifying Fasteners
    G02098562
  13. Disconnect harness connectors and remove instrument panel carefully.
    CAUTION: Do not pull the harness when disconnecting the connector.
    NOTE: If necessary, make matching marks for easy reassembly.
    Fig 9: Identifying Harness Connectors
    G02098563
    CAUTION:
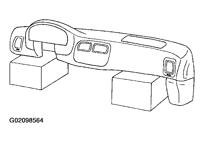
    • Take care not to scratch the instrument panel and related parts.
    • When storing the removed instrument panel, place it standing up on the floor.
    Fig 10: Storing Instrument Panel
    G02098564