lemon-mirror:
Home >> Subaru >> 2000 >> Outback Base, Automatic >> Repair and Diagnosis >> Body & Frame >> Exterior/Interior Trim >> Protector >> Removal

Exterior/Interior Trim: Protector: Removal

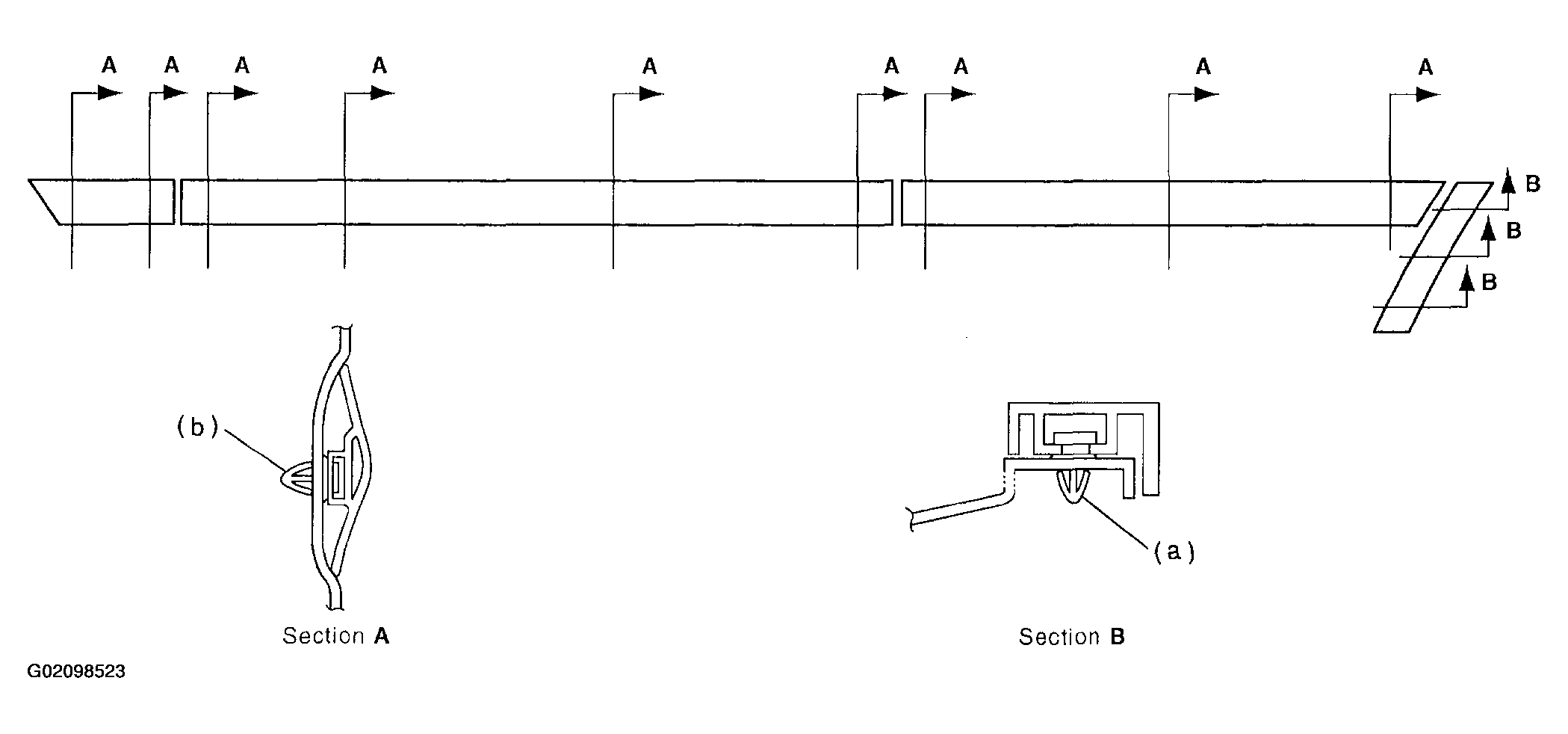
  1. Except OUTBACK:
    Fig 1: Identifying Side & Door Protector Components (Except OUTBACK)
    G02098523
    NOTE: Paying attention to the position of clip (b).

    OUTBACK:

    Remove clip (a) and bolt (b).

    Fig 2: Removing Clip (a) & Bolt (b)
    G02098524
    NOTE: Paying attention to the position of clip (c).
  2. Attach masking tape to outer perimeter of side protector. (If original side protector is re-installed, tape the entire protector.)
  3. Insert fishing line [0.8 mm (0.31 in) dia.] between side protector and vehicle body. Cut (pull the line) through two-sided tape along side protector on the body. Using a puller, remove clips from vehicle body while pulling side protector towards yourself as required.
    Fig 3: Removing Side & Rear Door Protector
    G02098525
    Fig 4: Removing Front Door Protector
    G02098526
    NOTE:
    • To increase adhesive remover strength, leave two-sided tape on body and side protector.
    • If two-sided tape is too thick, use a putty knife to cut it thin so that adhesive remover is ready for use.
    • If two-sided tape is hard to remove, heat to approximately 40°C (104°F).
  4. Apply an even coat of adhesive remover to the two-sided tape.

    Recommended adhesive remover: 

    1. SUMITOMO 3M4000 or equivalent.
    CAUTION: Do not apply adhesive remover to lacquer base coated body panels.
  5. Attach plastic wrap to adhesive remover coated areas and heat to 40 to 60°C (104 to MOT) for 5 to 10 minutes using an infrared lamp.
    CAUTION: Do not overheat until plastic wrap is somewhat white.
    Fig 5: Attaching Plastic Wrap To Adhesive Remover
    G02098527
  6. Using a plastic spatula, remove traces of two-sided tape from body panel.
  7. Remove masking tape and clean traces of two-sided tape using a cloth dampened with white gasoline.
  8. Similarly, clean traces of adhesive from two-sided tape on side protector.
    CAUTION: Make sure side protector is clean and free of adhesive remover. Clean if necessary.
    Fig 6: Cleaning Two-Sided Tape On Side Protector
    G02098528