lemon-mirror:
Home >> Subaru >> 2000 >> Outback Base, Automatic >> Repair and Diagnosis >> Engine Performance >> Engine Controls - On-Vehicle Adjustments >> Engine Mechanical >> Valve Clearance

Valve Clearance

CAUTION: Inspection and adjustment of valve clearance should be performed while engine is cold.
  1. On Forester, raise vehicle and remove engine under cover. On all models, disconnect battery ground cable. Remove engine coolant reservoir. Raise and support vehicle. For inspection and adjustment of cylinders No. 1 and 3, remove left timing belt cover. Remove air intake duct and air cleaner cover as a unit. Remove resonator chamber. Disconnect spark plug wires from cylinders No. 1 and 3. Remove right side under cover. Disconnect PCV hose from valve cover. Remove right valve cover.
  2. For inspection and adjustment of cylinders No. 2 and 4, remove battery and battery carrier. Disconnect washer motor connectors. Disconnect washer motor hoses and plug connections. Remove washer tank bolts and secure away from work area. Disconnect spark plug wires from cylinders No. 2 and 4. Remove left side under cover. Disconnect PCV hose from valve cover. Remove left valve cover.
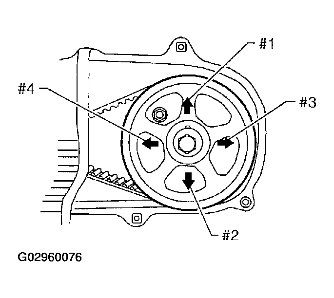
  3. Set cylinder No. 1 to TDC of compression stroke by aligning arrow mark on left side camshaft sprocket to straight up position. See Fig 1. Using feeler gauge, measure cylinder No. 1 valve clearance. Loosen lock nut and turn screw to adjust clearance as needed. See Fig 2. See VALVE CLEARANCE SPECIFICATION  table. After adjustment, tighten lock nut to 80-97 INCH lbs. (9-10 N.m).
    VALVE CLEARANCE SPECIFICATION

    Application Clearance In. (mm)
    2.2L & 2.5L
    Intake .007-.009 (.18-.23)
    Exhaust .009-.011 (.23-.27)
  4. Set cylinders No. 3, 2 and 4 to TDC by turning crankshaft pulley clockwise until arrow on camshaft sprocket is in correct position. See Fig 1. When adjustment is complete, reinstall components in reverse order of removal.
Fig 1: Identifying Camshaft Sprocket Position For Cylinder Top Dead Center Locations
G02960076Courtesy of SUBARU OF AMERICA, INC.
Fig 2: Adjusting Valve Clearance
G99J52497Courtesy of SUBARU OF AMERICA, INC.