lemon-mirror:
Home >> Subaru >> 2001 >> Forester Base >> Repair and Diagnosis >> Steering >> Steering Column >> Steering System - Mechanism & Function >> Power Steering System >> Gearbox Assembly >> Control Valve

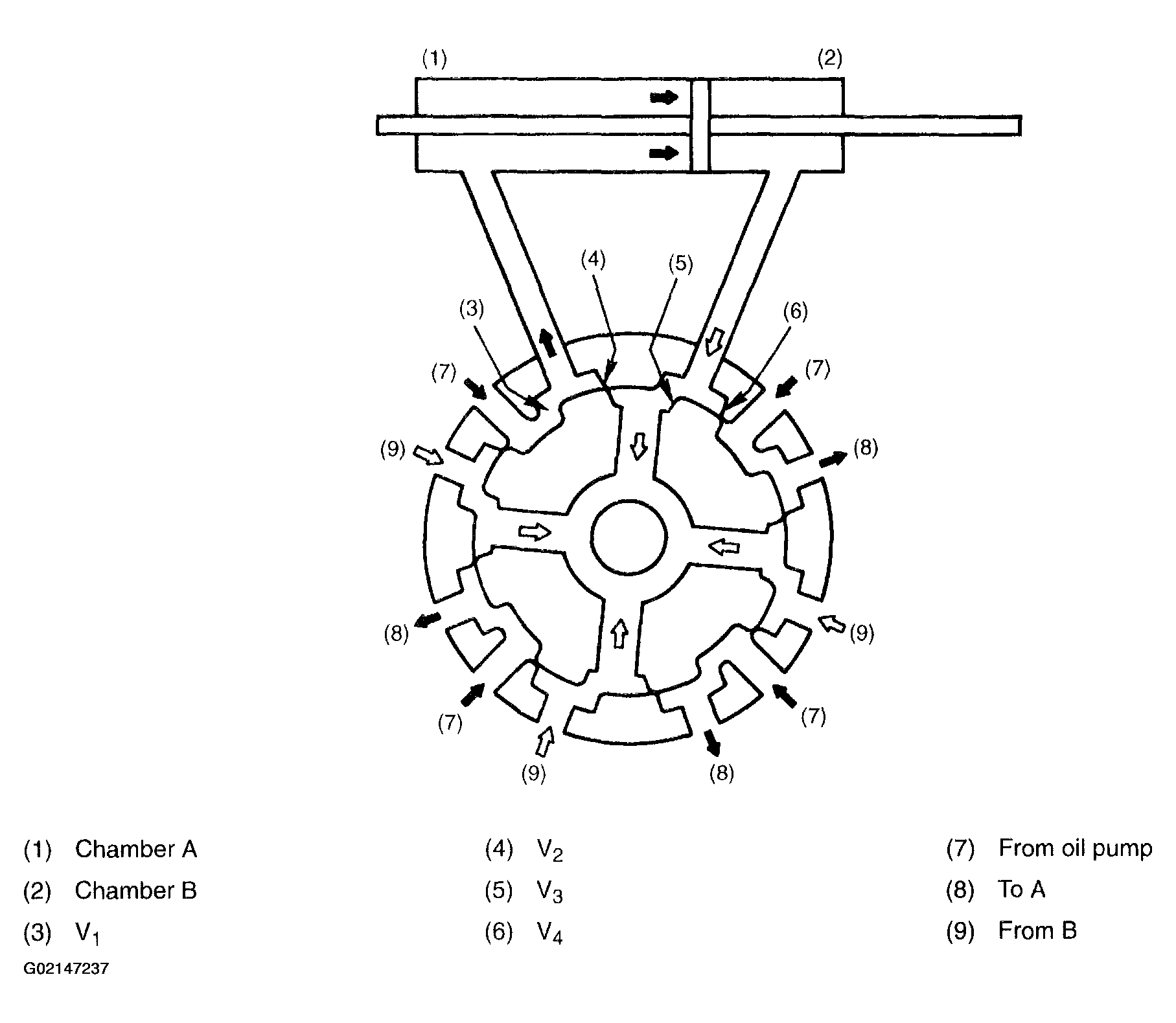
Control Valve

The control valve consists of a rotor (which rotates together with the steering shaft), a pinion (which is connected to the rotor and torsion bar), and a sleeve (which rotates together with the pinion). Oil grooves C and D are located in the rotor and sleeve to form oil flow passages V1 through V4 .

The pinion and rotor are meshed with adequate clearance. They utilize a fail-safe design.

Fig 1: Identifying Control Valve
G02147235