lemon-mirror:
Home >> Subaru >> 2001 >> Forester Base >> Repair and Diagnosis >> Suspension >> Front Suspension >> Removal & Installation >> Strut >> Notes

Removal & Installation: Strut: Notes

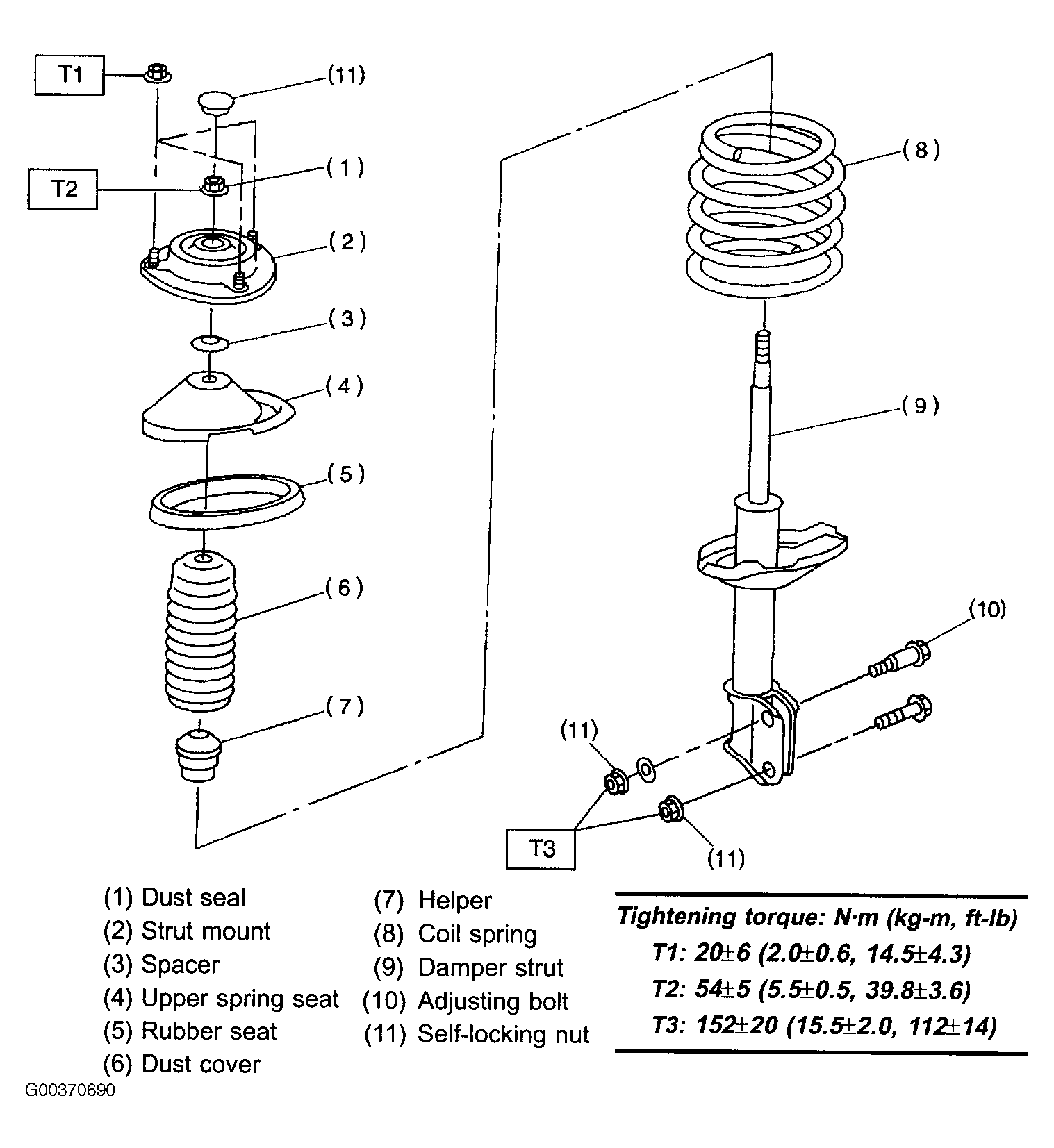
For exploded view of front strut assembly, see

Fig 1: Exploded View Of Front Strut Assembly
G00370690Courtesy of SUBARU OF AMERICA, INC.