lemon-mirror:
Home >> Subaru >> 2001 >> Forester Base >> Repair and Diagnosis >> Suspension >> Rear Suspension >> Removal & Installation >> Strut >> Notes

Removal & Installation: Strut: Notes

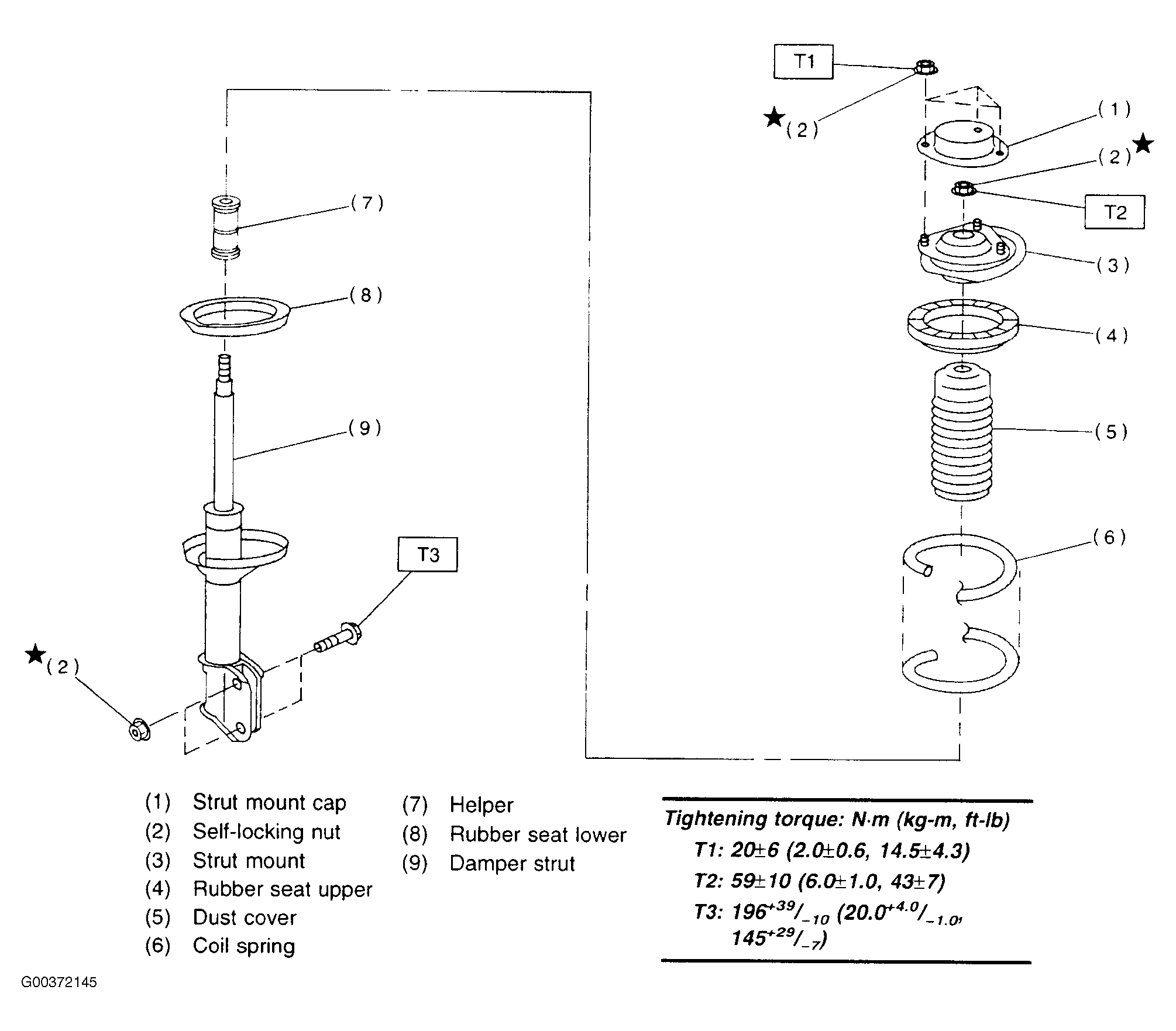
For strut component location, see Fig 1.

Fig 1: Exploded View Of Rear Strut
G00372145Courtesy of SUBARU OF AMERICA, INC.